GM Service Manual Online
For 1990-2009 cars only

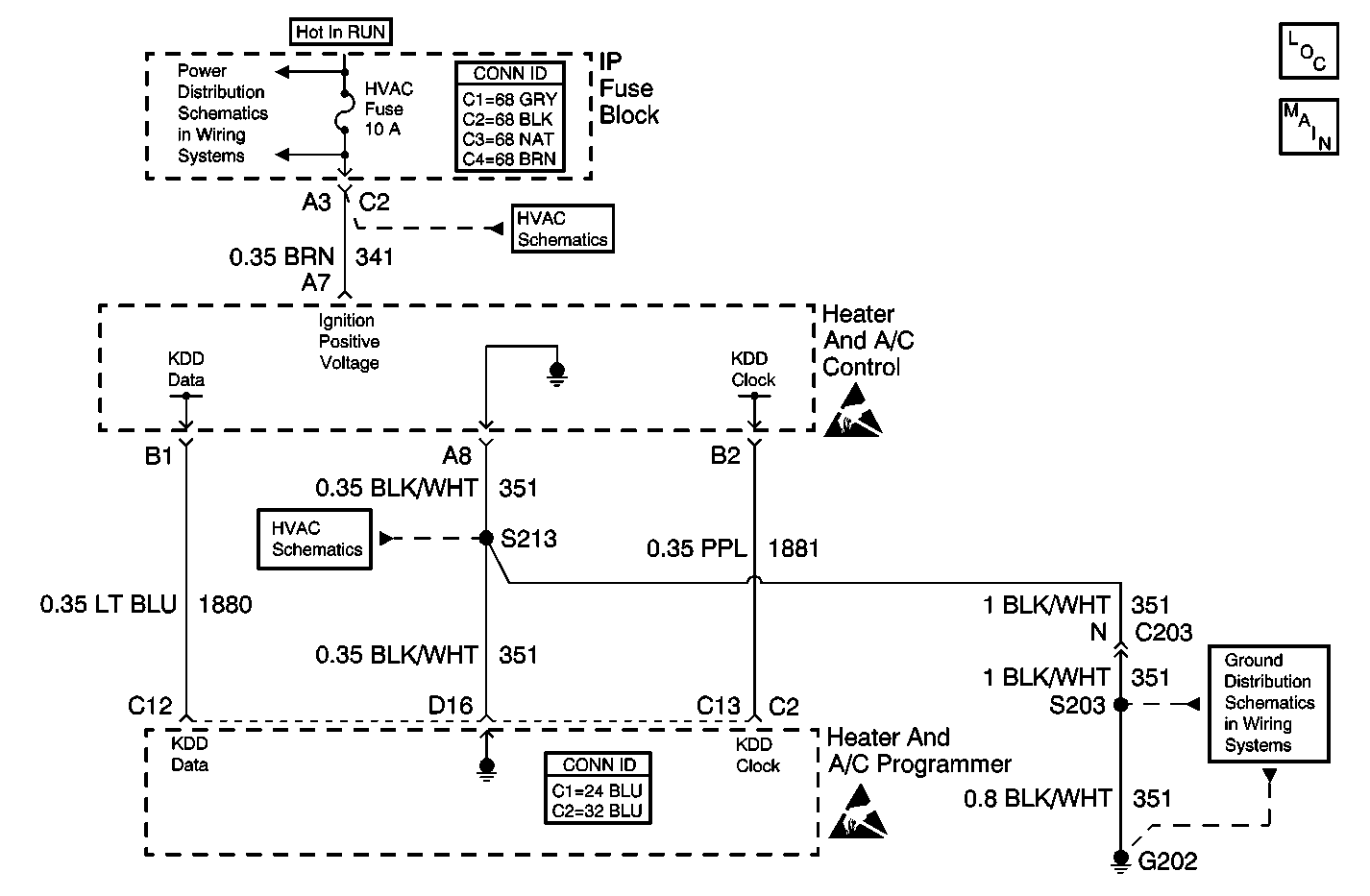
Object Number: 554068  Size: MF
HVAC Components
IP Fuse Block
IP Fuse Block
G202, 1 of 4
Temperature Controls
IP Fuse Block, HVAC and A/C Fuses
Handling ESD Sensitive Parts Notice
Handling ESD Sensitive Parts Notice

Circuit Description

The heater and A/C programmer communicates with the heater and A/C control via the keyboard display driver (KDD) data bus. This communication link is only used by the heater and A/C programmer and the heater and A/C control.

Conditions for Running the DTC

The ignition is turned ON.

Conditions for Setting the DTC

    • There is a loss of communications between the heater and A/C programmer and the heater and A/C control.
    • The above conditions are present for 3 seconds.

Action Taken When the DTC Sets

The heater and A/C system will be disabled.

Conditions for Clearing the DTC

    • The DTC will become history if the heater and A/C programmer no longer detects a failure.
    • The history DTC will clear after 50 fault free ignition cycles.
    • The DTC can be cleared with a scan tool.

Test Description

The number(s) below refer to the step number(s) on the diagnostic table.

  1. This step verifies that the heater and A/C control is functioning, but not communicating with the heater and A/C programmer.

Step

Action

Value(s)

Yes

No

1

Did you perform the HVAC Diagnostic System Check?

--

Go to Step 2

Go to Diagnostic System Check

2

  1. Turn ON the ignition, with the engine OFF.
  2. Observe the display of the heater and A/C control.

Are all of the visual indicators illuminated and is the audible indicator ON?

--

Go to Step 8

Go to Step 3

3

  1. Turn ON the ignition, with the engine OFF.
  2. Observe the display of the heater and A/C control.

Is the display of the heater and A/C control blank?

--

Go to Step 5

Go to Step 4

4

  1. Turn ON the ignition, with the engine OFF.
  2. Observe the display of the heater and A/C control.

Does the heater and A/C control display only °C°F?

--

Go to Step 9

Go to Testing for Intermittent Conditions and Poor Connections

5

  1. Turn OFF the ignition.
  2. Disconnect the heater and A/C control.
  3. Turn ON the ignition, with the engine OFF.
  4. Probe the battery positive voltage circuit of the heater and A/C control with a test lamp that is connected to a good ground.

Does the test lamp illuminate?

--

Go to Step 6

Go to Step 11

6

Probe the battery positive voltage circuit of the heater and A/C control with a test lamp that is connected to the ground circuit of the heater and A/C control.

Does the test lamp illuminate?

--

Go to Step 7

Go to Step 12

7

Measure the voltage from the KDD data circuit to a good ground.

Does the voltage measure near the specified value?

1 Vdc

Go to Step 16

Go to Step 13

8

  1. Turn OFF the ignition.
  2. Disconnect the heater and A/C control.
  3. Turn ON the ignition, with the engine OFF.
  4. Measure the voltage from the KDD data circuit to a good ground.

Does the voltage measure near the specified value?

1 Vdc

Go to Step 16

Go to Step 13

9

  1. Turn OFF the ignition.
  2. Disconnect the heater and A/C control.
  3. Turn ON the ignition, with the engine OFF.
  4. Measure the voltage from the KDD data circuit to a good ground.

Does the voltage measure near the specified value?

1 Vdc

Go to Step 10

Go to Step 14

10

Measure the frequency from the KDD clock circuit to a good ground.

Does the frequency measure near the specified value?

930 Hz

Go to Step 16

Go to Step 15

11

Repair the battery positive voltage circuit of the heater and A/C control for a short to ground, a high resistance, or an open. Refer to Circuit Testing and Wiring Repairs in Wiring Systems.

Did you find and correct the condition?

--

Go to Step 20

--

12

Repair the ground circuit of the heater and A/C control for a high resistance or an open. Refer to Circuit Testing and Wiring Repairs in Wiring Systems.

Did you find and correct the condition?

--

Go to Step 20

--

13

Test the KDD data circuit for a short to voltage or an open. Refer to Circuit Testing and Wiring Repairs in Wiring Systems.

Did you find and correct the condition?

--

Go to Step 20

Go to Step 17

14

Test the KDD data circuit for a short to ground. Refer to Circuit Testing and Wiring Repairs in Wiring Systems.

Did you find and correct the condition?

--

Go to Step 20

Go to Step 15

15

Test the KDD clock circuit for a short to voltage, a short to ground, or an open. Refer to Circuit Testing and Wiring Repairs in Wiring Systems.

Did you find and correct the condition?

--

Go to Step 20

Go to Step 17

16

Inspect for poor connections at the harness connector of the heater and A/C control. Refer to Testing for Intermittent Conditions and Poor Connections and Connector Repairs in Wiring Systems.

Did you find and correct the condition?

--

Go to Step 20

Go to Step 18

17

Inspect for poor connections at the harness connector of the heater and A/C programmer. Refer to Testing for Intermittent Conditions and Poor Connections and Connector Repairs in Wiring Systems.

Did you find and correct the condition?

--

Go to Step 20

Go to Step 19

18

Replace the heater and A/C control. Refer to Control Assembly Replacement .

Did you complete the replacement?

--

Go to Step 20

--

19

Replace the heater and A/C programmer. Refer to Programmer Replacement .

Did you complete the replacement?

--

Go to Step 20

--

20

  1. Use the scan tool in order to clear the DTCs .
  2. Operate the vehicle within the Conditions for Running the DTC as specified in the supporting text.

Does the DTC reset?

--

Go to Step 2

System OK