GM Service Manual Online
For 1990-2009 cars only

Object Number: 561556  Size: MF
SIR Components
SIR Schematics
SIR Handling Caution
Handling ESD Sensitive Parts Notice
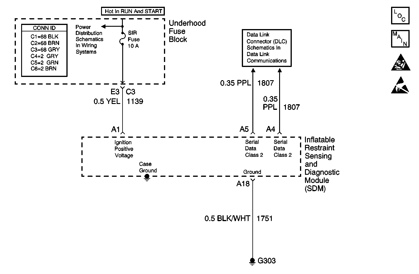
Underhood Fuse Block, PCM, SDM and INJ Fuses
Data Link Connector Schematics

Circuit Description

When you turn ON the ignition the Inflatable Restraint Sensing and Diagnostic Module (SDM) compares the restraint ID that is stored in the SDM to the restraints ID that is stored in the Body Control Module (BCM). The restraints ID that is being compared to contains the last four digits of SDM part number. The SDM receives these messages and compares them to information stored in memory, this DTC is set when the SDM receives a restraints ID over the class 2 communication circuit from the BCM that is different from the ID that is stored in the SDM memory.

Conditions for Running the DTC

Ignition 1 voltage is within the normal operating voltage range.

Conditions for Setting the DTC

    • The restraints ID that is stored in the SDM does not match the restraints ID that is stored in the BCM.
    • This test is only run once during power initialization.

Action Taken When the DTC Sets

    • The SDM commands ON the AIR BAG warning lamp via Class 2 serial data.
    • The SDM disables all deployments.

Conditions for Clearing the DTC

The restraints ID that is stored in the SDM matches the restraints ID that is stored in the BCM.

Diagnostic Aids

This DTC is an indication that an incorrect SDM is installed in the vehicle, or that the SDM and/or the BCM was replace without reprogramming the BCM with the new information.

Test Description

The following numbers refer to the step numbers in the diagnostic table:

  1. This step checks for current Inflable Restraint Sensing and Diagnostic Module (SDM) DTCs.

  2. This step checks to see if the correct Vehicle Information Numbers (VIN) is programmed in the Body Control Module (BCM).

  3. This step explains that the BCM must be programmed.

  4. This test checks to see if after clearing the DTCs if this DTC is current then its possible that the wrong SDM has been installed.

Step

Action

Value(s)

Yes

No

1

Did you perform the Diagnostic System Check?

--

Go to Step 2

Go to Diagnostic System Check - SIR

2

  1. Turn OFF the ignition.
  2. Use the scan tool to request SIR DTCs displayed.
  3. Turn ON the ignition, with the engine OFF.

Does the scan tool indicate that this DTC is current?

--

Go to Step 3

Go to Step 8

3

With the scan tool, verify that the Body Control Module (BCM) is programmed with the correct Vehicle Information Numbers (VIN) that is stored in the BCM to the VIN plate of the vehicle.

Is the BCM programmed with the correct VIN?

--

Go to Step 5

Go to Step 4

4

Use the scan tool to program the correct VIN into the BCM, refer to Body Control Module (BCM) Programming/RPO Configuration in Body Control Systems.

Did you complete the reprogramming procedure?

--

Go to Step 5

--

5

Perform the Setup SDM Serial Number into the BCM, refer to Body Control Module (BCM) Programming/RPO Configuration in Body Control Systems.

Did you complete the reprogramming procedure?

--

Go to Step 6

--

6

  1. Use the scan tool to check to see if DTC B1001 is current.
  2. Clear the DTCs.
  3. Turn OFF the ignition then turn ON the ignition, with the engine OFF.

Does the scan tool indicate that this DTC is current?

--

Go to Step 7

Go to Step 8

7

Replace the inflatable restraint sensing and diagnostic module (SDM). Refer to Inflatable Restraint Sensing and Diagnostic Module Replacement .

Did you complete the replacement?

--

Go to Step 8

--

8

  1. Reconnect all SIR components.
  2. Verify that all components, connectors, and CPAs are properly mounted.
  3. Use the scan tool in order to Clear the DTCs.
  4. Turn OFF the ignition then turn ON the ignition, with the engine OFF.
  5. Operate the vehicle within the Conditions for Running the DTC as specified in the supporting text.

Did you complete the action?

--

Go to Diagnostic System Check - SIR

--