GM Service Manual Online
For 1990-2009 cars only

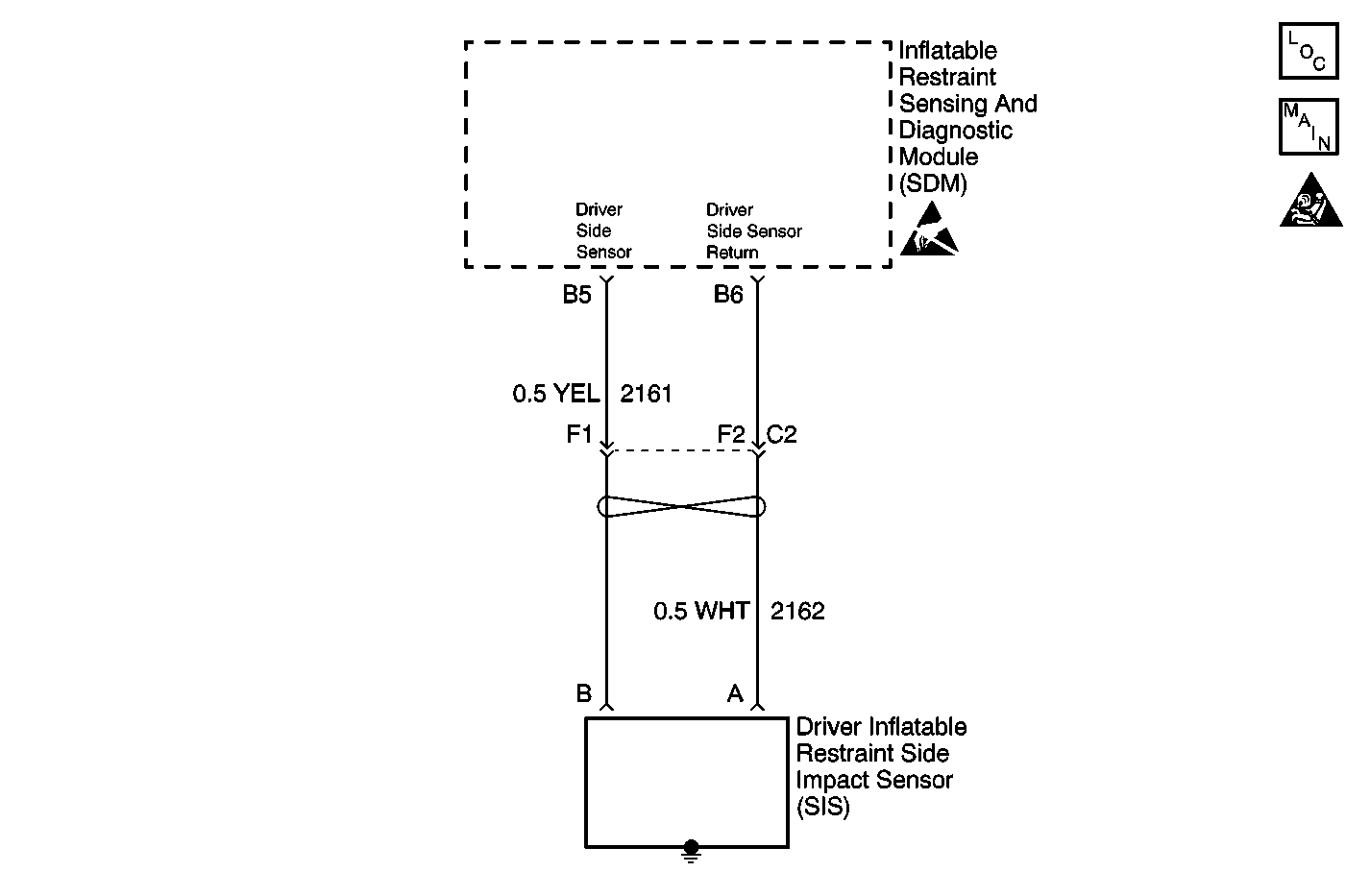
Object Number: 561575  Size: MF
SIR Components
SIR Schematics
SIR Handling Caution
Handling ESD Sensitive Parts Notice

Circuit Description

The LF/driver inflatable restraint side impact sensor (SIS) deployment loop is a 2 wire circuit. When you first turn ON the ignition, the inflatable restraint sensing and diagnostic module (SDM) performs tests to diagnose critical malfunctions within the SDM. The SDM provides input power to the SIS. When input power is first detected, the SIS responds by performing internal diagnostics. Next the SIS sends an ID message to the SDM. The SDM will consider this to be a valid ID if the response time is less than 5 seconds after the SIS is powered up. The SIS will continually communicate a status message to the SDM. The SDM can reset the SIS by removing and applying power to the SIS.

Conditions for Running the DTC

The SDM monitors the LF SIS loop with power on.

    • The SIS will send an ID message to the SDM.
    • The SIS will continuously send OK or NOK message to SDM.

Conditions for Running the DTC

The SDM monitors the LF side SIS loop with power on.

Conditions for Setting the DTC

    • Ignition  voltage is within the normal operating voltage range.
    • The SDM has received a NOK (not OK) message from the SIS.

Action Taken When the DTC Sets

The SDM commands ON the AIR BAG warning lamp via Class 2 serial data.

Conditions for Clearing the DTC

    • Replace the LF Side Impact Sensor (SIS).
    • You issue a scan tool CLEAR CODES command.
    • A history DTC will clear once 255 malfunction free ignition cycles have occurred.

Test Description

The following numbers refer to the step numbers in the diagnostic table:

  1. This test checks the communication status of the LF/driver side impact sensor.

Step

Action

Value(s)

Yes

No

1

Did you perform the Diagnostic System Check?

--

Go to Step 2

Go to Diagnostic System Check - SIR

2

  1. Turn OFF the ignition.
  2. Use the scan tool to request SIR DTCs displayed.
  3. Turn ON the ignition, with the engine OFF.

Does the scan tool indicate that this DTC is current?

--

Go to Step 3

--

3

Replace the inflatable restraint side impact sensor (SIS). Refer to Inflatable Restraint Side Impact Sensor Replacement .

Did you complete the replacement?

--

Go to Step 4

--

4

  1. Reconnect all SIR components.
  2. Verify that all components, connectors, and CPAs are properly mounted.
  3. Use the scan tool in order to Clear the DTCs.
  4. Operate the vehicle within the Conditions for Running the DTC as specified in the text.

Did you complete the action?

--

Go to Diagnostic System Check - SIR

--