GM Service Manual Online
For 1990-2009 cars only

Object Number: 801325  Size: LF
Master Electrical Component List
Automatic Transmission Controls Schematics
OBD II Symbol Description Notice

Circuit Description

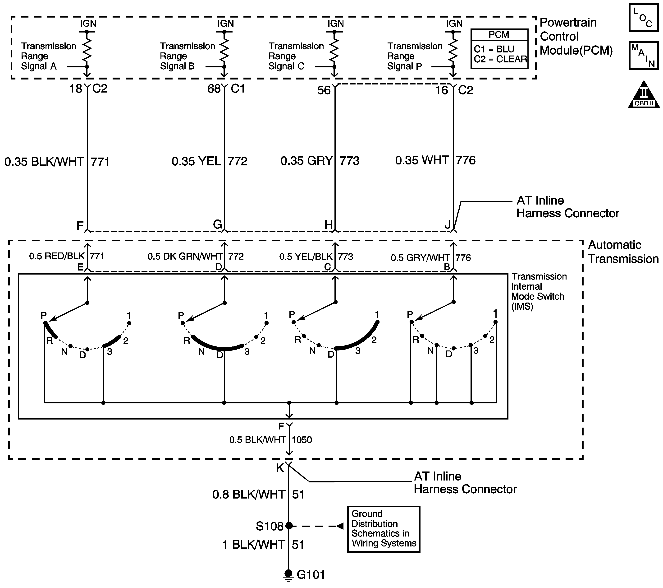
The transmission internal mode switch (IMS) is a sliding contact switch attached to the selector detent inside the transmission side cover. The four inputs to the PCM indicate the position of the transmission range selector. The input voltage level at the PCM is high (B+) when the IMS is open and low when the switch is closed to ground. The four input parameters represented are Signals A, B, C and P (Parity). Refer to Transmission Internal Mode Switch Logic .

If the PCM detects an invalid transmission range with the engine running, then DTC P1825 sets. DTC P1825 is a type C DTC.

Conditions for Running the DTC

    • The system voltage is 9-18 volts.
    • The engine speed is at least 500 RPM for 5 seconds and not in fuel shutoff.

Conditions for Setting the DTC

The PCM detects an invalid combination of IMS signals for 5 seconds.

Action Taken When the DTC Sets

    • The PCM does not illuminate the malfunction indicator lamp (MIL).
    • The PCM records the operating conditions when the Conditions for Setting the DTC are met. The PCM stores this information as Failure Records.
    • The PCM stores DTC P1825 in PCM history.

Conditions for Clearing the DTC

    • A scan tool can clear the DTC.
    • The PCM clears the DTC from PCM history if the vehicle completes 40 warm-up cycles without a non-emission-related diagnostic fault occurring.
    • The PCM cancels the DTC default actions when the ignition switch is OFF long enough in order to power down the PCM.

Test Description

The numbers below refer to the step numbers on the diagnostic table.

  1. HI values for all signals in all ranges indicates the ground circuit is OPEN.

  2. If one circuit affects the other, this indicates a short between the two circuits.

  3. This step tests the internal transmission harness. If no fault is found in the harness, the fault will be in the switch.

DTC P1825 Internal Mode Switch -- Invalid Range

Step

Action

Value(s)

Yes

No

1

Did you perform the Powertrain Diagnostic System Check?

--

Go to Step 2

Go to Diagnostic System Check - Engine Controls in Engine Controls

2

  1. Install a Scan Tool .
  2. Turn ON the ignition, with the engine OFF.
  3. Important: Before clearing the DTC, use the Scan Tool in order to record the Freeze Frame and Failure Records. Using the Clear Info function erases the Freeze Frame and Failure Records from the PCM.

  4. Record the DTC Freeze Frame and Failure Records.
  5. Clear the DTC.
  6. Select IMS on the Scan Tool .
  7. Place the range selector in each transmission range: P, R, N, D4, D3, D2 and D1.

Does each range selected match the Scan Tool IMS display?

--

Go to Intermittent Conditions in Engine Controls

Go to Step 3

3

  1. Select IMS A/B/C/P on the Scan Tool .
  2. Place the range selector in each transmission range: P, R, N, D4, D3, D2 and D1.

Does the IMS A/B/C/P display the specified values for each range?

HI/HI/HI/HI

Go to Step 13

Go to Step 4

4

  1. Turn OFF the ignition.
  2. Disconnect the AT Inline 20-way connector (additional DTCs may set).
  3. Turn ON the ignition, with the engine OFF.
  4. Select IMS A/B/C/P on the Scan Tool .

Do the Scan Tool IMS A/B/C/P signals all indicate HI?

--

Go to Step 5

Go to Step 9

5

  1. Turn OFF the ignition.
  2. Install the J 44152 Jumper Harness on the engine side of the AT Inline 20-way connector.
  3. Turn ON the ignition, with the engine OFF.
  4. Using the DMM and the J 35616 Connector Test Adapter Kit, measure the voltage at terminal F of the J 44152 .
  5. Refer to Automatic Transmission Inline Harness Connector End View .

  6. Measure the voltage at terminal G of the J 44152 .
  7. Measure the voltage at terminal H of the J 44152 .
  8. Measure the voltage at terminal J of the J 44152 .

Does the voltage measure ignition voltage at all four terminals?

--

Go to Step 6

Go to Step 10

6

Connect a fused jumper wire from terminal F of the J 44152 (signal A circuit) to ground while monitoring the Scan Tool IMS A/B/C/P parameter.

Refer to Automatic Transmission Inline Harness Connector End View .

When signal A circuit (CKT 771) is grounded, do any other signal circuits indicate LOW?

--

Go to Step 11

Go to Step 7

7

Connect a fused jumper wire from terminal G of the J 44152 (signal B circuit) to ground while monitoring the Scan Tool IMS A/B/C/P parameter.

Refer to Automatic Transmission Inline Harness Connector End View .

When signal B circuit (CKT 772) is grounded, do any other signal circuits indicate LOW?

--

Go to Step 11

Go to Step 8

8

Connect a fused jumper wire from terminal H of the J 44152 (signal C circuit) to ground while monitoring the Scan Tool IMS A/B/C/P parameter.

Refer to Automatic Transmission Inline Harness Connector End View .

When signal C circuit (CKT 773) is grounded, do any other signal circuits indicate LOW?

--

Go to Step 11

Go to Step 12

9

Test the signal A, B, C and P circuits (CKTs 771, 772, 773 and 776) of the IMS that did not indicate HI for a short to ground between the PCM connector C1 or C2 and the AT Inline 20-way connector.

Refer to Circuit Testing and Wiring Repairs in Wiring Systems.

Did you find and correct the condition?

--

Go to Step 18

Go to Step 17

10

Test the signal A, B, C and P circuits (CKTs 771, 772, 773 and 776) of the IMS that did not indicate ignition voltage for an open between the PCM connector C1 or C2 and the AT Inline 20-way connector.

Refer to Circuit Testing and Wiring Repairs in Wiring Systems.

Did you find and correct the condition?

--

Go to Step 18

Go to Step 17

11

Test the affected signal circuits of the IMS for a shorted together condition between the PCM connector C1 or C2 and the AT Inline 20-way connector.

Refer to Circuit Testing and Wiring Repairs in Wiring Systems.

Did you find and correct the condition?

--

Go to Step 18

Go to Step 17

12

Test the signal A, B, C and P circuits (CKTs 771, 772, 773 and 776) of the IMS for an open or shorted condition between the AT Inline 20-way connector and the IMS.

Refer to Circuit Testing in Wiring Systems.

Did you find the condition?

--

Go to Step 15

Go to Step 16

13

Test the ground circuit (CKT 51) of the IMS for an open between the AT Inline 20-way connector and the ground connection to the chassis.

Refer to Circuit Testing and Wiring Repairs in Wiring Systems.

Did you find and correct the condition?

--

Go to Step 18

Go to Step 14

14

Test the ground circuit (CKT 1050) of the IMS for an open between the AT Inline 20-way connector and the IMS.

Refer to Circuit Testing in Wiring Systems.

Did you find the condition?

--

Go to Step 15

Go to Step 16

15

Replace the automatic transmission wiring harness assembly.

Refer to Wiring Harness Replacement .

Did you complete the replacement?

--

Go to Step 18

--

16

Replace the lever assembly-manual shaft detent with internal mode switch.

Refer to Transmission Overhaul in the 4T65-E Section of the Transmission Unit Repair Manual.

Did you complete the replacement?

--

Go to Step 18

--

17

Replace the PCM.

Refer to Powertrain Control Module Replacement in Engine Controls.

Did you complete the replacement?

--

Go to Step 18

--

18

Perform the following procedure in order to verify the repair:

  1. Select DTC.
  2. Select Clear Info.
  3. Start the engine and idle in PARK for 10 seconds.
  4. The IMS must indicate a valid range for 5 seconds.
  5. Select Specific DTC.
  6. Enter DTC P1825.

Has the test run and passed?

--

System OK

Go to Step 1