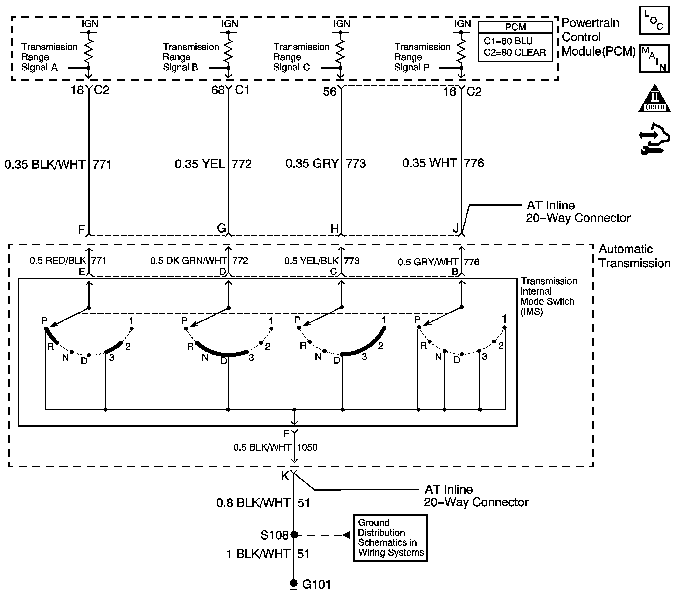
The transmission internal mode switch (IMS) is a sliding contact switch attached to the selector detent inside the transmission side cover. The four inputs to the PCM indicate the position of the transmission range selector. The input voltage level at the PCM is high, B+, when the IMS is open and low when the switch is closed to ground. The four input parameters represented are Signals A, B, C and P - Parity. Refer to Transmission Internal Mode Switch Logic .
If the PCM detects an invalid transmission range with the engine running, then DTC P1825 sets. DTC P1825 is a type C DTC.
This diagnostic procedure supports the following DTC:
DTC P1825 Internal Mode Switch - Invalid Range
The engine speed is greater than 500 RPM for 5 seconds and not in fuel cut off.
The PCM detects an invalid combination of IMS signals for 60 seconds.
| • | The PCM does not illuminate the malfunction indicator lamp (MIL). |
| • | The PCM commands maximum line pressure. |
| • | The PCM freezes transmission adaptive functions. |
| • | The PCM assumes D4 for shifting. |
| • | The PCM records the operating conditions when the Conditions for Setting the DTC are met. The PCM stores this information as Failure Records. |
| • | The PCM stores DTC P1825 in PCM history. |
| • | A scan tool can clear the DTC. |
| • | The PCM clears the DTC from PCM history if the vehicle completes 40 warm-up cycles without a non-emission-related diagnostic fault occurring. |
| • | The PCM cancels the DTC default actions when the ignition switch is OFF long enough in order to power down the PCM. |
The numbers below refer to the step numbers on the diagnostic table.
HI values for all signals in all ranges indicates the ground circuit is OPEN.
With the 20-way connector disconnected, all signals should indicate HI.
If one circuit affects the other, this indicates a short between the two circuits.
This step tests the internal transmission harness. If no fault is found in the harness, the fault will be in the switch.
Step | Action | Value(s) | Yes | No |
|---|---|---|---|---|
1 | Did you perform the Diagnostic System Check - Vehicle? | -- | Go to Step 2 | Go to Diagnostic System Check - Vehicle in Vehicle DTC Information |
2 |
Important: Before clearing the DTC, use the scan tool in order to record the Failure Records. Using the Clear DTC Information function erases the Failure Records from the PCM. Does each range selected match the scan tool IMS display? | -- | Go to Intermittent Conditions in Engine Controls - 3.8L | Go to Step 3 |
Does the IMS A/B/C/P display the specified values for each range? | HI/HI/HI/HI | Go to Step 13 | Go to Step 4 | |
Do the scan tool IMS A/B/C/P signals all indicate HI? | -- | Go to Step 5 | Go to Step 9 | |
5 |
Refer to Automatic Transmission Inline 20-Way Connector End View . Does the voltage measure ignition voltage at all four terminals? | -- | Go to Step 6 | Go to Step 10 |
Connect a fused jumper wire from signal A of the J 44152 to ground while monitoring the scan tool IMS A/B/C/P parameter. Refer to Automatic Transmission Inline 20-Way Connector End View . When signal A circuit is grounded, do any other signal circuits indicate LOW? | -- | Go to Step 11 | Go to Step 7 | |
7 | Connect a fused jumper wire from signal B of the J 44152 to ground while monitoring the scan tool IMS A/B/C/P parameter. Refer to Automatic Transmission Inline 20-Way Connector End View . When signal B circuit is grounded, do any other signal circuits indicate LOW? | -- | Go to Step 11 | Go to Step 8 |
8 | Connect a fused jumper wire from signal C of the J 44152 to ground while monitoring the scan tool IMS A/B/C/P parameter. Refer to Automatic Transmission Inline 20-Way Connector End View . When signal C circuit is grounded, do any other signal circuits indicate LOW? | -- | Go to Step 11 | Go to Step 12 |
9 | Test the signal circuits of the IMS that did not indicate HI for a short to ground between the PCM and the AT Inline 20-way connector. Refer to Testing for Short to Ground and Wiring Repairs in Wiring Systems. Did you find and correct the condition? | -- | Go to Step 18 | Go to Step 17 |
10 | Test the signal circuits of the IMS that did not indicate ignition voltage for an open between the PCM and the AT Inline 20-way connector. Refer to Testing for Continuity and Wiring Repairs in Wiring Systems. Did you find and correct the condition? | -- | Go to Step 18 | Go to Step 17 |
11 | Test the affected signal circuits of the IMS for a shorted together condition between the PCM and the AT Inline 20-way connector. Refer to Circuit Testing and Wiring Repairs in Wiring Systems. Did you find and correct the condition? | -- | Go to Step 18 | Go to Step 17 |
12 | Test the signal circuits of the IMS for an open or shorted condition between the AT Inline 20-way connector and the IMS. Refer to Circuit Testing in Wiring Systems. Did you find the condition? | -- | Go to Step 15 | Go to Step 16 |
Test the ground circuit of the IMS for an open between the AT Inline 20-way connector and the ground connection to the chassis. Refer to Testing for Continuity and Wiring Repairs in Wiring Systems. Did you find and correct the condition? | -- | Go to Step 18 | Go to Step 14 | |
14 | Test the ground circuit of the IMS for an open between the AT Inline 20-way connector and the IMS. Refer to Testing for Continuity in Wiring Systems. Did you find the condition? | -- | Go to Step 15 | Go to Step 16 |
15 | Replace the automatic transmission wiring harness assembly. Refer to Wiring Harness Replacement . Did you complete the replacement? | -- | Go to Step 18 | -- |
16 | Replace the lever assembly-manual shaft detent with internal mode switch. Refer to Manual Shift Detent Lever with Shaft Position Switch Assembly Removal in Transmission Unit Repair Manual. Did you complete the replacement? | -- | Go to Step 18 | -- |
17 | Replace the PCM. Refer to Control Module References in Computer/Integrating Systems for replacement, set-up and programming. Did you complete the replacement? | -- | Go to Step 18 | -- |
18 | Perform the following procedure in order to verify the repair:
Has the test run and passed? | -- | Go to Step 19 | Go to Step 2 |
19 | With a scan tool, observe the stored information, capture info and DTC info. Does the scan tool display any DTCs that you have not diagnosed? | -- | Go to Diagnostic Trouble Code (DTC) List - Vehicle in Vehicle DTC Information | System OK |