GM Service Manual Online
For 1990-2009 cars only

DIESEL ALTITUDE ADJUSTMENTS TO IMPROVE PERFORMANCE

A. 4.3L V6 DIESEL ENGINE VIN CODE "T"

1983 Centurys equipped with 4.3L V6 diesel engines will be manufactured with either high or low altitude diesel emission systems. Cars equipped with the high altitude emission system will be invoiced with option NA6. The type of system can also be identified by the emission label attached to the fan shroud. The label will indicate that the car was built for primary use at either high or low altitude. These procedures are considered altitude performance adjustments and apply only to in-use vehicles. They should not be used to modify vehicles prior to sale.

CONVERSION OF LOW ALTITUDE SYSTEM TO HIGH ALTITUDE

Dealers in high altitude areas should encourage owners who have moved to high altitude counties to purchase the following adjustment procedure. This adjustment is considered an owner maintenance expense. See attachment for a list of counties which the Environmental Protection Agency has designated as high altitude counties. Diesel timing should be checked or adjusted at the same approximate altitude at which the vehicle will be driven.

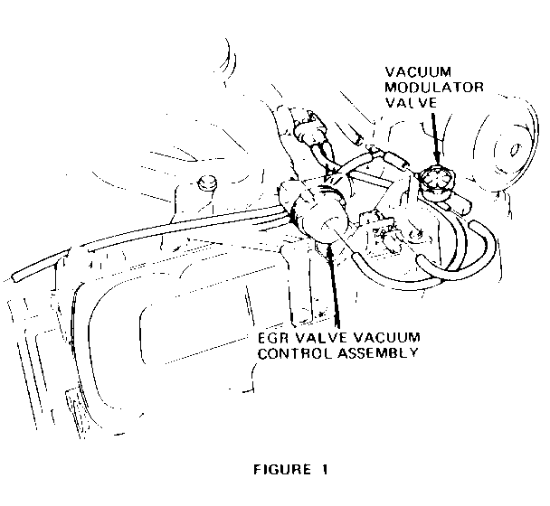
1. Replace the EGR vacuum control valve assembly with EGR vacuum control valve assembly part number 22519396 or equivalent. Refer to Figure 1.

2. Remove and discard the vacuum modulator valve, if so equipped, as shown in Figure 1.

3. Reroute the vacuum hoses as indicated in Figure 2.

4. Install Timing Meter J-33075 or equivalent, set pump timing to -6 DEG, and set idle speed to specifications. Turn off engine.

5. Remove air crossover assembly. Install screen covers J-29657.

6. With transmission in Park and A/C off, start engine.

7. Loosen locknut (Figure 3) and slowly turn metering valve stop screw clock- wise until idle speed drops approximately 10 RPM.

8. Turn metering valve stop screw counterclockwise 2-1/8 turns. Tighten locknut.

9. Check for fuel leaks around metering valve stop screw.

10. Turn engine off.

11. Remove magnetic tachometer probe and screened covers from intake manifold and reinstall air crossover and air cleaner.

12. Fill in dealer code and date on the supplemental emission control label, part number 14057201 or equivalent (Figure 4). This label must be placed next to the existing underhood emission control information label. Wash off the area with soap and water, dry thoroughly, and apply the new label.

PARTS INFORMATION

Part Part Number

1. EGR Vacuum Control Valve Assembly 22519396 or equivalent High Altitude Application

2. Label 14057201 or equivalent

Suggested Time

The suggested time to perform the High Altitude Adjustment and part replacement is 0.8 hour labor.

CONVERSION OF HIGH ALTITUDE SYSTEM TO LOW ALTITUDE

Dealers should advise owners moving to low altitude areas that they should purchase the following altitude adjustment procedure. This adjustment is considered an owner maintenance expense. Diesel timing should be check or adjusted at the same approximate altitude at which the vehicle will be driven.

1. Replace the EGR vacuum control valve assembly with EGR vacuum control valve assembly part number 22519395 or equivalent. Refer to Figure 2.

2. Install a vacuum modulator valve, part number 563494 or equivalent, in the location as shown in Figure 1. A rubber block connector, "F" connector and elbow connector will also be required to convert to the low altitude system as shown in Figure 1. Additional vacuum hose may also be required. The part numbers for all parts required are listed in the Parts Section of this bulletin.

3. Reroute the vacuum hoses and install the above parts as indicated in Figure 1.

4. Install Timing Meter J-33075 or equivalent, set pump timing to -6 DEG, and set idle speed to specifications. Turn off engine.

5. Remove air crossover assembly. Install screen covers J-29657.

6. Loosen lock nut (Figure 3) and turn metering valve stop screw counterclockwise 1.5 turns. Tighten lock nut.

7. Start engine. With engine running and transmission in park, check for fuel leaks around metering valve stop screw. Turn engine off.

8. Remove magnetic tachometer probe and screened covers from intake manifold and reinstall air crossover and air cleaner.

9. Fill in dealer code an date on the supplemental emission control label, part number 14055121 or equivalent (Figure 5). The label must be placed next to the existing underhood emission control information label. Wash off the area with soap and water, dry thoroughly and apply the new label.

PARTS INFORMATION

Part Part Number

1. EGR Vacuum Control Valve 22519395 orequivalent Assembly - Low Altitude Application

2. Vacuum Modulator Valve 563494 or equivalent 3. "F" Connector 22502326 or equivalent 4. Elbow Connector 556992 or equivalent 5. Rubber block connector 560840 or equivalent 6. Vacuum Hose (bulk) 9438381 or equivalent 7. Label 14055121 or equivalent

Suggested Time

The suggested time to perform High to Low Altitude adjustment and part replacement is 0.8 hour labor.

B. 4.3L V6 DIESEL ENGINE VIN CODE "V"

1983 Regals equipped with 4.3L V6 diesel engines will be manufactured with either high or low altitude diesel emission systems. Cars equipped with the high altitude emission system will be invoiced with option NA6. The type of system can also be identified by the emission label attached to the fan shroud. The label will indicate that the car was built for primary use at either high or low altitude. These procedures are considered altitude performance adjustments and apply only to in-use vehicles. They should not be used to modify vehicles prior to sale.

CONVERSION OF LOW ALTITUDE SYSTEM TO HIGH ALTITUDE

Dealers in high altitude areas should encourage owners who have moved to high altitude counties to purchase the following adjustment procedure. This adjustment is considered an owner maintenance expense. See attachment for a list of counties which the Environmental Protection Agency has designated as high altitude counties. Diesel timing should be checked or adjusted at the same approximate altitude at which the vehicle will be driven.

1. Replace the EGR vacuum control valve assembly with the assembly shown in Figure 1. Refer to Parts Information for part numbers.

2. Install Timing Meter J-33075 or equivalent, set pump Timing to -6 DEG, and set engine idle to specifications, turn off engine.

3. Remove air crossover assembly. Install screen covers J-29657.

4. With transmission in Park and A/C off, start engine.

5. Loosen locknut (Figure 2) and slowly turn metering valve stop screw clock- wise until idle speed drops approximately 10 RPM.

6. Turn metering valve stop screw counterclockwise exactly 2-1/8 turns. Tighten locknut.

7. Check for fuel leaks around metering valve stop screw.

8. Turn engine ofi.

9. Remove magnetic tachometer probe and screened covers from intake manifold and reinstall parts removed.

10. Fill in dealer code and date on the supplemental emission control label, part number 14057201 or equivalent (Figure 3). This label must be placed next to the existing underhood emission control information label. Wash off the area with soap and water, dry thoroughly, and apply the new label.

PARTS INFORMATION

Part Part Number

1. EGR Vacuum Control valve Assembly 22519396 or equivalent High Altitude Application

2. Label 14057201 or equivalent

Suggested Time

The suggested time to perform the Low to High Altitude Adjustment and part replacement of 0.8 hour labor.

CONVERSION OF HIGH ALTITUDE SYSTEM TO LOW ALTITUDE

Dealers should advise owners moving to low altitude areas that they should purchase the following altitude adjustment procedure. This adjustment is considered an owner maintenance expense. Diesel timing should be checked or adjusted at the same approximate altitude at which the vehicle will be driven.

1. Replace the EGR vacuum control valve assembly with the assembly shown in Figure 1. Refer to Parts Information for part numbers.

2. Install timing meter J-33075 or equivalent, set pump timing to 6 DEG, and set engine idle to specifications, turn off engine.

3. Remove air crossover assembly. Install screen covers J-29657.

4. Loosen locknut (Figure 2) and turn metering valve stop screw counterclock- wise 1.5 turns. Tighten locknut.

5. Start engine. With engine running and transmission in Park, check for fuel leaks around metering valve stop screw.

6. Turn engine off.

7. Remove magnetic tachometer probe and screened covers from intake manifold and reinstall parts removed.

8. Fill in dealer code and date on the supplemental emission control label, part number 14055121 or equivalent (Figure 4). The label must be placed next to the existing underhood emission control information label. Wash off the area with soap and water, dry thoroughly and apply the new label.

PARTS INFORMATION

Part Part Number

1. EGR Vacuum Control Valve Assembly 22519395 or equivalent Low Altitude Application

2. Label 14055121 or equivalent

Suggested Time

The suggested time to perform High to Low Altitude adjustment and part replacement is 0.8 hour labor

C. 5.7L V8 DIESEL ENGINE VIN CODE "N"

The 1983 Buicks equipped with 5.7L V8 diesel engines will be manufactured with either high or low altitude diesel systems. A vehicle with a high altitude system will be invoiced with option NA6. The type of system can also be identified by the emission label attached to the fan shroud. The label will indicate that the vehicle was designed for principal use at either high or low altitude.

These adjustments are considered Altitude Performance Adjustments and apply only to in-use vehicles. They should not be used to modify vehicles prior to sale.

Dealers must not sell vehicles with low altitude systems for principal use at high altitude.

CONVERSION OF LOW LATITUDE SYSTEM TO HIGH ALTITUDE

Dealers in high altitude areas should encourage owners who have moved to high altitude counties to purchase the service adjustment procedure outlined below, which is considered an owner maintenance expense. See attachment for a list of counties which the Environmental Protection Agency has designated as high altitude counties. Diesel timing should be checked or adjust at the same approximate altitude at which the vehicle will be driven.

1. Replace the EGR vacuum control valve assembly (Figure 1) with the assembly shown in the parts information.

2. Install timing meter J-33075 or equivalent, set pump timing -4 DEG, and set idle speed to specifications.

3. Remove air cleaner and air crossover assemblies and install screen covers J-26996-2.

4. Install shop towel in the intake manifold valley area under the injection pump head to absorb any full leakage. Remove housing pressure tap plug and seal located on the rear of the pump (Figure 2).

5. Using the parts contained in kit, part number 22516487 or equivalent, assemble locknut and new seal (0-ring) to metering valve stop screw.

6. Install assembly in injection pump until locknut contacts pump housing. Tighten locknut.

7. Place transmission in Park, turn A/C off and start engine.

8. Loosen locknut and slowly turn metering valve stop screw clockwise until idle speed drops approximately 10 RPM.

9. Turn metering valve stop screw counterclockwise 2-112 turns and tighten locknut.

10. Check installation for fuel leaks and remove shop towel from intake valley.

11. Turn engine off.

12. Remove timing meter and screened covers from intake manifold and reinstall parts removed.

13. Type or print with ball point pen the dealer code and date in the space provided on the supplemental emission control label, part number 14057201 or equivalent, Figure 3 (part of kit). The label must be placed next to the existing underhood emission control information label to the extent possible. The label should not be affixed to any equipment that can be easily detached from the vehicle. Wash off the area with soap and water, dry thoroughly, and apply the new label.

PARTS INFORMATION

Part Part Number

1. EGR Vacuum Control Valve Assembly 22515542 or equivalent High Altitude Application-All Models

2. Kit Contents 22516487 or equivalent

Part Quantity

Locknut 1 Seal 1 Metering Valve Screw 1 Label part number 14057201 or equivalent 1 (See Figure 3)

Suggested Time

The suggested time to perform High Altitude adjustment and part replacement listed above is 0.4 hour labor.

CONVERSION OF HIGH ALTITUDE VEHICLES TO LOW ALTITUDE

Dealers should advise owners moving to low altitude areas that they should purchase the service adjustment procedure outlined below which is considered an owner maintenance expense. Diesel timing should be checked or adjusted at the same approximate altitude at which the vehicle will be driven.

1. Replace the EGR vacuum control assembly (Figure 1) with the assembly shown in the parts information.

2. Install timing meter J-33075 or equivalent, set pump timing -4 DEG, and set idle speed to specifications.

3. Remove timing meter.

4. Type o r print with ball point pen the dealer code and date in the space provided on the supplemental emission control label, part number 14055121 or equivalent (Figure 4). The label must be placed next to the existing underhood emission control information label to the extent possible. The label should not be affixed to any equipment that can be easily detached from the vehicle. Wash off the area with soap and water, dry thoroughly and apply the new label.

PARTS INFORMATION

Part Part Number

1. EGR Vacuum Control Valve Assembly 22514746 or equivalent Low Altitude Application - All Models 2. Label 14055121 or equivalent (See Figure 4)

Suggested Time

The suggested time to perform the Low Altitude adjustment and part replacement listed above is 0.4 hour labor.

DESIGNATED HIGH ALTITUDE COUNTIES* Requiring High Altitude Emission Control

State of Arizona State of Nevada Apache Carson City Humboldt Navajo Douglas Lander Elko Lyon State of Colorado Esmeralda Mineral Adams Jefferson Eureka Storey Alamosa Lake White Pine Arapahoe La Plata Archuleta Larimer State of New Mexico Boulder Las Animas Bernalillo Mora Chaffee Lincoln Catron Rio Arriba Clear Creek Mesa Colfax Sandoval Conejos Mineral Curry San Juan Costilla Moffat De Baca San Miguel Crowley Montezuma Grant Santa Fe Custer Montrose Guadalupe Sierra Dolores Morgan Harding Socorro Delta Ouray Lincoln Taos Denver Park Los Alamos Torrance Douglas Pitkin Luna Union Eagle Pueblo McKinley Valencia Elbert Rio Blanco El Paso Rio Grande Fremont Routt State of Oregon Garfield Saguache Gilpin San Juan Lake Grand San Miguel Gunnison Summit State of Utah Hinsdale Teller Beaver Piute Huerfano Washington Box Elder Rich Jackson Weld Cache Salt Lake Carbon San Juan Daggett Sampete State of Idaho Davis Sevier Duchesne Summit Bannock Custer Emery Tooele Bear Lake Franklin Grand Uintah Bingham Fremont Iron Utah Blaine Jefferson Juab Wasatch Bonneville Madison Kane Wayne Butte Minidoka Millard Weber Camas Oneida Morgan Caribou Power Cassia Teton State of Wyoming Clark Valley Albany Matrona Carbon Niobrara State of Montana Converse Park Beaverhead Madison Fremont Platte Deer Lodge Meagher Goshen Sublette Gallatin Park Hot Springs Sweetwater Jefferson Silver Bow Johnson Teton Laramie Uinta State of Nebraska Lincoln Weston Banner Sioux Kimball

*Counties which have substantially all of their area above 4000 ft. Ref. Federal Register, Vol. 42, No. 76, April 20, 1977, pg. 20464.


Object Number: 82597  Size: FS


Object Number: 88072  Size: SF


Object Number: 90880  Size: MF


Object Number: 87394  Size: MF


Object Number: 87393  Size: SF


Object Number: 90680  Size: MF


Object Number: 92316  Size: MF


Object Number: 89715  Size: SF


Object Number: 89338  Size: SF


Object Number: 90551  Size: MF


Object Number: 86773  Size: LF


Object Number: 87392  Size: MF


Object Number: 87121  Size: MF


Object Number: 87867  Size: FS

General Motors bulletins are intended for use by professional technicians, not a "do-it-yourselfer". They are written to inform those technicians of conditions that may occur on some vehicles, or to provide information that could assist in the proper service of a vehicle. Properly trained technicians have the equipment, tools, safety instructions and know-how to do a job properly and safely. If a condition is described, do not assume that the bulletin applies to your vehicle, or that your vehicle will have that condition. See a General Motors dealer servicing your brand of General Motors vehicle for information on whether your vehicle may benefit from the information.