GM Service Manual Online
For 1990-2009 cars only

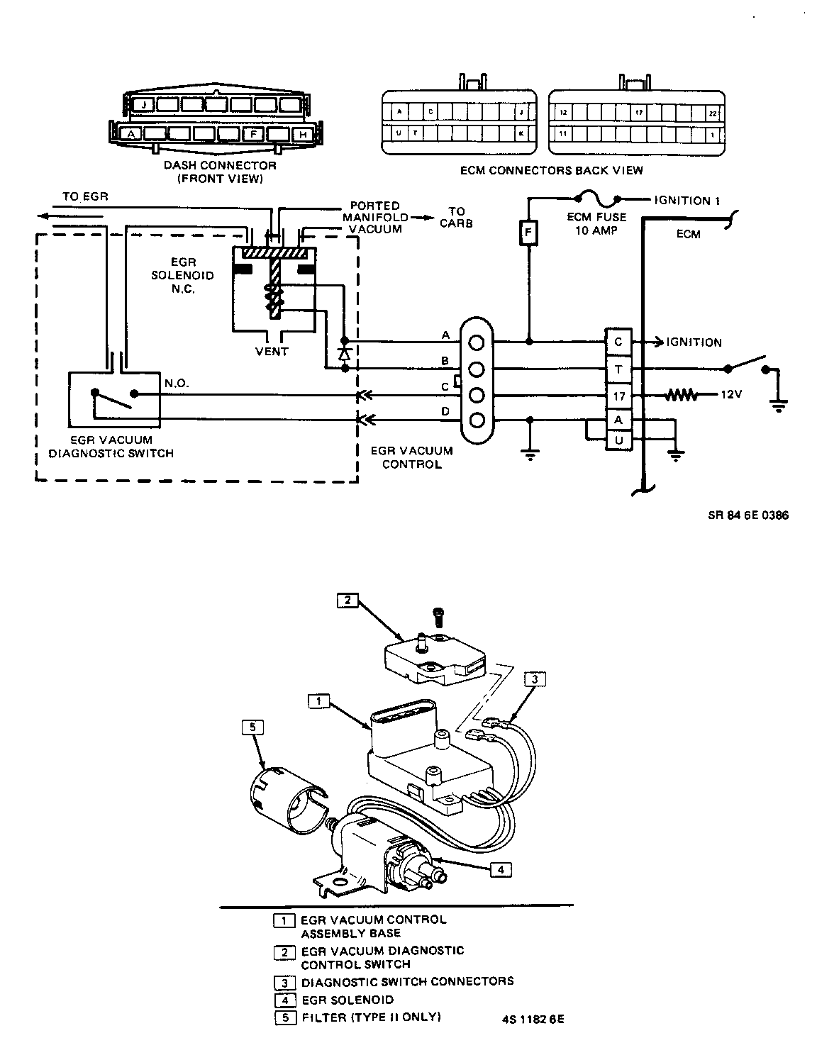
CODE 53, EGR OPERATION DIAGNOSIS INFORMATION

Models Affected: 1984 CCC Equipped Vehicles

The EGR Vacuum Control is an ECM controlled solenoid that pulses ported manifold vacuum to the EGR valve. The ECM cmtrols the EGR vacuum by completing the ground to energize a normally closed solenoid. The EGR is "pulse width modulated"; that is the ECM varies the amount of EGR by the amomt of time the solenoid is "ON" or "OFF". Part of the control includes a Vacuum Diagnostic Control Switch. Its purpose is to signal the ECM when vacuum is actually being applied to the EGR valve. The EGR vacuum diagnostic control switch is serviced separately.

Code 53 will be set if the EGR diagnostic switch senses vacuum when the ECM signals no EGR or does not sense vacuum when the ECM signals for EGR. It is a normally open switch which is closed by vacuum. When the switch closes, the ECM senses that EGR (vacuum) is applied.

The EGR solenoid is energized based on the following inputs:

Engine running above idle but less than WOT.

Engine coolant temperature 42.5 DEG C (108 DEG F) or above.

Transmission in gear.

The "pulse width" or "on time" for the EGR solenoid is determined by engine load input to the ECM.

1. Checks for a stuck vacuum switch or grounded wire to ECM diagnostic switch input. Normally no code should set at idle since the diagnostic switch should be open normally.

2. By loading the engine in drive checks to see if the diagnostic switch senses EGR which is normal under load. If the "Check Engine" light comes "ON", a fault is present.

3. Checks to see if line is grounded to EGR solenoid. Normally light should be "OFF".

4. Checks to see if circuit to EGR solenoid is good. By grounding diagnostic test terminal, the test light should be "ON" if the ECM is functioning and the ignition and ground line to the solenoid is good.

5. Checks to see if circuits from ECM to diagnostic vacuum switch are good. Normally the voltmeter will read battery voltage if circuits are good.

6. Determines whether diagnostic switch or EGR solenoid is at fault. By applying 10" vacuum to diagnostic switch with an ohmmeter across terminals of the switch, a functional check can be made. If the switch functions and resistance drops to near zero, fault is a poor connection or faulty solenoid.


Object Number: 86989  Size: FS


Object Number: 79401  Size: FS


Object Number: 78205  Size: FS

General Motors bulletins are intended for use by professional technicians, not a "do-it-yourselfer". They are written to inform those technicians of conditions that may occur on some vehicles, or to provide information that could assist in the proper service of a vehicle. Properly trained technicians have the equipment, tools, safety instructions and know-how to do a job properly and safely. If a condition is described, do not assume that the bulletin applies to your vehicle, or that your vehicle will have that condition. See a General Motors dealer servicing your brand of General Motors vehicle for information on whether your vehicle may benefit from the information.