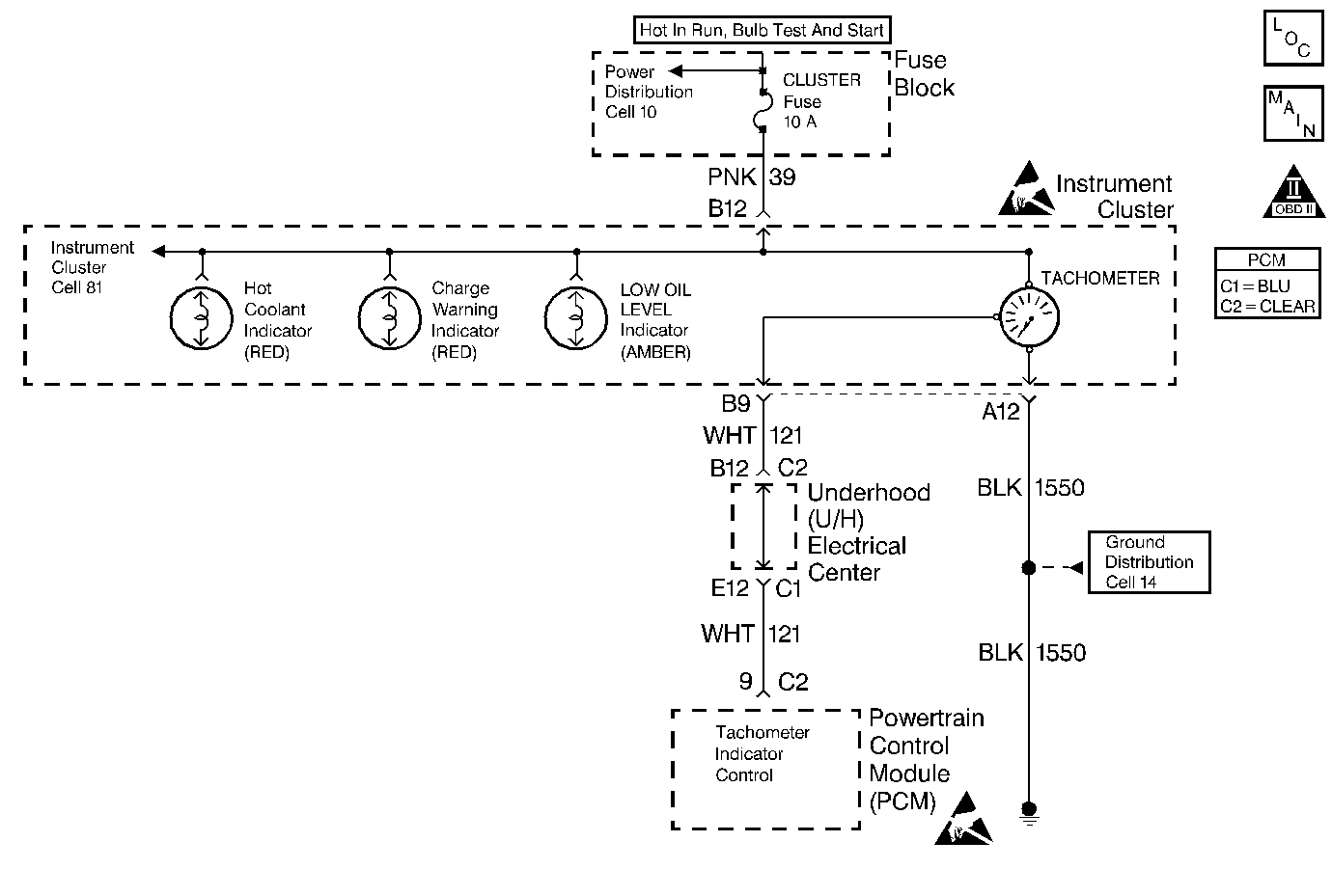
The PCM supplies the ground to energize the Instrument Cluster tachometer. When the ignition switch is first turned on the PCM grounds the tachometer circuit. The circuit will remain grounded until the PCM receives the first 24X reference pulse. Once the 24X reference pulse is received, the PCM controls the pulse frequency in relationship to engine RPM. The tachometer is controlled at a rate of two pulses per crankshaft revolution.
Refer to Instrument Cluster in Electrical Diagnosis for additional diagnostic information.
Check for the following conditions:
| • | Poor connection at the PCM or instrument cluster. Inspect the harness connectors for backed out terminals, improper mating, broken locks, improperly formed or damaged terminals, and poor terminal to wire connection. |
| • | Damaged harness. Inspect the wiring harness for damage. If the harness appears to be OK, disconnect the PCM, turn the ignition ON and observe voltmeter connected to the tachometer control circuit at the PCM harness connector while moving connectors and wiring harnesses related to the tachometer control circuit. A change in voltage will indicate the location of the fault. |
Number(s) below refer to the step number(s) on the Diagnostic Chart.
Normally, ignition feed voltage should be present on the output driver circuit with the PCM disconnected and the ignition turned on.
Checks for a shorted component or a short to battery positive voltage on the output driver circuit. Either condition would result in a measured current of over 0.5 amps.
Checks for a faulty instrument cluster.
A fault in the 24X/Camshaft position sensors feed or ground circuits will result in the loss of both PCM input pulses. Without a 24X reference pulse the PCM can not begin tachometer pulse control causing an inoperative tachometer.
This vehicle is equipped with a PCM which utilizes an Electrically Erasable Programmable Read Only Memory (EEPROM). When the PCM is being replaced, the new PCM must be programmed. Refer to Powertrain Control Module Replacement/Programming .
Step | Action | Value(s) | Yes | No | ||||||
|---|---|---|---|---|---|---|---|---|---|---|
1 | Was Instrument Cluster diagnosis in Electrical Diagnosis. performed? | -- | Go to Instrument Cluster diagnosis in Electrical Diagnosis | |||||||
2 | Was the Powertrain On Board Diagnostic (OBD) System Check performed? | -- | ||||||||
Is voltage near the specified value? | B+ | |||||||||
Does the current reading remain less than the specified value? | 0.5 Amp | |||||||||
Is the voltage at the specified value? | 0.0V | |||||||||
6 | Locate and repair short to voltage in the tachometer control circuit. Refer to Repair Procedures in Electrical Diagnosis. Is the action complete? | -- | -- | |||||||
7 | Check the ignition feed fuse for the instrument cluster. Is the fuse blown? | -- | ||||||||
8 |
Is the action complete? | -- | -- | |||||||
9 |
Is the voltage near the specified value? | B+ | ||||||||
10 |
Was a problem found? | -- | ||||||||
11 |
Was a problem found? | -- | ||||||||
12 |
Does the test light flash on and off? | -- | Refer to Diagnostic Aids | |||||||
13 | Is the test light on steady? | -- | ||||||||
Locate and repair the following circuit condition:
Is the action complete? | -- | -- | ||||||||
15 |
Was a problem found? | -- | ||||||||
Locate and repair open in ignition feed circuit to the instrument cluster. Refer to Repair Procedures in Electrical Diagnosis. Is the action complete? | -- | -- | ||||||||
17 | Replace the instrument cluster. Is the action complete? | -- | -- | |||||||
18 | Replace the PCM. Important: : Replacement PCM must be programmed. Refer to Powertrain Control Module Replacement/Programming . Is the action complete? | -- | -- | |||||||
19 | Operate the vehicle while observing the I/P tachometer. Does the I/P tachometer operate properly? | -- | System OK | Go to Instrument Cluster diagnosis in Electrical Diagnosis. |