GM Service Manual Online
For 1990-2009 cars only

Removal Procedure

    Important: If one of the switches requires replacement, make sure that the power feed circuit is not shorted to any other wire in the circuit before installing a new switch. If a short exists, the short will cause the replacement switch to become damaged. In addition, when disconnecting the seat switch from the wire harness, extra care must be taken not to short across the switch hot feed terminal and switch ground terminal. If this condition occurs, the seat switch can be damaged.

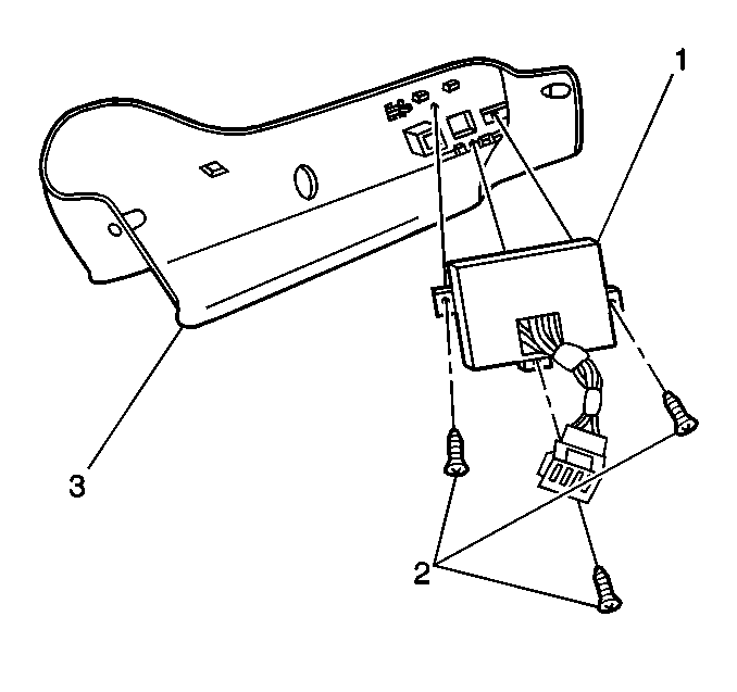
  1. Remove the seat trim panel (3). Refer to Power Seat Riser Trim Cover Replacement .

  2. Object Number: 310449  Size: SH
  3. Remove the power seat switch screws (2).
  4. Remove the switch (1) from the trim panel.

Installation Procedure


    Object Number: 310449  Size: SH
  1. Install the switch on the trim panel (3).
  2. Notice: Use the correct fastener in the correct location. Replacement fasteners must be the correct part number for that application. Fasteners requiring replacement or fasteners requiring the use of thread locking compound or sealant are identified in the service procedure. Do not use paints, lubricants, or corrosion inhibitors on fasteners or fastener joint surfaces unless specified. These coatings affect fastener torque and joint clamping force and may damage the fastener. Use the correct tightening sequence and specifications when installing fasteners in order to avoid damage to parts and systems.

  3. Install the power seat switch screws (2).
  4. Tighten
    Tighten the power seat switch screws to 3 N·m (27 lb in).

  5. Install the seat trim panel (3). Refer to Power Seat Riser Trim Cover Replacement .