GM Service Manual Online
For 1990-2009 cars only
Makes
🢒
Buick
🢒
1998
🢒
Regal
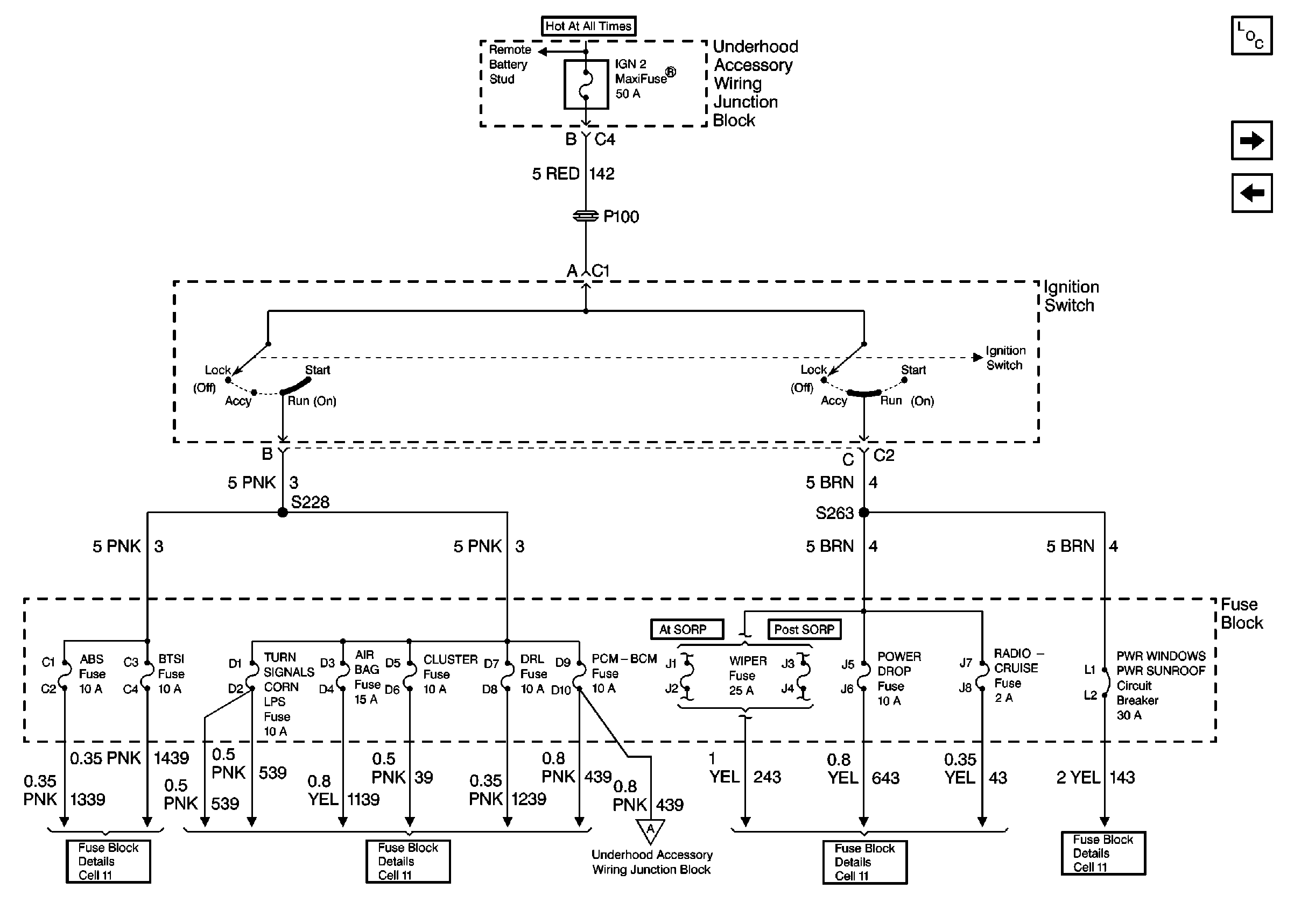
🢒 Cell 10: Underhood Accessory Wiring Junction Block, Ignition Switch, And Fuse Block
Cell 10: Underhood Accessory Wiring Junction Block, Ignition Switch, And Fuse Block
Cell 10: Underhood Accessory Wiring Junction Block, Ignition Switch, And Fuse Block
Power and Grounding Components
Cell 10: Underhood Accessory Wiring Junction Block, Ignition Switch, And Fuse Block
Cell 10: Battery, Starter, Generator, Underhood Accessory Wiring JunctiOn Block, And Fuse Block
Cell 10: ABS And BTSI Fuses
Cell 10: WIPER, POWER DROP, RADIO-CRUISE, And RED STRG WHL ILLUM Fuses
Cell 10: PWR WINDOWS-PWR SUNROOF, REAR DEFOG, And POWER SEATS Circuit Breakers
Cell 10: TURN SIGNALS CORN LPS, AIR BAG, CLUSTER, DRL, And PCM-BCM Fuses
Cell 10: Underhood Accessory Wiring Junction Block