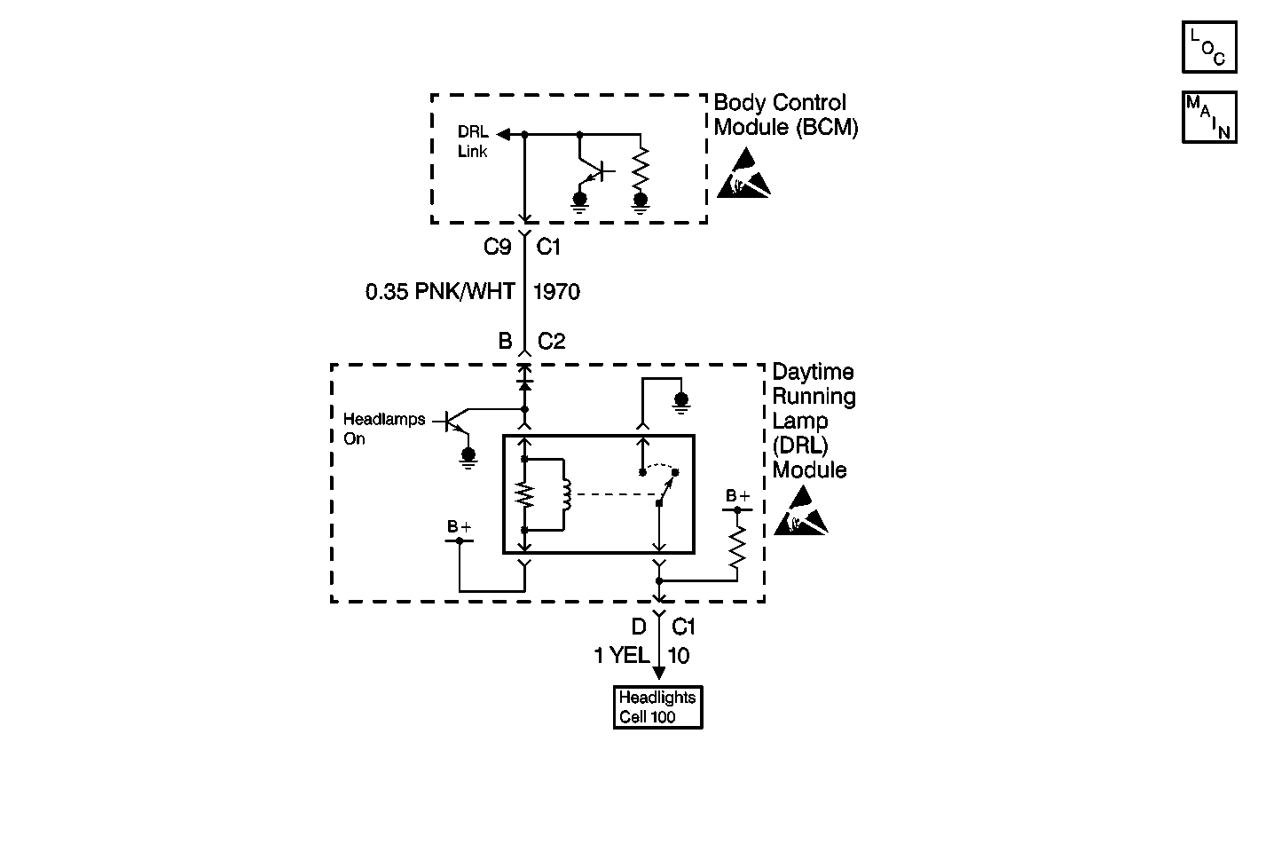
The BCM interfaces with the DRL control module through circuit 1970 to determine the ambient light operation mode. The BCM communicates this information to the instrument cluster through the Class 2 serial data link.
The BCM detects a short to B+ in circuit 1970.
| • | The BCM stores DTC B2418 in memory. |
| • | The BCM turns off its output to the DRL module. |
| • | When the ignition switch is turned from off to on, a current DTC B2418 is always cleared. |
| • | A history DTC will clear after 100 consecutive ignition cycles if the condition for the fault is no longer present. |
| • | Using a scan tool. |
| • | The BCM sets DTC B2418 as a current DTC only if the short to B+ occurs while the BCM is in the twilight sentinel mode. |
| • | Check fuses for a possible open fuse, indicating that the circuit(s) protected by such fuse is contacting circuit 1970. |
| • | The following conditions may cause an intermittent malfunction to occur: |
| - | An intermittent short to B+ in circuit 1970. |
| - | The BCM is shorted to B+ internally. |
| - | The DRL module is shorted to B+ internally. |
| • | If the DTC is a history DTC, the problem may be intermittent. Try performing the tests shown while wiggling wiring and connectors, this can often cause the malfunction to reappear. |
| • | DTC P1626 will set in the Powertrain Control Module (PCM) when the ignition switch is on with the Body Control Module (BCM) disconnected. When BCM diagnostics and repairs are completed, refer to Engine Controls for additional information on PCM related DTCs. |
The numbers below refer to the step numbers on the diagnostic table.
This step checks for a short to B+ in circuit 1970.
This step checks whether circuit 1970 has a short to B+ or the BCM is faulty.
This step determines whether the malfunction is intermittent or the BCM is faulty.
Step | Action | Value(s) | Yes | No |
|---|---|---|---|---|
1 | Was the BCM Diagnostic System Check performed? | -- | ||
Is the test light on? | -- | |||
Is the test light on? | -- | |||
Does DTC B2418 reset as a current DTC? | -- | |||
5 | Replace the DRL module. Refer to Daytime Running Lights (DRL) Control Module Replacement in Lighting Systems for service procedure. Is the repair complete? | -- | -- | |
6 | Repair short to B+ in circuit 1970. Is the repair complete? | -- | -- | |
7 |
Is the repair complete? | -- | -- | |
8 | The malfunction is not present at this time. Refer to Diagnostic Aids for additional information regarding this DTC. Is the repair complete? | -- | -- | |
9 |
Are there any BCM current DTCs set? | -- | System OK |