GM Service Manual Online
For 1990-2009 cars only
Figure 1:

Cell 114: Power, Ground and Serial Data


Object Number: 385177  Size: FS
Figure 2:

Cell 114: Interior Lights Control Inputs


Object Number: 385105  Size: FS
Figure 3:

Cell 114: Inadvertent Battery Rundown Protection and Theater Dimming 1 Ground Output


Object Number: 385108  Size: FS
Figure 4:

Cell 114: Theater Dimming 2 Output Control


Object Number: 385111  Size: FS
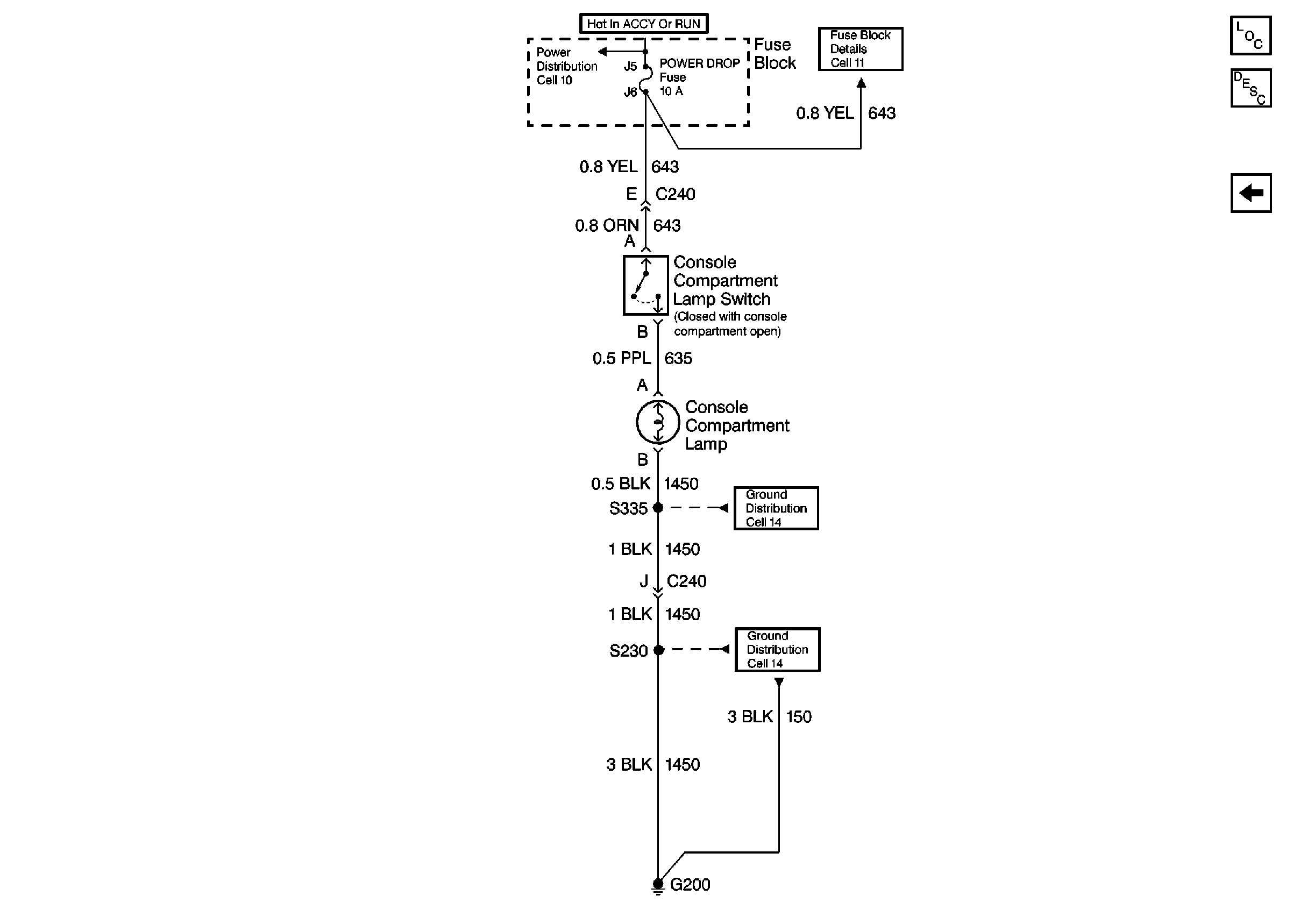
Figure 5:

Cell 114: Console Compartment Lamp and Switch


Object Number: 385444  Size: FS