GM Service Manual Online
For 1990-2009 cars only
Makes
🢒
Buick
🢒
1999
🢒
Regal
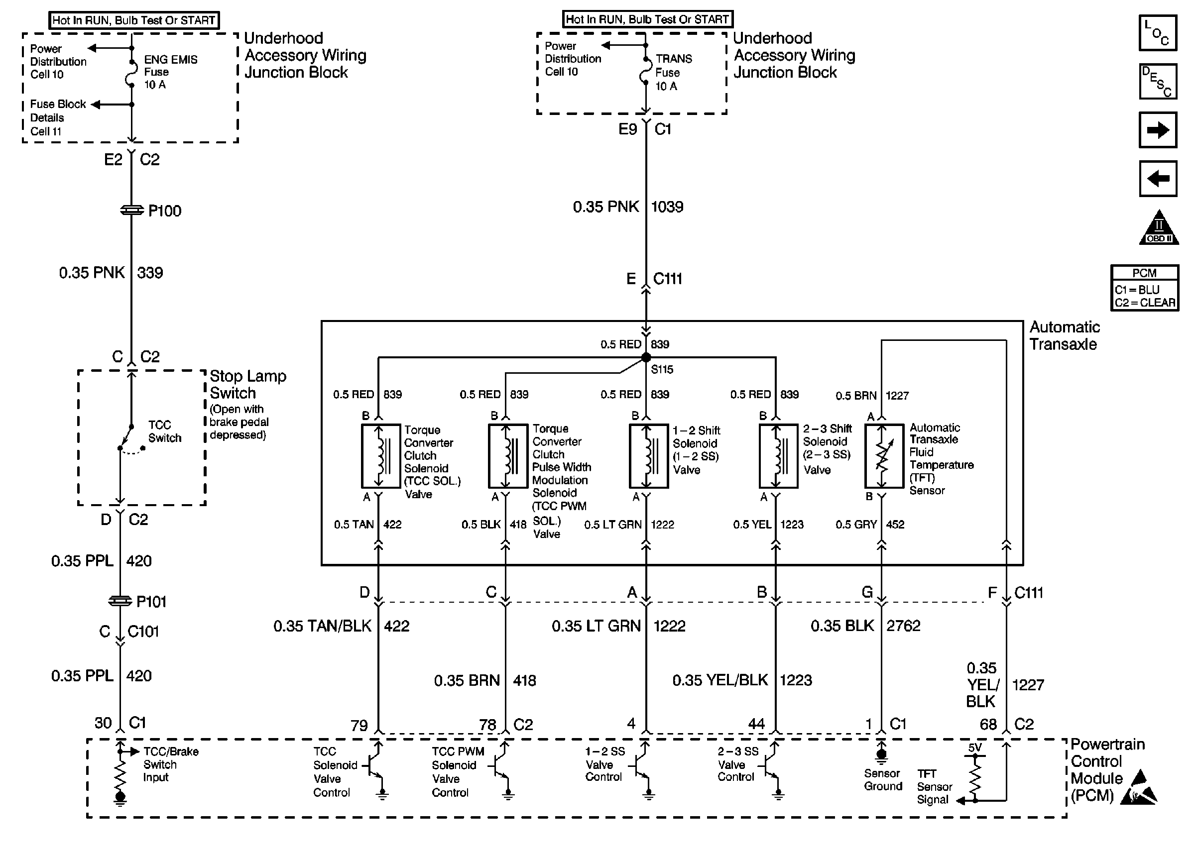
🢒 Cell 39: Automatic Transaxle, TCC Switch
Cell 39: Automatic Transaxle, TCC Switch
Cell 39: Automatic Transaxle, TCC Switch
Cell 39: TR Switch Part 1
OBDII Symbol Description Notice
Cell 39: VSS, Cruise
Handling Electrostatic Discharge Sensitive Parts Notice
Cell 10: Underhood Accessory Wiring Junction Block
Cell 11: ENG EMIS Fuse
Cell 10: Underhood Accessory Wiring Junction Block
Automatic Transmission Components
Electronic Component Description