GM Service Manual Online
For 1990-2009 cars only
Makes
🢒
Buick
🢒
2002
🢒
Regal
🢒 Power, Ground, and DLC
Power, Ground, and DLC
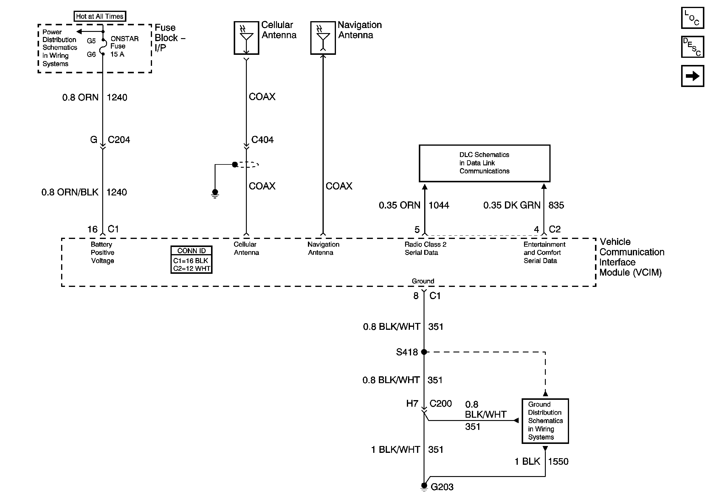
Power, Grounds, DLC, and Antennas
Master Electrical Component List
OnStar Description and Operation
Inputs and Outputs
Battery 3 (Regal)
Data Link Connector (DLC)
G203 (Page 2 of 2)