GM Service Manual Online
For 1990-2009 cars only
Makes
🢒
Buick
🢒
2003
🢒
Regal
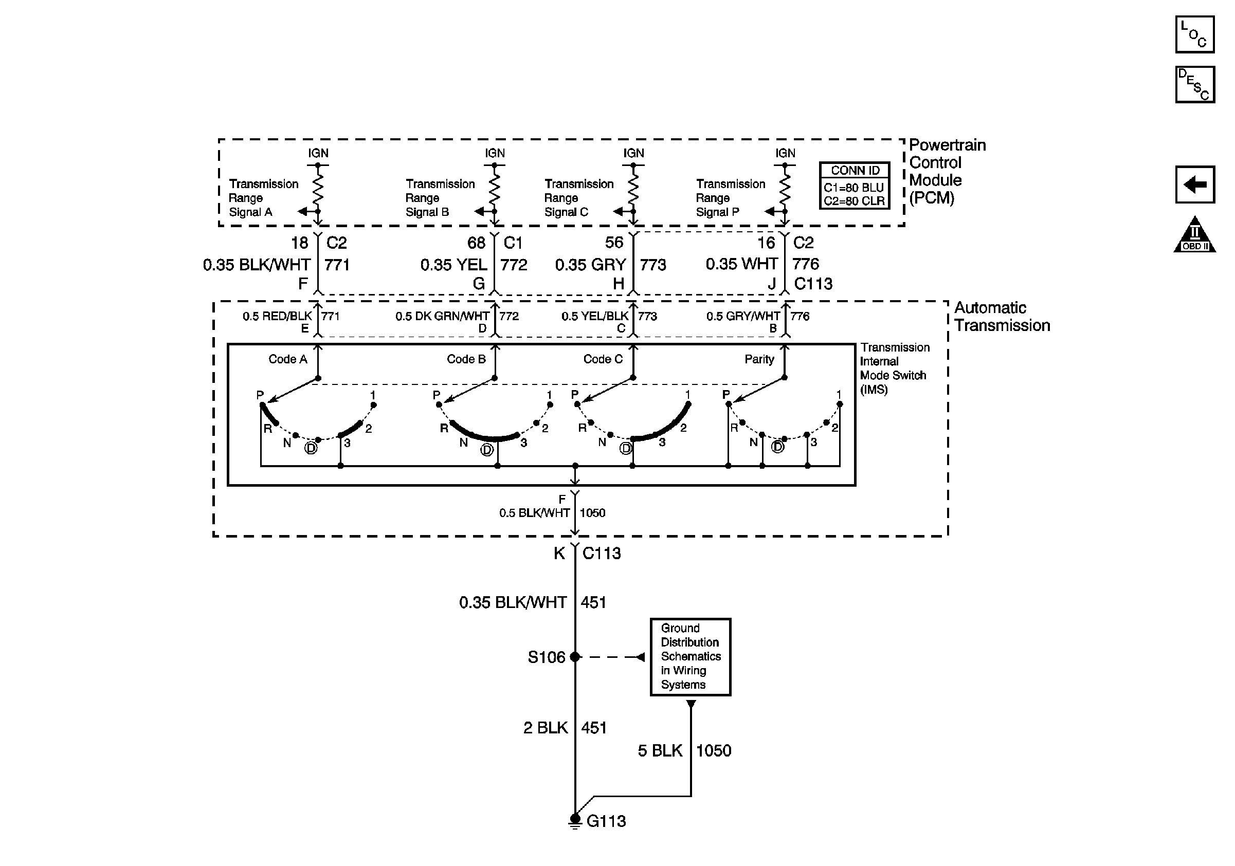
🢒 Internal Mode Switch (IMS)
Internal Mode Switch (IMS)
Internal Mode Switch (IMS)
Master Electrical Component List
Transmission Component and System Description
Fluid Pressure Manual Valve Position Switch, ISS Sensor, and VSS
OBD II Symbol Description Notice
G100, G113, and G171