GM Service Manual Online
For 1990-2009 cars only
Makes
🢒
Buick
🢒
2004
🢒
Regal
🢒
Steering
🢒
Steering Wheel and Column
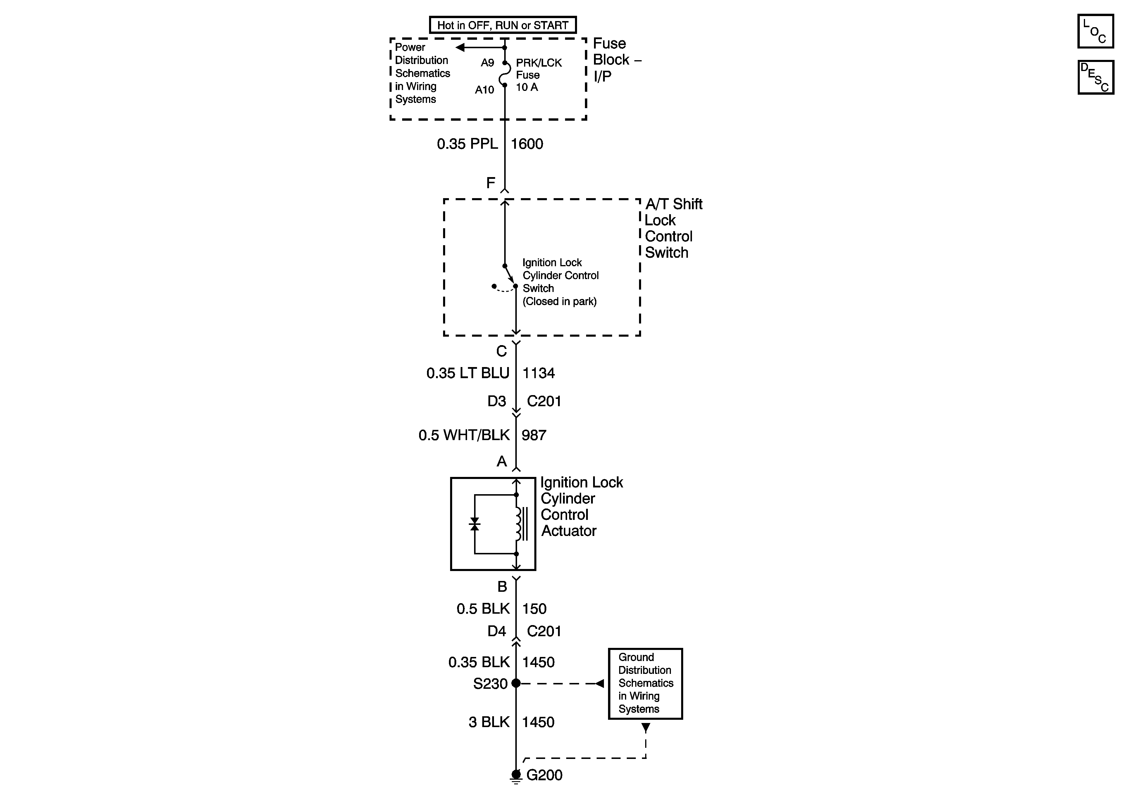
🢒 Column/Ignition Lock Schematics
Master Electrical Component List
Steering Wheel and Column Description and Operation
Fuse Block - I/P CRNK SIG, BCM, CLSTR, IGN0:CLSTR, PCM, BCM, and PRK/LCK Fuses
G200, Page 1 of 2