GM Service Manual Online
For 1990-2009 cars only

Object Number: 2018805  Size: MF

Callout

Component Name

Preliminary Procedure

  1. Raise and support the vehicle. Refer to Lifting and Jacking the Vehicle.
  2. Remove the tire and wheel assembly. Refer to Tire and Wheel Removal and Installation.
  3. Remove the front brake rotor. Refer to Front Brake Rotor Replacement.
  4. Loosen the wheel drive shaft from the wheel bearing/hub. Refer to LINK.

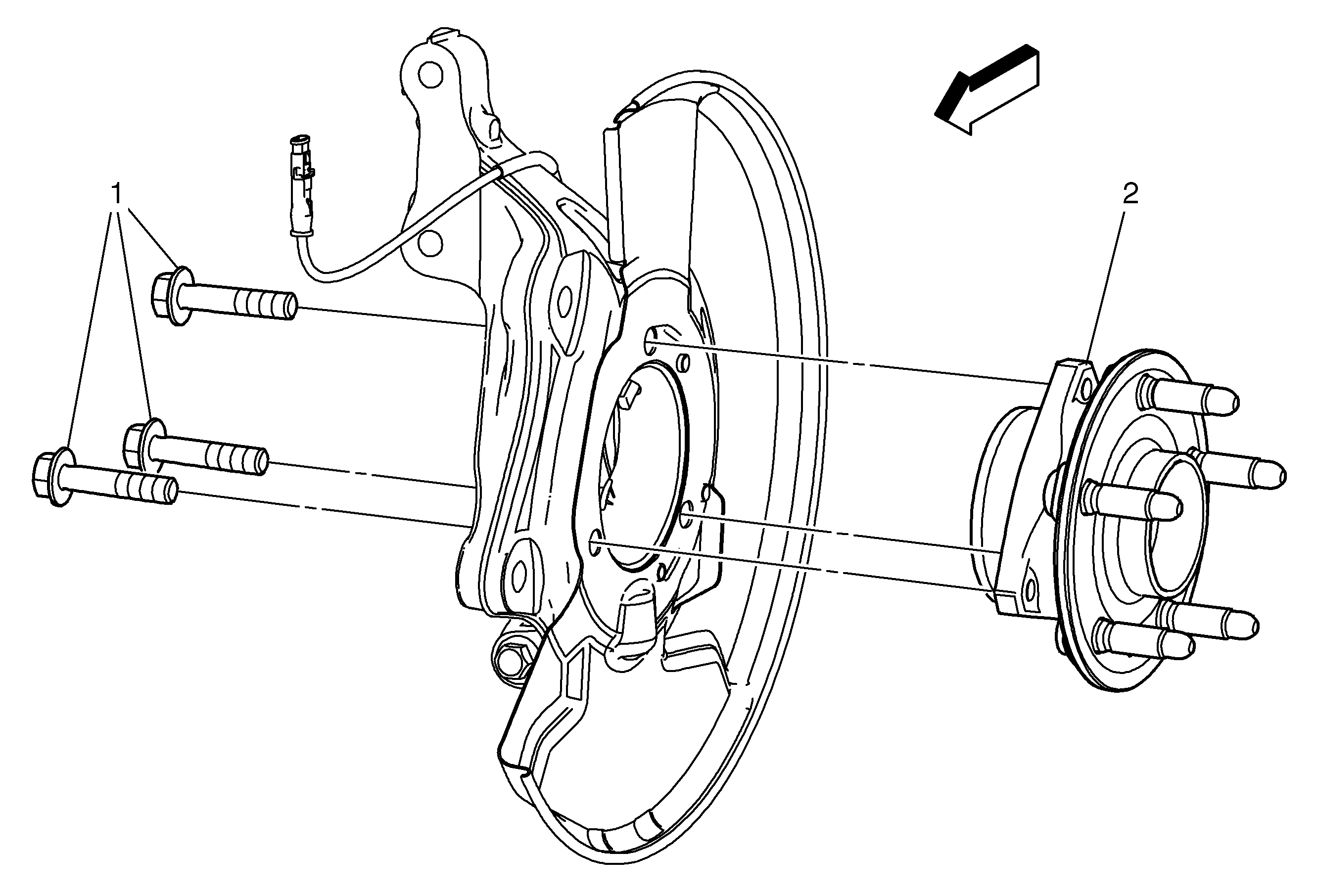
1

Wheel Hub Mounting Fastener (Qty: 3)

Caution: Refer to Fastener Caution in the Preface section.

Procedure

Install NEW fasteners.

Tighten
100 N·m(74 lb ft) + 75 degrees

2

Front Wheel Bearing and Hub