GM Service Manual Online
For 1990-2009 cars only

Object Number: 2156473  Size: MF

Callout

Component Name

Preliminary Procedure

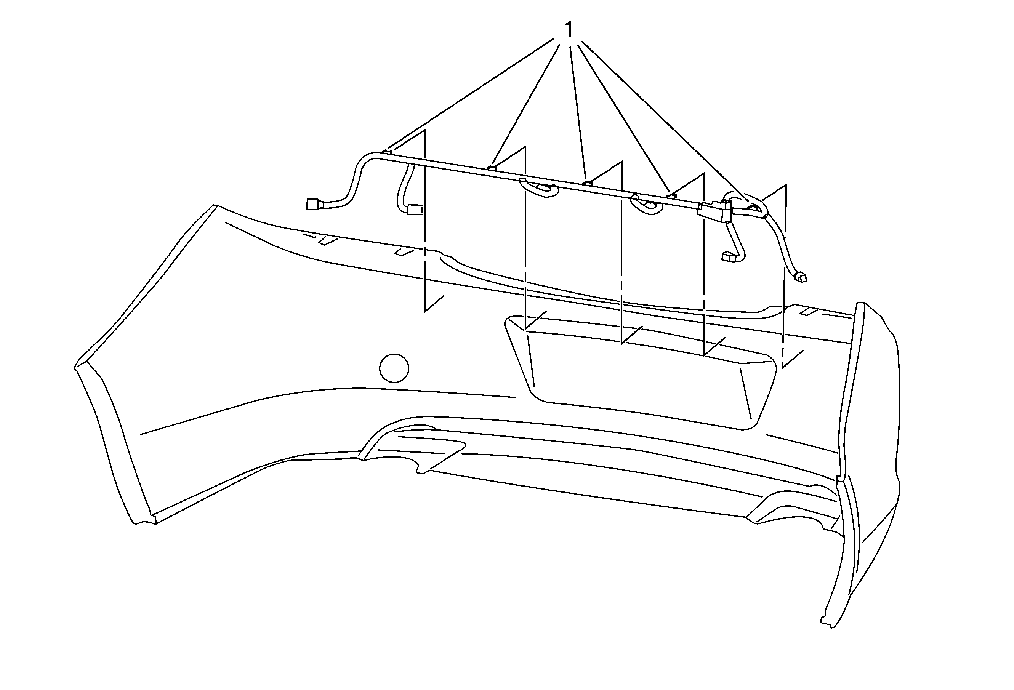
Remove the rear bumper fascia.

1

Rear Object Sensor Wiring Harness Retainer (Qty: 5)

2

Rear Object Sensor Wiring Harness

Procedure

Disconnect the rear object sensor wiring harness electrical connector from the rear object sensors.