GM Service Manual Online
For 1990-2009 cars only

Control Assembly Description C60


Object Number: 476826  Size: SF

With this system, you can control the heating, cooling and ventilation in the vehicle. The system works best if you keep your windows closed while using it.

Fan Control (1)

The left knob controls the fan speed selection. To turn the fan off, turn the knob the (O) position.

Temperature Control (2)

The center knob changes the temperature of the air coming thorough the system. Turn this knob toward red area (to the right) for warmer air. Turn it toward blue area (to the left) for cooler air.

Mode Control (3)

The right knob has five setting to control the direction of airflow:

VENT: This setting brings in outside air and directs it through the instrument panel outlets.

BI-LEVEL: This setting brings in outside air and directs it two ways. Half of the air is directed through the instrument panel outlets. Most of the remaining air is directed through the floor ducts and a little to the defrost an side window vents. The air condition compressor will run automatically in this setting unless the outside temperature is below 4°C (40°F).

FLOOR: This setting sends most of the air through the ducts near the floor and the rest to the defroster and side window vents.

DEFOG: This setting allows half of the air to go to the floor ducts and half to the front defroster and side window vents. The air conditioning compressor will run automatically in this setting unless the outside temperature is below 4°C (40°F).

FRONT DEFROST: This setting directs most of the air through the defroster and side window vents. Some of the air also goes to the floor ducts. The air conditioning compressor will run automatically in this setting unless the outside temperature is below 4°C (40°F).

Rear Defrost (4)

The rear window defroster uses a warming grid to defrost and defog the rear window. Press the button to turn the rear defrost on. The indicator on the button will light and operate the system for about ten minutes. Press the button again and the rear defroster will operate the system for about five minutes.

A/C Button (5)

This button turns on the A/C compressor. The air conditioning compressor will run automatically in this setting unless the outside temperature is below 4°C (40°F).

Recirculation Button (6)

This button recirculates much of the air inside the vehicle. If the mode control is set to Defog or Front Defrost the recirculation button will not be allowed to activate.

Outside Air Button (7)

This button brings outside filtered air into the vehicle.

Control Assembly Description CJ4 Front


Object Number: 476828  Size: SF

With this system, the driver and the rear passenger(s) can maintain separate temperatures and mode settings. The system works best if you keep your windows closed while using it.

I (On) Button (1)

This button turns on the system.

Fan Control (2)

The fan control switch controls the fan speed selection. Pressing the up arrow increases the fan speed and the down arrow decreases the fan speed.

Mode Control (3)

The switch has four setting to control the direction of airflow:

VENT: This setting brings in outside air and directs it through the instrument panel outlets.

BI-LEVEL: This setting brings in outside air and directs it two ways. Half of the air is directed through the instrument panel outlets. Most of the remaining air is directed through the floor ducts and a little to the defrost an side window vents. The air condition compressor will run automatically in this setting unless the outside temperature is below 4°C (40°F).

FLOOR: This setting sends most of the air through the ducts near the floor and the rest to the defroster and side window vents.

DEFOG: This setting allows half of the air to go to the floor ducts and half to the front defroster and side window vents. The air conditioning compressor will run automatically in this setting unless the outside temperature is below 4°C (40°F).

Front Defrost (4)

This button directs most of the air through the defroster outlets. Some of the air also goes to the floor ducts and side window defogger outlets. The indicator on the button will light and the symbol will show on the display. The air conditioning compressor will run automatically in this setting unless the outside temperature is below 4°C (40°F).

Rear Defrost (5)

The rear window defroster uses a warming grid to defrost and defog the rear window. Press the button to turn the rear defrost on. The indicator on the button will light and operate the system for about ten minutes. Press the button again and the rear defroster will operate the system for about five minutes.

A/C Button (6)

This button turns on the air conditioning compressor. If the outside temperature is below 4°C (40°F), the compressor will not turn on and the indicator will flash three times to inform you of this.

Temperature Control (7)

The lever changes the temperature of the air coming thorough the system. Slide the lever toward red area (to the right) for warmer air. Slide the lever towards blue area (to the left) for cooler air.

Recirculation Button (8)

This button recirculates much of the air inside the vehicle. If the FRONT mode control is set to Defog or Front Defrost the recirculation button will not be allowed to activate and the indicator light on the button will FLASH three times to inform you of this.

O (Off) Button (9)

This button turns the system off.

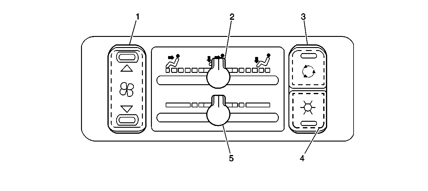
Control Assembly Description CJ4 Rear


Object Number: 476829  Size: SF

With this system, the driver and the rear passenger(s) can maintain separate temperatures and mode settings. The system works best if you keep your windows closed while using it. Pressing a button on the rear control when the front control is off will turn on the system.

Fan Control (1)

The fan control switch controls the fan speed selection. Pressing the up arrow increases the fan speed and the down arrow decreases the fan speed.

Mode Control (2)

The lever has three setting to control the direction of airflow:

VENT: This setting sends air through the upper console outlets.

BI-LEVEL: This setting directs air two ways. Half of the air is directed through the upper console outlets. The remaining air is directed through the floor outlets.

FLOOR: This setting sends the air through the ducts to the floor outlets.

Recirculation Button (3)

This button recirculates much of the air inside the vehicle. If the FRONT mode control is set to Defog or Front Defrost the recirculation button will not be allowed to activate and the indicator light on the button will FLASH three times to inform you of this.

A/C Button (4)

This button turns on the air conditioning compressor. If the outside temperature is below 4°C (40°F), the compressor will not turn on and the indicator will flash three times to inform you of this.

Temperature Control (5)

The lever adjusts the air temperature for the rear seat occupants independent of the temperature setting of the front temperature control. Slide the lever toward red area (to the right) for warmer air. Slide the lever toward blue area (to the left) for cooler air.