GM Service Manual Online
For 1990-2009 cars only
Makes
🢒
Buick
🢒
2000
🢒
Regal (China)
🢒 Serial Data
Serial Data
Serial Data
Instrument Panel, Gages, and Console Component Views
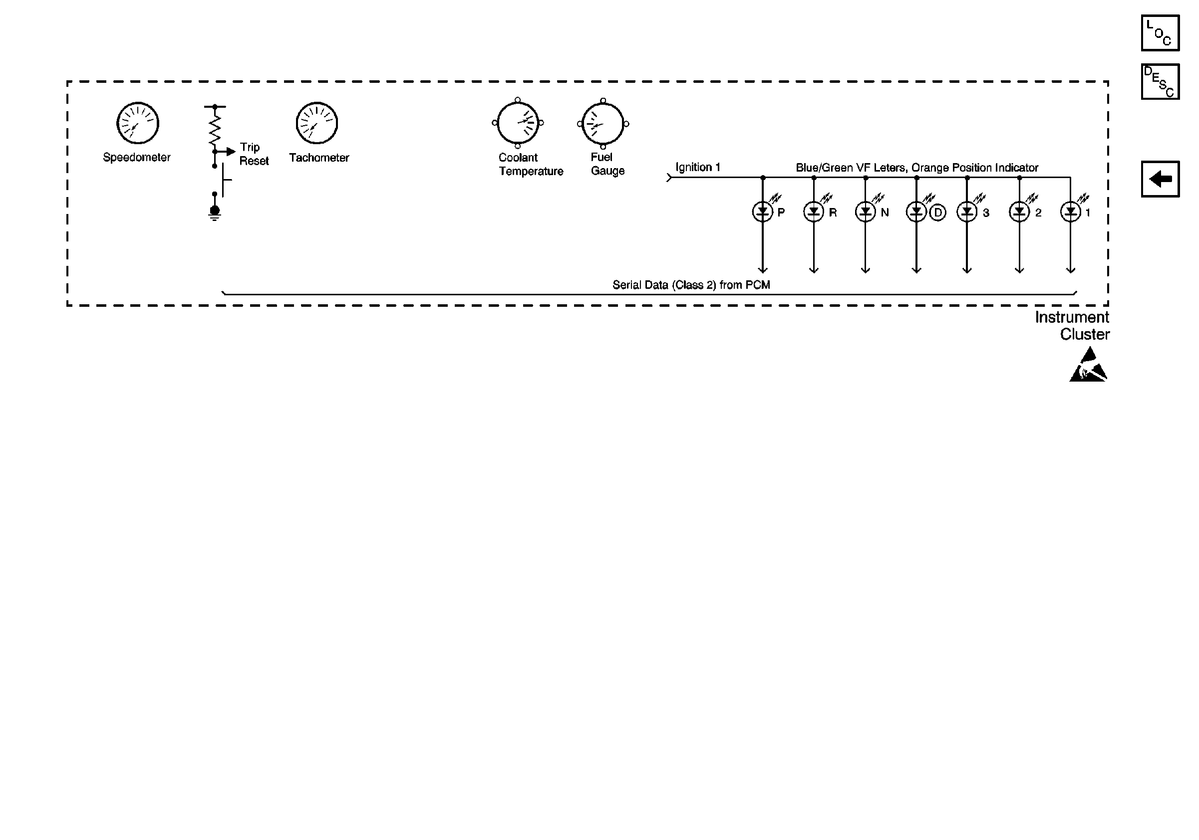
Instrument Cluster Circuit Description
Brake Fluid Level Switch
Handling ESD Sensitive Parts Notice