GM Service Manual Online
For 1990-2009 cars only

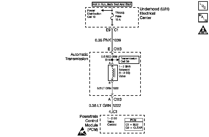
Object Number: 451059  Size: MF
Automatic Transmission Components
Automatic Transmission Controls Schematics
OBD II Symbol Description Notice
Handling ESD Sensitive Parts Notice

Circuit Description

The 1-2, 3-4 shift solenoid (1-2, 3-4 SS) valve controls transmission fluid pressure acting on the 1-2 and 3-4 shift valves to position the valves for the appropriate gear. The 1-2, 3-4 SS valve is a normally-open exhaust valve located on the control valve body. A fused circuit supplies ignition voltage to the 1-2, 3-4 SS valve. The output driver module, within the PCM, commands the solenoid ON or OFF by providing a ground path through circuit 1222. When the 1-2, 3-4 SS valve is commanded ON, the PCM senses low voltage. When the 1-2, 3-4 SS valve is commanded OFF, the PCM senses high voltage.

If the PCM detects a continuous open or a short to ground in circuit 1222 or the 1-2, 3-4 SS valve, then DTC P0753 sets. DTC P0753 is a type D DTC.

Conditions for Running the DTC

    • The system voltage is 9-18 volts.
    • The engine speed is greater than 500 RPM for 5 seconds and not in fuel shut off.

Conditions for Setting the DTC

DTC P0753 sets when either of the following conditions occurs for 5 seconds:

    • The PCM commands the solenoid ON and voltage remains high (B+).
    • The PCM commands the solenoid OFF, and the voltage remains low (0 volts).

Action Taken When the DTC Sets

    • The PCM does not illuminate the malfunction indicator lamp (MIL).
    • The PCM commands maximum line pressure.
    • The PCM freezes shift adapts.
    • The PCM inhibits 3-2 downshifts when the vehicle speed is greater than 48 km/h (30 mph).
    • The PCM stores DTC P0753 in PCM history.

Conditions for Clearing the DTC

    • A scan tool clears the DTC from the PCM history.
    • The PCM clears the DTC from the PCM history if the vehicle completes 40 consecutive warm-up cycles without a diagnostic fault occurring.
    • The PCM cancels the DTC default actions when the fault no longer exists and the ignition switch is OFF long enough in order to power down the PCM.

Diagnostic Aids

    • Inspect the wiring at the PCM, the transmission 20-way connector, the 1-2, 3-4 SS valve connector and all other circuit connecting points for the following conditions:
       - A backed out terminal
       - A damaged terminal
       - Reduced terminal tension
       - A chafed wire
       - A broken wire inside the insulation
       - Moisture intrusion
       - Corrosion
    • When diagnosing for an intermittent short or open, massage the wiring harness while watching the test equipment for a change.
    • Ensure that the scan tool commanded gear has correct solenoid states and ratio.
        Refer to the Shift Solenoid Valve State and Gear Ratio table.

Test Description

The numbers below refer to the step numbers on the diagnostic table.

  1. This step isolates the fault between the engine harness and the transmission harness.

  2. This step verifies that circuit 1222 is neither open nor shorted to power.

  3. This step verifies that the 1-2, 3-4 shift solenoid (SS) valve has neither shorted across its windings nor increased its resistance.

  4. Because of the harsh conditions inside the transmission, repairing the automatic transmission (A/T) wiring harness assembly is not acceptable. You must replace the A/T wiring harness assembly.

DTC P0753 1-2, 3-4 Shift Solenoid Circuit -- Electrical

Step

Action

Value(s)

Yes

No

1

Was the Powertrain On-Board Diagnostic (OBD) System Check performed?

--

Go to Step 2

Go to Powertrain On Board Diagnostic (OBD) System Check in Engine Controls

2

  1. Install the Scan Tool .
  2. With the engine OFF, turn the ignition switch to the RUN position.
  3. Important: Before clearing the DTCs, use the Scan Tool in order to record the Freeze Frame and Failure Records for reference. Using the Clear Info function will erase the stored Freeze Frame and Failure Records from the PCM.

  4. Record the Freeze Frame and Failure Records, then clear the DTCs.

Are DTCs P0758 or P1860 set?

--

Go to Step 3

Go to Step 6

3

  1. Remove the TRANS fuse.
  2. Inspect the fuse for an open.
  3. Replace the fuse if necessary.

Was a condition found?

--

Go to Step 4

Go to Step 5

4

    Important: The condition that affects this circuit may exist in other connecting branches of the circuit. Refer to Power Distribution Schematics in Wiring Systems for complete circuit distribution.

  1. Inspect engine wiring harness circuit 1039 for a short to ground, short to circuit 1222 or other grounds in the harness.
  2. Repair the engine wiring harness if necessary.
  3. Refer to Wiring Repairs in Wiring Systems.

  4. Inspect transmission wiring harness circuit 839 for a short to ground, short to circuit 1222 or other grounds in the harness.
  5. Replace the transmission wiring harness if necessary.
  6. Refer to Solenoids and Wiring Harness Replacement .

Is the repair complete?

--

Go to Step 19

--

5

  1. Inspect the engine wiring harness circuit 1039 for an open.
  2. Repair the engine wiring harness if necessary.
  3. Refer to Wiring Repairs in Wiring Systems.

  4. Inspect the transmission wiring harness circuit 839 for an open.
  5. Replace the transmission wiring harness if necessary.
  6. Refer to Solenoids and Wiring Harness Replacement .

Is the repair complete?

--

Go to Step 19

--

6

  1. Turn the ignition switch OFF.
  2. Disconnect the transmission 20-way connector.
  3. Connect the J 39775 jumper harness to the engine harness connector.
  4. Connect a test lamp from terminal E to terminal A of the J 39775 jumper harness.
  5. Refer to Automatic Transmission Inline Harness Connector End View .

    Important: Additional DTCs will set.

  6. With the engine OFF, turn the ignition ON.

Is the test lamp ON?

--

Go to Step 7

Go to Step 8

7

Inspect circuit 1222 (LT GRN) of the engine harness for a short to ground.

Refer to General Electrical Diagnosis in Wiring Systems.

Was a condition found?

--

Go to Step 18

Go to Step 16

8

Using the Scan Tool , cycle the 1-2, 3-4 solenoid ON and OFF three times.

Does the test lamp cycle ON and OFF as commanded?

--

Go to Step 10

Go to Step 9

9

Inspect circuit 1222 (LT GRN) of the engine harness for an open or a short to power.

Refer to General Electrical Diagnosis in Wiring Systems.

Was a condition found?

--

Go to Step 18

Go to Step 16

10

  1. Turn the ignition OFF.
  2. Disconnect the J 39775 jumper harness from the engine harness.
  3. Connect the J 39775 jumper harness to the transmission 20-way connector.
  4. Connect a J 39200 digital multimeter (DMM), set to measure ohms, from terminal E to terminal A of the J 39775 jumper harness.
  5. Refer to Automatic Transmission Inline Harness Connector End View .

Is the measured resistance within the specified range?

19-24 ohms at 20°C (68°F)

24-31 ohms at 88°C (190°F)

Go to Step 13

Go to Step 11

11

Is the resistance greater than the specified value?

100 ohms

Go to Step 12

Go to Step 14

12

  1. Inspect A/T wiring harness circuit 839 (RED) for an open or a poor connection.
  2. Inspect A/T wiring harness circuit 1222 (LT GRN) for an open or a poor connection.

Refer to General Electrical Diagnosis in Wiring Systems.

Was a condition found?

--

Go to Step 17

Go to Step 15

13

Connect the J 39200 DMM from terminal A of the J 39775 jumper harness to ground.

Is the resistance less than the specified value?

100 ohms

Go to Step 14

Go to Diagnostic Aids

14

Inspect A/T wiring harness assembly circuit 1222 (LT GRN) for a short to ground or short to circuit 839 (RED).

Refer to General Electrical Diagnosis in Wiring Systems.

Was a condition found?

--

Go to Step 17

Go to Step 15

15

Replace the 1-2, 3-4 SS valve.

Refer to 1-2 Shift Solenoid Valve Replacement .

Is the replacement complete?

--

Go to Step 19

--

16

Replace the PCM.

Refer to Powertrain Control Module Replacement/Programming in Engine Controls.

Is the replacement complete?

--

Go to Step 19

--

17

Replace the Automatic Transmission Wiring Harness Assembly.

Refer to Solenoids and Wiring Harness Replacement .

Is the replacement complete?

--

Go to Step 19

--

18

Repair the wiring as necessary.

Refer to Wiring Repairs in Wiring Systems.

Is the repair complete?

--

Go to Step 19

--

19

Perform the following procedure in order to verify the repair:

  1. Select DTC.
  2. Select Clear Info, then clear the DTCs.
  3. Road test the vehicle in D4.
  4. Monitor 1-2 SS and 1-2 SS open/short to ground on the Scan Tool . Ensure that the 1-2, 3-4 SS valve changes from ON to OFF when the transmission shifts from first gear to second gear and that no open or short to ground exists for at least 5 seconds.
  5. Select Specific DTC.
  6. Enter DTC P0753.

Has the test run and passed?

--

System OK

Go to Step 1