GM Service Manual Online
For 1990-2009 cars only

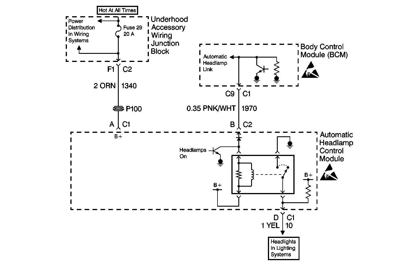
Object Number: 513424  Size: MF

Circuit Description

The BCM interfaces with the DRL control module through circuit 1970 to determine the ambient light operation mode. The BCM communicates this information to the instrument cluster through the Class II serial data link.

Conditions for Setting the DTC

The BCM detects a short to B+ in circuit 1970.

Action Taken When the DTC Sets

    • The BCM stores DTC B2603 in memory.
    • The BCM turns off its output to the DRL module.

Conditions for Clearing the DTC

    • When the ignition switch is turned from off to on, a current DTC B2603 is always cleared.
    • A history DTC will clear after 100 consecutive ignition cycles if the condition for the fault is no longer present.
    • Using a scan tool.

Diagnostic Aids

    • The BCM sets DTC B2603 as a current DTC only if the short to B+ occurs while the BCM is in the twilight sentinel mode.
    • Check fuses for a possible open fuse, indicating that the circuit(s) protected by such fuse is contacting circuit 1970.
    • The following conditions may cause an intermittent malfunction to occur:
       - An intermittent short to B+ in circuit 1970.
       - The BCM is shorted to B+ internally.
       - The DRL module is shorted to B+ internally.
    • If the DTC is a history DTC, the problem may be intermittent. Try performing the tests shown while wiggling wiring and connectors, this can often cause the malfunction to reappear.
    • DTC P1626 will set in the Powertrain Control Module (PCM) when the ignition switch is on with the Body Control Module (BCM) disconnected. When BCM diagnostics and repairs are completed, refer to Powertrain On Board Diagnostic (OBD) System Check

Test Description

The numbers below refer to the step numbers on the diagnostic table.

  1. This step checks for a short to B+ in circuit 1970.

  2. This step checks whether circuit 1970 has a short to B+ or the BCM is faulty.

  3. This step determines whether the malfunction is intermittent or the BCM is faulty.

Step

Action

Value(s)

Yes

No

1

Was the BCM Diagnostic System Check performed?

--

Go to Step 2

Go to Diagnostic System Check - Body Control System

2

  1. Disconnect the Automatic Headlamp Control Module connector C2.
  2. Turn the ignition switch on.
  3. Using a test light, connect between the Automatic Headlamp Control Module harness connector C2 terminal B and ground.

Is the test light on?

--

Go to Step 3

Go to Step 5

3

  1. Leave the test light in the same location.
  2. Turn the ignition switch off.
  3. Disconnect the Body Control Module (BCM) connectors.
  4. Turn the ignition switch on.

Is the test light on?

--

Go to Step 6

Go to Step 4

4

  1. Turn the ignition switch off.
  2. Reinstall connectors/components removed.
  3. Turn the ignition switch on.
  4. Clear BCM DTCs. Refer to Clearing DTCs for more information.
  5. Check for BCM DTCs. Refer to Diagnostic Trouble Code (DTC) Displaying .

Does DTC B2603 reset as a current DTC?

--

Go to Step 7

Go to Step 8

5

Replace the Automatic Headlamp Control Module. Refer to Daytime Running Lights (DRL) Control Module Replacement in Lighting Systems for service procedure.

Is the repair complete?

--

Go to Step 9

--

6

Repair short to B+ in circuit 1970.

Is the repair complete?

--

Go to Step 9

--

7

  1. Replace the BCM. Refer to Body Control Module Replacement for more information.
  2. After replacing the BCM, perform the Setup New BCM procedure. Refer to Body Control Module (BCM) Programming/RPO Configuration for more information.

Is the repair complete?

--

Go to Step 9

--

8

The malfunction is not present at this time. Refer to Diagnostic Aids for additional information regarding this DTC.

Is the repair complete?

--

Go to Step 9

--

9

  1. Turn the ignition switch off.
  2. Reinstall connectors/components removed.
  3. Turn the ignition switch on.
  4. Clear BCM DTCs. Refer to Clearing DTCs for more information.
  5. Check for BCM DTCs. Refer to Diagnostic Trouble Code (DTC) Displaying for more information.

Are there any BCM current DTCs set?

--

Go to Diagnostic System Check - Body Control System

System OK