GM Service Manual Online
For 1990-2009 cars only

DTC P0724 3.5L


Object Number: 1578797  Size: MF
Master Electrical Component List
Automatic Transmission Controls Schematics
OBD II Symbol Description Notice
Control Module References

Circuit Description

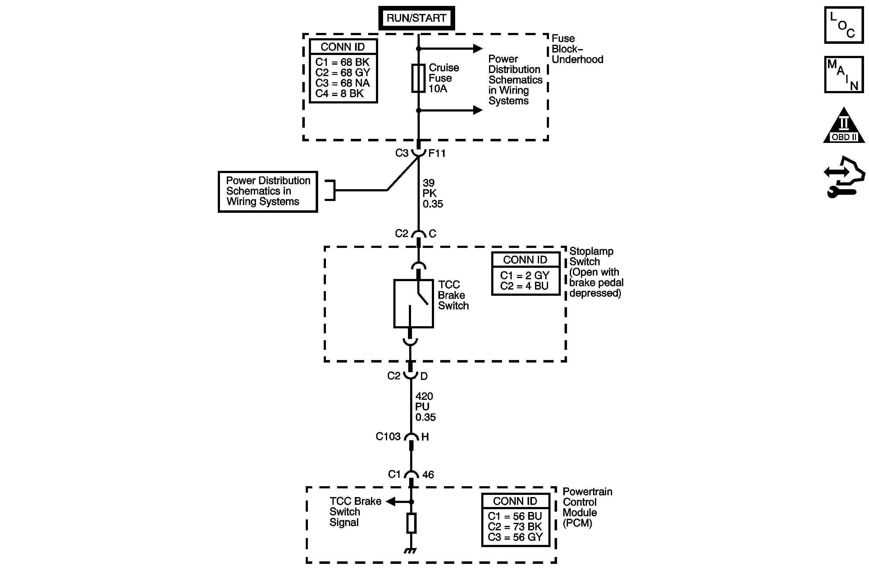
The torque converter clutch (TCC) brake switch indicates brake pedal status to the powertrain control module (PCM). The TCC brake switch indicates that the brake pedal is either applied or released. The normally-open switch supplies battery voltage to the PCM. Applying the brake pedal opens the TCC brake switch, interrupting voltage to the PCM. When the PCM receives 0 volts at the TCC brake switch input, the PCM turns OFF the torque converter clutch pulse width modulation (TCC PWM) solenoid valve.

If the PCM detects a closed TCC brake switch, indicating pedal released, during a number of decelerations, then DTC P0724 sets. DTC P0724 is a type C DTC.

DTC Descriptor

This diagnostic procedure supports the following DTC:

DTC P0724 Brake Switch Circuit High Voltage

Conditions for Running the DTC

    • No VSS DTC P0502 or P0503.
    • DTC P0724 has not passed this ignition cycle.

Conditions for Setting the DTC

The TCC brake switch indicates continuously CLOSED (12 volts) while the following conditions occur 8 times consecutively:

    • The vehicle speed is greater than 32 km/h (20 mph) for 6 seconds;
    • Then the vehicle speed is between 8-32 km/h (5-20 mph) for 3 seconds.
    • Finally, the vehicle speed is less than 8 km/h (5 mph).

Action Taken When the DTC Sets

    • The PCM does not illuminate the malfunction indicator lamp (MIL).
    • The PCM records the operating conditions when the Conditions for Setting the DTC are met. The PCM stores this information as Failure Records.
    • The PCM stores DTC P0724 in PCM history.

Conditions for Clearing the DTC

    • A scan tool can clear the DTC.
    • The PCM clears the DTC from PCM history if the vehicle completes 40 warm-up cycles without a non-emission related diagnostic fault occurring.
    • The PCM cancels the DTC default actions when the fault no longer exists and the DTC passes.

Test Description

The number below refers to the step number on the diagnostic table.

  1. If the scan tool indicates Closed in Step 2, and Open when the TCC brake switch is disconnected, the switch is stuck closed.

Step

Action

Value(s)

Yes

No

1

Did you perform the Diagnostic System Check - Vehicle?

--

Go to Step 2

Go to Diagnostic System Check - Vehicle

2

  1. Install a scan tool.
  2. Turn ON the ignition with the engine OFF.
  3. Important: Before clearing the DTCs, use the scan tool in order to record the Failure Records for reference. Using the Clear DTC Information function will erase the stored Failure Records from the PCM.

  4. Record the Failure Records.
  5. Clear the DTCs.
  6. With the scan tool, observe the TCC Brake Switch parameter.
  7. Apply the brake pedal.

Does the scan tool display Open?

--

Go to Testing for Intermittent Conditions and Poor Connections

Go to Step 3

3

    Caution: Refer to SIR Caution in the Preface section.

  1. Turn OFF the ignition.
  2. Disconnect the TCC brake switch 4-way connector.
  3. Turn ON the ignition with the engine OFF.
  4. With the scan tool, observe the TCC Brake Switch parameter.

Does the scan tool display Open?

--

Go to Step 5

Go to Step 4

4

Test the signal circuit of the TCC brake switch for a short to voltage between the PCM and the TCC brake switch.

Refer to Testing for a Short to Voltage and Wiring Repairs .

Did you find and correct the condition?

--

Go to Step 7

Go to Step 6

5

Replace the TCC brake switch.

Refer to Stop Lamp Switch Replacement .

Did you complete the replacement?

--

Go to Step 7

--

6

Replace the PCM.

Refer to Control Module References for replacement, setup and programming.

Did you complete the replacement?

--

Go to Step 7

--

7

Perform the following procedure in order to verify the repair:

  1. Select DTC.
  2. Select Clear DTC Information.
  3. Turn ON the ignition with the engine OFF.
  4. Apply the brake pedal. The TCC brake switch must be Open for more than 2 seconds.
  5. Select Specific DTC.
  6. Enter DTC P0724.

Has the test run and passed?

--

Go to Step 8

Go to Step 2

8

With a scan tool, observe the stored information, capture info and DTC info.

Does the scan tool display any DTCs that you have not diagnosed?

--

Go to Diagnostic Trouble Code (DTC) List - Vehicle

System OK