GM Service Manual Online
For 1990-2009 cars only

DTC P0748 3.5L


Object Number: 1578801  Size: MF
Master Electrical Component List
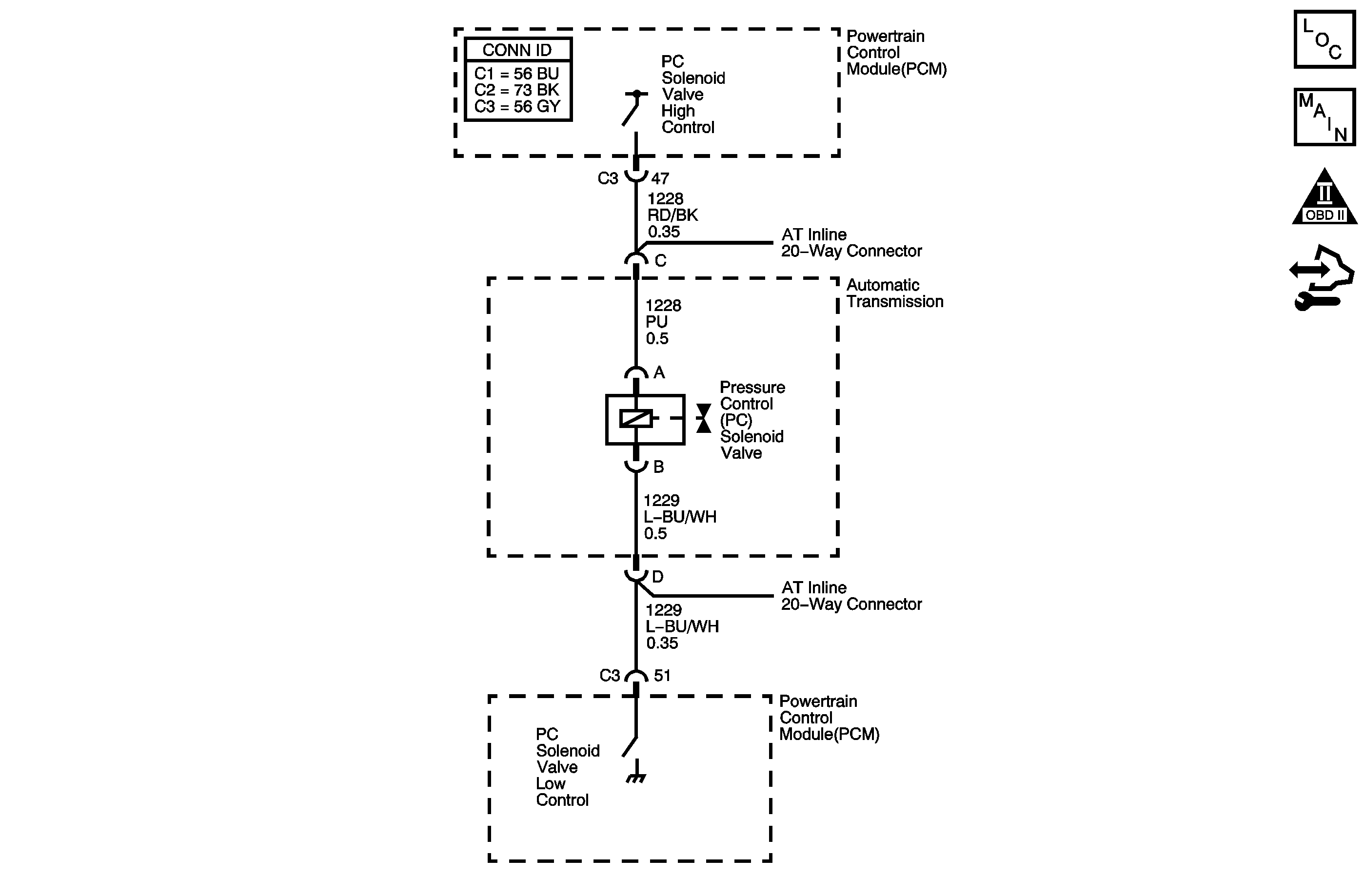
Automatic Transmission Controls Schematics
OBD II Symbol Description Notice
Control Module References

Circuit Description

The pressure control (PC) solenoid valve is located in the valve body. The PC solenoid valve controls transmission line pressure based on current flow through its windings. The PCM determines desired line pressure based on throttle position and other inputs. The PCM then varies the duty cycle on the high side of the PC solenoid valve to control current flow to the solenoid. Current is controlled from about 0.02 amps for maximum line pressure to 1.1 amps for minimum line pressure. The PCM monitors the actual current to the solenoid.

If the PCM detects a commanded current draw that differs from the actual current draw by more than a calibrated value, then DTC P0748 sets. DTC P0748 is a type C DTC.

DTC Descriptor

This diagnostic procedure supports the following DTC:

DTC P0748 Pressure Control (PC) Solenoid Control Circuit

Conditions for Running the DTC

    • The PC solenoid valve is enabled.
    • The system voltage is:
       - Greater than 10.5 volts at a low transmission fluid temperature of -40°C (-40°F).
       - Greater than 12.5 volts at a high transmission fluid temperature of 151°C (304°F).

Conditions for Setting the DTC

DTC P0748 sets when the duty cycle is outside the range of 0.5-95 percent for 0.2 second.

Action Taken When the DTC Sets

    • The PCM does not illuminate the malfunction indicator lamp (MIL).
    • The PCM enters PC solenoid valve diagnostic retest mode. The retest mode conducts the following diagnostic routine:
        1. The PCM de-energizes the PC solenoid valve, resulting in maximum line pressure.
        2. After being de-energized for 2 seconds, the PCM commands the PC solenoid valve ON at 0.1 amp for the retest period of 5 seconds.
   • If no circuit faults are detected during the 5 second retest period, then the PC solenoid valve is returned to normal operation and DTC P0748 diagnostic is passed.
   • If a circuit fault is detected during the 5 second retest period, then the PCM de-energizes the PC solenoid valve for 2 seconds before reentering the retest mode.
   • If a circuit fault is detected 5 times in retest mode without returning to normal operation, then the PC solenoid valve is de-energized for the remainder of that ignition cycle.
   • If a circuit fault is detected 3 times during normal operation, then the PCM de-energizes the PC solenoid valve for the remainder of that ignition cycle.
    • The PCM freezes transmission adaptive functions.
    • The PCM records the operating conditions when the Conditions for Setting the DTC are met. The PCM stores this information as Failure Records.
    • The PCM stores DTC P0748 in PCM history.

Conditions for Clearing the DTC

    • A scan tool can clear the DTC.
    • The PCM clears the DTC from PCM history if the vehicle completes 40 warm-up cycles without a non-emission-related diagnostic fault occurring.
    • The PCM cancels the DTC default actions when the fault no longer exists and the DTC passes.

Test Description

The numbers below refer to the step numbers on the diagnostic table.

  1. This step verifies that the fault is present.

  2. This step tests the transmission wiring harness and the PC solenoid valve for correct resistance.

  3. This step begins diagnosis of the engine side of the circuit.

Step

Action

Value(s)

Yes

No

1

Did you perform the Diagnostic System Check - Vehicle?

--

Go to Step 2

Go to Diagnostic System Check - Vehicle

2

  1. Install a scan tool.
  2. Start the engine.
  3. Important: Before clearing the DTCs, use the scan tool in order to record the Failure Records for reference. Using the Clear DTC Information function will erase the stored Failure Records from the PCM.

  4. Record the Failure Records.
  5. Clear the DTCs.
  6. With the scan tool, command several values of solenoid reference current from 0.1 amp through 1.1 amp and observe the scan tool display.

Does the PC Sol. Actual Current reading vary from the PC Sol. Ref. Current reading by more than the specified amount?

0.16 amp

Go to Step 3

Go to Testing for Intermittent Conditions and Poor Connections

3

  1. Turn OFF the ignition.
  2. Disconnect the transmission 20-way connector, additional DTCs may set.
  3. Connect the J 44152 jumper harness to the transmission side of the 20-way connector.
  4. Using the J 35616 GM terminal test kit, connect a DMM between the PC solenoid valve high control and low control circuits of the J 44152 .
  5. Refer to Automatic Transmission Inline 20-Way Connector End View .

  6. Measure the resistance.

Does the resistance measure within the specified range?

3-7 ohms

Go to Step 7

Go to Step 4

4

Is the resistance greater than the specified value?

7 ohms

Go to Step 5

Go to Step 6

5

  1. Test the high control circuit of the PC solenoid valve for an open between the AT inline 20-way connector and the PC solenoid valve.
  2. Test the low control circuit of the PC solenoid valve for an open between the AT inline 20-way connector and the PC solenoid valve.

Refer to Testing for Continuity .

Did you find the condition?

--

Go to Step 15

Go to Step 14

6

Test the high control circuit and the low control circuit of the PC solenoid valve for a short together between the AT inline 20-way connector and the PC solenoid valve.

Refer to Circuit Testing .

Did you find the condition?

--

Go to Step 15

Go to Step 14

7

  1. Test the high control circuit of the PC solenoid valve for a short to the transmission case between the AT inline 20-way connector and the PC solenoid valve.
  2. Test the high control circuit of the PC solenoid valve for a short to other power and ground circuits in the transmission harness. Test from the PC solenoid valve high control circuit to all other terminals in the transmission 20-way connector.

Refer to:

    •  Circuit Testing

Did you find the condition?

--

Go to Step 15

Go to Step 8

8

  1. Test the low control circuit of the PC solenoid valve for a short to the transmission case between the AT inline 20-way connector and the PC solenoid valve.
  2. Test the low control circuit of the PC solenoid valve for a short to other power and ground circuits in the transmission harness. Test from the PC solenoid valve low control circuit to all other terminals in the transmission 20-way connector.

Refer to:

    •  Circuit Testing

Did you find the condition?

--

Go to Step 15

Go to Step 9

9

  1. Disconnect the J 44152 from the transmission side of the 20-way connector.
  2. Reconnect the 20-way connector.
  3. Disconnect the PCM connector C3.
  4. Using the DMM, measure the resistance of the PC solenoid valve high control and low control circuits of the PCM connector.

Does the resistance measure within the specified range?

3-7 ohms

Go to Step 13

Go to Step 10

10

Does the resistance measure greater than the specified value?

7 ohms

Go to Step 11

Go to Step 12

11

  1. Test the high control circuit of the PC solenoid valve for an open between the PCM and the AT inline 20-way connector.
  2. Test the low control circuit of the PC solenoid valve for an open between the PCM and the AT inline 20-way connector.

Refer to Testing for Continuity and Wiring Repairs .

Did you find and correct the condition?

--

Go to Step 17

--

12

Test the high control circuit and the low control circuit of the PC solenoid valve for a short together between the PCM and the AT inline 20-way connector.

Refer to Circuit Testing and Wiring Repairs .

Did you find and correct the condition?

--

Go to Step 17

--

13

  1. Test the high control circuit of the PC solenoid valve for a short to ground or short to voltage between the PCM and the AT inline 20-way connector.
  2. Test the low control circuit of the PC solenoid valve for a short to ground or short to voltage between the PCM and the AT inline 20-way connector.

Refer to Circuit Testing and Wiring Repairs .

Did you find and correct the condition?

--

Go to Step 17

Go to Step 16

14

Replace the pressure control solenoid valve.

Refer to Pressure Control Solenoid Valve Replacement .

Did you complete the replacement?

--

Go to Step 17

--

15

Replace the automatic transmission wiring harness assembly.

Refer to Wiring Harness Replacement .

Did you complete the replacement?

--

Go to Step 17

--

16

Replace the PCM.

Refer to Control Module References for replacement, setup and programming.

Did you complete the replacement?

--

Go to Step 17

--

17

Perform the following procedure in order to verify the repair:

  1. Select DTC.
  2. Select Clear DTC Information.
  3. Start the engine.
  4. The PC solenoid valve actual current must be between 0.1 and 1.1 amp.
  5. Select Specific DTC.
  6. Enter DTC P0748.

Has the test run and passed?

--

Go to Step 18

Go to Step 2

18

With a scan tool, observe the stored information, capture info and DTC info.

Does the scan tool display any DTCs that you have not diagnosed?

--

Go to Diagnostic Trouble Code (DTC) List - Vehicle

System OK