GM Service Manual Online
For 1990-2009 cars only

CREAK NOISE AT RIGHT SIDE OF VEHICLE

SUBJECT: CREAK NOISE AT RIGHT SIDE OF VEHICLE (DIAGNOSE/REPAIR BROKEN WELD)

MODELS: 1995 BUICK RIVIERA - BUILT BETWEEN VIN BREAKPOINTS 4714000 AND 4727600 1995 OLDSMOBILE AURORA - BUILT BETWEEN VIN BREAKPOINTS 4115500 AND 4131400

CONDITION:

SOME OWNERS MAY COMMENT ON A CREAKING NOISE AT THE BASE OF THE "A" PILLAR OR AT THE RIGHT SIDE OF THE VEHICLE. THE NOISE MAY BE REPORTED AS A WINDSHIELD TO INSTRUMENT PANEL CREAK.

IMPORTANT: THE CONDITION HAS ONLY BEEN REPORTED FOR THE RIGHT SIDE; HOWEVER, IT IS POSSIBLE FOR THE CONDITION TO EXIST ON THE LEFT HINGE PILLAR ALSO.

CAUSE:

A BROKEN WELD AT THE FRONT BODY HINGE PILLAR/"A" PILLAR JOINT CAUSES THE METAL SURFACES TO RUB TOGETHER RESULTING IN A CREAKING NOISE.

CORRECTION:

DIAGNOSE -

VERIFY THAT THIS IS NOT A WINDSHIELD TO INSTRUMENT PANEL CREAK BEFORE CHECKING FOR BROKEN WELD. TO VERIFY THAT THE CONCERN IS THE BROKEN WELD, DO THE FOLLOWING:

INSIDE THE VEHICLE:

- THE CREAKING NOISE CAN BE HEARD, FROM THE FRONT SEATS, DURING RAPID ACCELERATION AND BRAKING. USING DUE CARE AND CAUTION, VERIFY THAT THE CREAKING NOISE IS HEARD DURING ACCELERATION AND BRAKING.

OUTSIDE THE VEHICLE:

- THE NOISE CAN BE HEARD IF YOU PLACE YOUR EAR CLOSE TO THE FENDER, AT THE BASE OF THE "A" PILLAR. WHILE A HELPER LIFTS THE PASSENGER DOOR, LISTEN FOR THE CREAK NOISE THROUGH THE FENDER.

- THE NOISE CAN BE HEARD IF YOU PLACE YOUR EAR CLOSE TO THE FENDER, NEAR THE BASE OF THE "A" PILLAR. WHILE A HELPER LIFTS THE FRONT BUMPER SLIGHTLY, LISTEN FOR THE CREAK NOISE THROUGH THE FENDER.

REPAIR PROCEDURE:

1. REMOVE THE FENDER. REFER TO SECTION 10-2 IN THE SERVICE MANUAL FOR THE SERVICE PROCEDURE.

2. REMOVE SEALER FROM AREA AROUND BROKEN WELD.

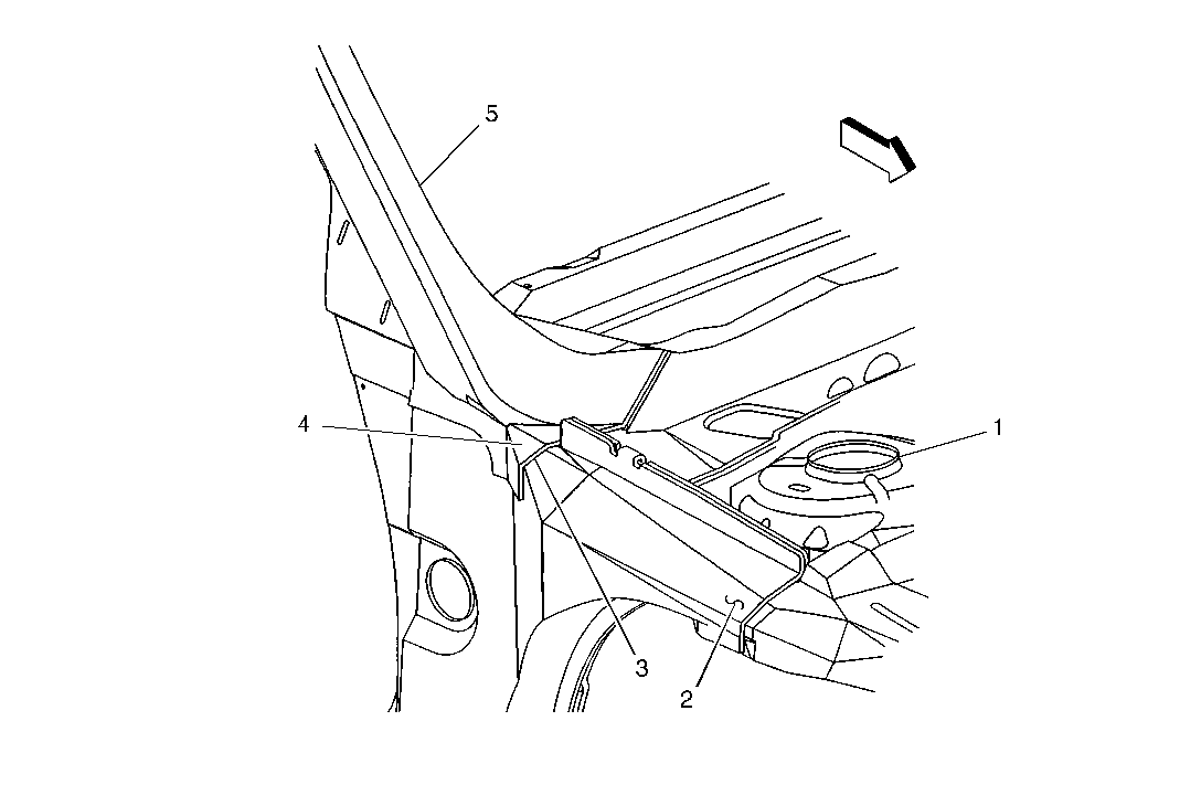
3. ADD MIG WELD TO THE SEAM JUST FORWARD OF THE BROKEN WELD LOCATION SHOWN IN FIGURE 1.

4. CLEAN AND PREPARE WELDED SURFACES.

5. PRIME WITH TWO PART CATALYZED PRIMER.

6. APPLY SEALERS AND CORROSION PROTECTION MATERIALS, AS NECESSARY. DO NOT COMBINE PAINT SYSTEMS. REFER TO PAINT MANUFACTURER'S RECOMMENDATIONS.

7. VERIFY THAT THE CREAKING NOISE IS NO LONGER PRESENT.

8. INSTALL FENDER. REFER TO SECTION 10-2 IN THE SERVICE MANUAL FOR SERVICE PROCEDURE.

WARRANTY INFORMATION:

FOR VEHICLES REPAIRED UNDER WARRANTY, USE:

LABOR OPERATION NUMBER: S0280/81 LABOR TIME: 1.0 HR. (BUICK) 1.2 HR. (OLDSMOBILE) ADD: 0.2 HR. (TO REPAIR BROKEN WELD)

FIGURES: 1 ATTACHMENTS: 0


Object Number: 82774  Size: FS

GENERAL MOTORS BULLETINS ARE INTENDED FOR USE BY PROFESSIONAL TECHNICIANS, NOT A "DO-IT-YOURSELFER". THEY ARE WRITTEN TO INFORM THOSE TECHNICIANS OF CONDITIONS THAT MAY OCCUR ON SOME VEHICLES, OR TO PROVIDE INFORMATION THAT COULD ASSIST IN THE PROPER SERVICE OF A VEHICLE. PROPERLY TRAINED TECHNICIANS HAVE THE EQUIPMENT, TOOLS, SAFETY INSTRUCTIONS AND KNOW-HOW TO DO A JOB PROPERLY AND SAFELY. IF A CONDITION IS DESCRIBED, DO NOT ASSUME THAT THE BULLETIN APPLIES TO YOUR VEHICLE, OR THAT YOUR VEHICLE WILL HAVE THAT CONDITION. SEE A GENERAL MOTORS DEALER SERVICING YOUR BRAND OF GENERAL MOTORS VEHICLE FOR INFORMATION ON WHETHER YOUR VEHICLE MAY BENEFIT FROM THE INFORMATION.

COPYRIGHT 1995 GENERAL MOTORS CORPORATION. ALL RIGHTS RESERVED.