GM Service Manual Online
For 1990-2009 cars only

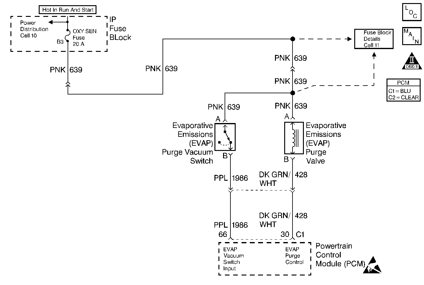
Object Number: 12272  Size: MF
Engine Controls Components
EVAP System, EGR Valve
OBD II Symbol Description Notice
Handling ESD Sensitive Parts Notice

Circuit Description

The EVAP purge valve allows manifold vacuum to purge the canister. The Powertrain Control Module (PCM) supplies a ground to energize the EVAP purge valve (purge ON). The EVAP purge valve control is Pulse Width Modulated (PWM) or turned ON and OFF several times a second. The duty cycle (pulse width) is determined by engine operating conditions including load, throttle position, coolant temperature and ambient temperature. The duty cycle is calculated by the PCM and the output is commanded when the appropriate conditions have been met:

    • Engine coolant temperature above 25°C (77°F).
    • After the engine has been running about 2 1/2 minutes on a cold start or 30 seconds on a warm start.
    • The vehicle is operating in closed loop fuel control.

Canister purge commanded duty cycle varies according to operating conditions determined by mass air flow, fuel trim, and intake air temperature.

Canister purge operation is also affected by throttle position.

    • VIN K -- Canister purge will be disabled if TP angle increases to above 70%. Canister purge will be re-enabled when TP angle decreases below 66%
    • VIN 1 -- Canister purge will be disabled if TP angle increases to above 33%. Canister purge will be re-enabled when TP angle decreases below 29%

The EVAP vacuum switch is a normally closed switch positioned in the purge line between the canister and the EVAP purge valve. The EVAP vacuum switch will open when vacuum increases to greater than 5 inches of water (in. H2O) in the purge line. The PCM monitors the EVAP vacuum switch signal to determine if the evaporative emission control system is working properly. If the switch is open (purge flow detected) when the PCM is not commanding the EVAP purge valve ON, DTC P1441 will be set.

Conditions for Setting the DTC

    • No active TP sensor, IAT sensor, MAP sensor, or ODM DTC(s) set.
    • The BARO reading is greater than 70 kPa.
    • Engine speed is between 650 RPM and 5000 RPM.
    • Intake Air Temperature is between 10°C (50°F) and 70°C (158°F).
    • The difference between Engine Coolant Temperature and Intake Air Temperature is less than 10°C (18°F).
    • EVAP Canister Purge is less than 3 percent.
    • The EVAP vacuum switch circuit signal indicates purge flow.
    • The above conditions are present for longer than 4 seconds.

Action Taken When the DTC Sets

    • The PCM will illuminate the malfunction indicator lamp (MIL) during the second consecutive trip in which the diagnostic test has been run and failed.
    • The PCM will store conditions which were present when the DTC set as Freeze Frame and Failure Records data.

Conditions for Clearing the MIL/DTC

    • The PCM will turn OFF the MIL during the third consecutive trip in which the diagnostic has been run and passed.
    • The History DTC will clear after 40 consecutive warm-up cycles have occurred without a malfunction.
    • The DTC can be cleared by using the scan tool.

Diagnostic Aids

Check for the following conditions:

    • Damaged, disconnected, or restricted vacuum lines.
        Visually and physically inspect for damaged, disconnected, kinked, pinched, or incorrectly routed EVAP system hoses.
    • Poor connection at the PCM.
        Inspect harness connectors for backed out terminals, improper mating, broken locks, improperly formed or damaged terminals, and poor terminal to wire connection.
    • Damaged harness.
        Inspect the wiring harness for damage. If the harness appears to be OK, observe the EVAP vacuum switch display on the scan tool while moving connectors and wiring harnesses related to the switch. A change in the display will indicate the location of the malfunction.
    • Incorrect vacuum hose routing.
        Verify that the vacuum hose routing to the canister purge vacuum switch and the EVAP purge valve is correct and that the vacuum hoses to the EVAP purge valve are not switched.
    • Restricted fuel vapor line, purge hose, canister vent, or blocked canister.
         A condition that causes the EVAP system to trap vacuum can keep the EVAP vacuum switch open, causing DTC P1441 to be set.
    • Malfunctioning or damaged canister.
        A malfunctioning canister may intermittenly allow charcoal into the EVAP purge valve, vacuum switch, and associated lines causing a DTC to be set. Use the following procedure to check for a carbon release condition:
        1. Turn OFF the ignition switch.
        2. Remove the EVAP purge valve. Refer to Evaporative Emission Canister Purge Solenoid
        3. Remove the EVAP vacuum switch. Refer to Evaporative Emission Vacuum Switch
        4. Lightly tap the purge valve and (if applicable) the vacuum switch on a clean work area looking for carbon particles exiting either of the vacuum ports.
        5. If no carbon release is evident, reinstall the components and continue with the DTC P1441 diagnostic table. If carbon is being released from either component, continue with this service procedure.
        6. Remove the charcoal canister from the vehicle.
        7. Ensure that the main cylinder valve is turned off on the
Object Number: 20803  Size: SH
(1)Main Valve
(2)Evaporative Emission System Purge/Presure Diagnostic Station J 41413
(3)Nitrogen Cylinder
(4)Black Connecting Hose
(5)Threaded Fitting
(6)Gauge Set
EVAP purge/pressure diagnostic station.
        8. Disconnect the black hose that connects the nitrogen cylinder to the EVAP purge/pressure diagnostic station at the pressure regulator by unscrewing the knurled nut on the regulator. No tools are required to remove the black hose from the regulator.
        9. Using a section of vacuum line, connect one end over the open threaded fitting of the EVAP purge/pressure diagnostic station pressure regulator.
        10. Connect the remaining end to the purge valve end of the EVAP purge line at the vehicle and turn on the main nitrogen cylinder valve. Continue to blow any debris from the purge line for 15 seconds.
        11. Return the EVAP Pressure/Purge Diagnostic Station to its original condition by re-installing the black hose that was disconnected in step 8.
        12. Replace the following components:
       - The EVAP purge valve. Refer to Evaporative Emission Canister Purge Solenoid
       - The EVAP canister. Refer to Evaporative Emission Canister Replacement
       - The EVAP vacuum switch. Refer to Evaporative Emission Vacuum Switch
        13. Proceed with the DTC P1441 diagnostic table.

Reviewing the Fail Records vehicle mileage since the diagnostic test last failed may help determine how often the condition that caused the DTC to be set occurs. This may assist in diagnosing the condition.

Test Description

Number(s) below refer to the step number(s) on the Diagnostic Table.

  1. The canister purge vacuum switch is normally closed when no vacuum is present. With the ignition switch ON and the engine not running, there should not be any vacuum applied to the EVAP system.

  2. Determines if the PCM is able to control the EVAP purge valve valve.

  3. Determines if the DTC will set under the conditions present when the DTC was originally stored. If not, the malfunction is intermittent.

  4. Checks for a grounded EVAP purge valve control circuit, a malfunctioning EVAP vacuum switch, or a leaking EVAP purge valve valve.

  5. Checks for an open EVAP vacuum switch.

  6. This vehicle is equipped with a PCM which utilizes an Electrically Erasable Programmable Read Only Memory (EEPROM). When the PCM is being replaced, the new PCM must be programmed.

DTC P1441 - EVAP System Flow During Non-Purge

Step

Action

Value(s)

Yes

No

1

Was the Powertrain On-Board Diagnostic (OBD) System Check performed?

--

Go to Step 2

Go to the Powertrain On Board Diagnostic (OBD) System Check

2

Important: Before continuing with diagnosis, visually/physically inspect vacuum hoses for damage or improper connections. Refer to Emission Hose Routing Diagram .

  1. Turn ON the ignition switch.
  2. Observe the EVAP Vacuum Sw. display on the scan tool.

Does EVAP Vacuum Sw. display No Purge?

--

Go to Step 3

Go to Step 12

3

  1. Engine idling.
  2. Observe the EVAP Vacuum Sw. display while commanding the EVAP purge valve OFF with the scan tool.

Does EVAP Vacuum Sw. display No Purge with the EVAP purge valve commanded OFF?

--

Go to Step 4

Go to Step 5

4

  1. Review and record scan tool Fail Records data.
  2. Operate the vehicle within Fail Records conditions as noted.
  3. Using a scan tool, monitor Status This Ign for DTC P1441.

Does the scan tool indicate DTC P1441 failed?

--

Go to Step 5

Refer to Diagnostic Aids

5

  1. Disconnect the EVAP purge valve electrical connector.
  2. Engine idling, observe EVAP Vacuum Sw. display on the scan tool.

Does EVAP Vacuum Sw. display No Purge?

--

Go to Step 6

Go to Step 7

6

  1. Turn OFF the ignition switch.
  2. Disconnect the PCM.
  3. Check the EVAP purge valve control circuit for a short to ground.
  4. If a problem is found, repair as necessary. Refer to Repair Procedures in Electrical Diagnosis.

Was a problem found?

--

Go to Step 17

Go to Step 16

7

  1. Leave the EVAP purge valve electrical connector disconnected.
  2. Disconnect the vacuum signal hose from the EVAP vacuum switch.
  3. Connect an inches of H2O vacuum gauge to the vacuum signal hose.
  4. With the engine idling observe the vacuum reading at the vacuum signal hose.

Is the vacuum greater than the specified value?

5 in H2O

Go to Step 8

Go to Step 10

8

  1. Check for incorrect vacuum hose routing or switched vacuum lines at the EVAP purge valve. Refer to Emission Hose Routing Diagram .
  2. If a problem is found, repair as necessary.

Was a problem found?

--

Go to Step 17

Go to Step 9

9

Replace the EVAP purge valve. Go to Evaporative Emission Canister Purge Solenoid .

Important: Check for carbon release into the EVAP system. Refer to Diagnostic Aids.

Is action complete?

--

Go to Step 17

--

10

  1. Check the EVAP purge hose for a restriction between the canister and the EVAP vacuum switch. Refer to Emission Hose Routing Diagram .
  2. If a problem is found, repair as necessary.

Important: Check for carbon release into the EVAP system. Refer to Diagnostic Aids.

Was a problem found?

--

Go to Step 17

Go to Step 11

11

  1. Check the fuel tank vapor line for a restriction between the canister and the fuel tank. Refer to Emission Hose Routing Diagram .
  2. If a problem is found, repair as necessary.

Was a problem found?

--

Go to Step 17

Go to Step 15

12

  1. Disconnect the EVAP purge vacuum switch electrical connector.
  2. Connect a jumper between the EVAP vacuum switch harness connector terminals.
  3. Observe EVAP Vacuum Sw. display on the scan tool.

Does EVAP Vacuum Sw. display No Purge?

--

Go to Step 14

Go to Step 13

13

  1. Check for the following conditions:
  2. • Open or short to ground in the EVAP vacuum switch signal circuit between the EVAP vacuum switch and the PCM.
    • Open EVAP vacuum switch ignition feed circuit.
    • Poor EVAP vacuum switch signal circuit connection at the PCM.
  3. If a problem is found, repair it as necessary. Refer to Repair Procedures in Electrical Diagnosis.

Was a problem found?

--

Go to Step 17

Go to Step 16

14

  1. Check for the following conditions: a
  2. • Poor terminal connection at the EVAP vacuum switch. Refer to Repair Procedures in Electrical Diagnosis.
    • Restricted purge line between the EVAP vacuum switch and the canister. Refer to Emission Hose Routing Diagram .
    • Blocked canister. Go to Evaporative Emission Canister Replacement
  3. If a problem is found, repair as necessary.

Important: Check for carbon release into the EVAP system. Refer to Diagnostic Aids.

Was a problem found?

--

Go to Step 17

Go to Step 15

15

Replace the EVAP vacuum switch. Go to Evaporative Emission Vacuum Switch .

Important: Check for carbon release into the EVAP system. Refer to Diagnostic Aids.

Is action complete?

--

Go to Step 17

--

16

Replace the PCM.

Important:: The replacement PCM must be programmed. Refer to Powertrain Control Module Replacement/Programming .

Is action complete?

--

Go to Step 17

--

17

  1. Review and record scan tool Fail Records data.
  2. Clear DTCs.
  3. Operate the vehicle within Fail Records conditions as noted.
  4. Using a scan tool, monitor Specific DTC info for DTC P1441

Does the scan tool indicate DTC P1441 failed?

--

Go to Step 2

System OK