GM Service Manual Online
For 1990-2009 cars only
Figure 1:

Right Front of the Engine


Object Number: 342502  Size: MF
(1)A/C Diode
(2)S105, S108
(3)A/C High Pressure Switch
(4)A/C Clutch
(5)A/C Pressure Sensor
Figure 2:

Right Front of the Engine Compartment


Object Number: 342470  Size: MF
(1)A/C High Temperature Sensor
Figure 3:

Center Rear of the Engine Compartment


Object Number: 342498  Size: LF
(1)A/C Low Temperature Sensor
(2)S140
(3)Right Front Strut Tower
Figure 4:

Right Front of the Vehicle


Object Number: 342468  Size: MF
(1)Right Horn (Left Similar)
Figure 5:

Center Front of the Vehicle


Object Number: 342442  Size: MF
(1)Ambient Air Temperature Sensor
Figure 6:

Engine Compartment, in the Right Front Corner


Object Number: 342478  Size: LF
(1)A/C Low Pressure Switch
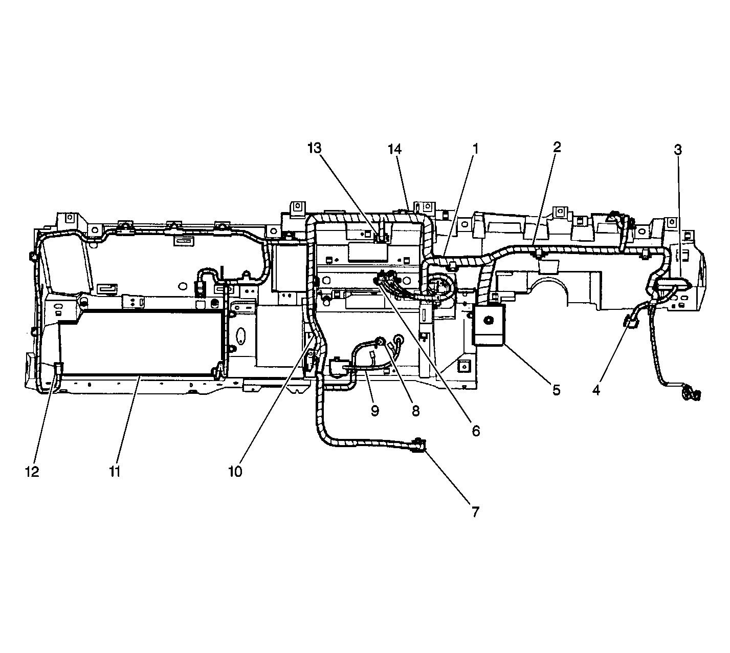
Figure 7:

Passenger Compartment, Behind the Instrument Panel


Object Number: 342704  Size: LF
(1)S264
(2)S256
(3)Headlamp Switch Connector
(4)C213
(5)C200
(6)C203
(7)Radio Connector
(8)C206
(9)S201
(10)S273
(11)IP Compartment
(12)C210
(13)Heater and A/C Control Connector
(14)S204
Figure 8:

Passenger Compartment, Top of the Instrument Panel


Object Number: 342709  Size: LF
(1)Right Solar Sensor (Buick)
(2)Ambient Light Sensor (Oldsmobile)
(3)Right Solar Sensor (Oldsmobile)
(4)S288
(5)C219 (Oldsmobile)
(6)Defrost Grille (Oldsmobile)
(7)Left Solar Sensor (Oldsmobile)
(8)Left Solar Sensor (Buick)
(9)Defrost Grille (Buick)
(10)Ambient Light Sensor (Buick)
Figure 9:

Left Side of the Instrument Panel


Object Number: 342733  Size: MF
(1)Inside Air Temperature Sensor
(2)Inside Air Temperature Sensor
(2)Inside Air Temperature Sensor
Figure 10:

Passenger Compartment, Under the Right Side of the IP


Object Number: 342750  Size: LF
(1)Heater and A/C Programmer
(2)Variable Steering Module
(3)Blower Motor