GM Service Manual Online
For 1990-2009 cars only

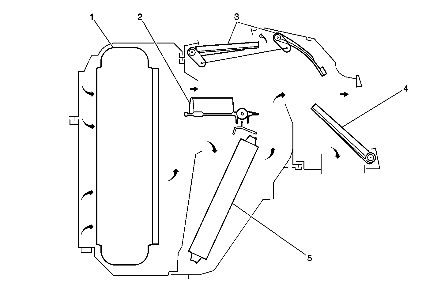
Air Distribution System


Object Number: 263497  Size: MF

Air that is utilized by the heating, ventilation, and air conditioning (HVAC) system is drawn into the blower module through the air inlet assembly at the base of the windshield. The blower forces the air through the evaporator core (1), which dehumidifies and cools the air. The air then heats as the air passes through or around the heater core (5). The air valves direct the air in the A/C module to the following outlets, depending upon the mode selected:

    • The instrument panel
    • The front heater outlets at the floor
    • The rear heater outlets at the floor
    • The defroster outlets

Air Inlet Assembly


Object Number: 263159  Size: MF

The air inlet assembly (2) provides outside (fresh) or inside recirculated air to the blower, depending upon the mode selected.

An actuator varies the inlet air. The HVAC programmer controls the actuator.

Air Distribution Chamber

After passing through the evaporator core, the cooled and the dehydrated air will pass through the heater core. The desired air temperature is then established, according to the driver's request.

Once the air is conditioned to the correct temperature, the air enters into the air distribution chamber.

By varying the position of the distribution doors, the air distribution chamber is able to direct the air flow to the following locations:

    • The floor
    • The windshield
    • The upper ducts

Air always passes through the rear floor duct.

Ducts and Outlets


Object Number: 263159  Size: MF

The ducting is the network of tubing used in order to get conditioned air from the A/C module (3) to the following locations:

    • The instrument panel
    • The rear seat duct (7)
    • The cross car ducts
    • The defrost duct (1,4)

There are 2 major ducts that are attached to the air distribution chamber.

The cross car ducts are attached to the back of the instrument panel. The cross car ducts receive air from the bottom of the distribution chamber. The ducts deliver the air through 2 outlets in the following locations:

    • At the rear of the front seat center arm rest
    • The console