GM Service Manual Online
For 1990-2009 cars only

Front Bumper Impact Bar Replacement Oldsmobile

Removal Procedure

  1. Raise and support the vehicle. Refer to Lifting and Jacking the Vehicle in General Information.
  2. Remove the front fascia from the vehicle. Refer to Front Bumper Fascia Replacement .

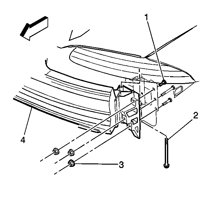
  3. Object Number: 282607  Size: SH
  4. Remove the vertical mounting bolt (2) from each side of the impact bar (4).
  5. Remove the 6 impact bar mounting bolts (1) and nuts (3) (3 from each side).
  6. Remove the impact bar (4) from the vehicle.

Installation Procedure


    Object Number: 282607  Size: SH

    Important: If you removed the headlamp from the vehicle, reinstall the headlamp before you install the impact bar (4).

  1. Install the impact bar (4) to the vehicle.
  2. Notice: Use the correct fastener in the correct location. Replacement fasteners must be the correct part number for that application. Fasteners requiring replacement or fasteners requiring the use of thread locking compound or sealant are identified in the service procedure. Do not use paints, lubricants, or corrosion inhibitors on fasteners or fastener joint surfaces unless specified. These coatings affect fastener torque and joint clamping force and may damage the fastener. Use the correct tightening sequence and specifications when installing fasteners in order to avoid damage to parts and systems.

  3. Install the impact bar mounting bolts (1) and the nuts (3).
  4. Tighten
    Tighten the bolts (1) and the nuts (3) to 50 N·m (37 lb ft).

  5. Install the vertical mounting bolt (2).
  6. Tighten
    Tighten the vertical mounting bolt (2) to 50 N·m (37 lb ft).

  7. Install the front fascia to the vehicle. Refer to Front Bumper Fascia Replacement .
  8. Lower the vehicle.

Front Bumper Impact Bar Replacement Buick

Removal Procedure

  1. Raise and support the vehicle. Refer to Lifting and Jacking the Vehicle in General Information.
  2. Remove the front fascia from the vehicle. Refer to Front Bumper Fascia Replacement .

  3. Object Number: 379440  Size: SH
  4. Remove vertical mounting bolt (2) from each side of the vehicle.
  5. Remove the 6 impact bar mounting bolts (1) and the nuts (3) (3 from each side).
  6. Important: If you remove the headlamp from the vehicle, reinstall the headlamp before installing the impact bar (4).

  7. Remove the impact bar (4) from the vehicle.

Installation Procedure


    Object Number: 379440  Size: SH

    Important: If you removed the headlamp from the vehicle, reinstall the headlamp before installing the impact bar (4).

  1. Install the impact bar (4) to the vehicle.
  2. Notice: Use the correct fastener in the correct location. Replacement fasteners must be the correct part number for that application. Fasteners requiring replacement or fasteners requiring the use of thread locking compound or sealant are identified in the service procedure. Do not use paints, lubricants, or corrosion inhibitors on fasteners or fastener joint surfaces unless specified. These coatings affect fastener torque and joint clamping force and may damage the fastener. Use the correct tightening sequence and specifications when installing fasteners in order to avoid damage to parts and systems.

  3. Install the impact bar mounting bolts (1) and the nuts (3).
  4. Tighten
    Tighten the bolts (1) and the nuts (3) to 50 N·m (37 lb ft).

  5. Install the vertical mounting bolt (2).
  6. Tighten
    Tighten the vertical mounting bolt (2) to 50 N·m (37 lb ft).

  7. Install the front fascia to the vehicle. Refer to Front Bumper Fascia Replacement .
  8. Lower the vehicle.