GM Service Manual Online
For 1990-2009 cars only

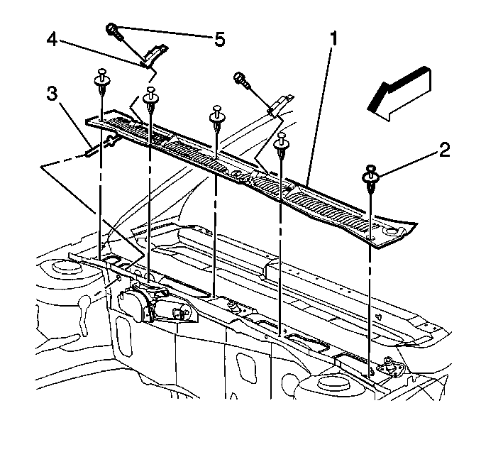
Removal Procedure

  1. Remove the wiper arm assemblies. Refer to Windshield Wiper Arm Replacement in Wiper/Washer Systems.

  2. Object Number: 283580  Size: SH
  3. Remove the screws (5).
  4. Remove the push-in fasteners (2).
  5. Remove hood ledge (lace) seal.
  6. Disconnect the washer hoses (3).
  7. Remove the air inlet grille panel (1).

Installation Procedure


    Object Number: 283580  Size: SH
  1. Connect the washer hoses (3).
  2. Install the air inlet grille panel (1).
  3. Install the push-in fasteners (2).
  4. Install the screws (5).
  5. Install the wiper arm assemblies. Refer to Windshield Wiper Arm Replacement in Wiper/Washer Systems.
  6. Install the hood ledge (lace) seal.