GM Service Manual Online
For 1990-2009 cars only

Removal Procedure


    Object Number: 283575  Size: SH
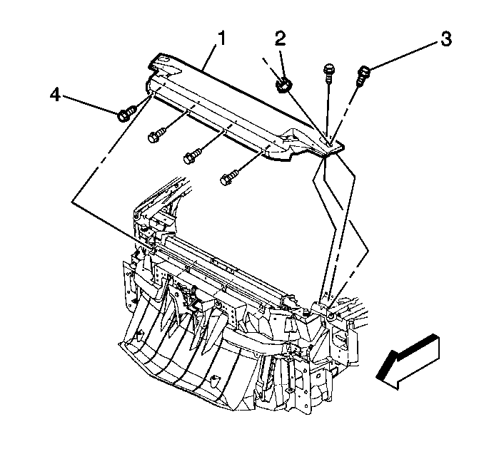
  1. Remove the bolts (4) that retain the front of the upper radiator support (1).
  2. Remove the 2 bolts (3) and the nut (2) from the outer ends of the upper radiator support (1).
  3. Remove the rear strap push-in retainer and the strap.
  4. Remove the upper radiator support (1).

Installation Procedure


    Object Number: 283575  Size: SH
  1. Install the upper radiator support (1).
  2. Install the strap with push-in retainers.
  3. Notice: Use the correct fastener in the correct location. Replacement fasteners must be the correct part number for that application. Fasteners requiring replacement or fasteners requiring the use of thread locking compound or sealant are identified in the service procedure. Do not use paints, lubricants, or corrosion inhibitors on fasteners or fastener joint surfaces unless specified. These coatings affect fastener torque and joint clamping force and may damage the fastener. Use the correct tightening sequence and specifications when installing fasteners in order to avoid damage to parts and systems.

  4. Install the 2 bolts (3) and the nut (2) at the outer ends of the upper radiator support (1).
  5. Tighten
    Tighten the bolts and the nut to 10.5 N·m (93 lb in).

  6. Install the bolts (4) in order to retain the front of the upper radiator support (1).
  7. Tighten
    Tighten the bolts and the nut to 10.5 N·m (93 lb in).