GM Service Manual Online
For 1990-2009 cars only

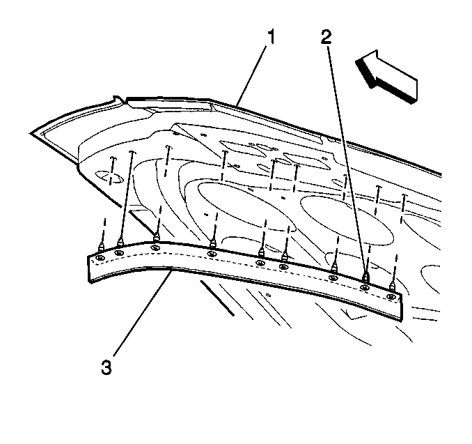
Hood Front Seal Replacement Oldsmobile

Removal Procedure


    Object Number: 283582  Size: SH
  1. Remove the push-in retainers (2) from the hood seal (3).
  2. Remove the front hood seal (3).

Installation Procedure


    Object Number: 283582  Size: SH
  1. Install the front hood seal (3).
  2. Install the push-in retainers (2).

Hood Front Seal Replacement Buick

Removal Procedure


    Object Number: 283581  Size: SH
  1. Remove the push-in retainers (3) from the hood seal (2).
  2. Remove the front hood seal (2).

Installation Procedure


    Object Number: 283581  Size: SH
  1. Install the front hood seal (2).
  2. Install the push-in retainers (3).