GM Service Manual Online
For 1990-2009 cars only

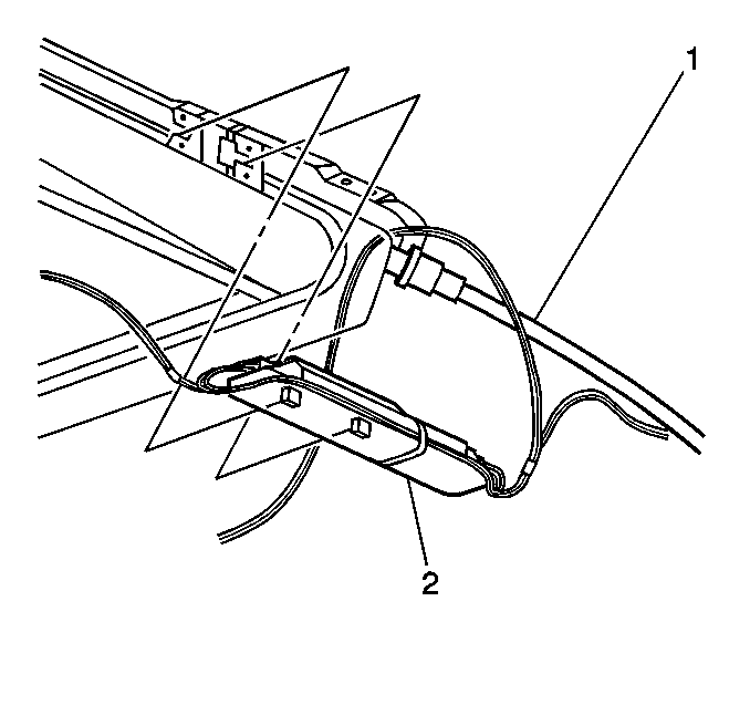
Removal Procedure


    Object Number: 258867  Size: SH
  1. Lower the formed headliner at the rear. Refer to Headlining Trim Panel Replacement in Interior Trim.
  2. Remove the express module by sliding the module out of the slots in the bracket (toward the center of the vehicle).
  3. Disconnect the wiring connector from the express module.

Installation Procedure


    Object Number: 258867  Size: SH
  1. Connect the wiring connector to the express module.
  2. Install the express module to the slots in the bracket.
  3. Secure the formed headliner. Refer to Headlining Trim Panel Replacement in Interior Trim.