GM Service Manual Online
For 1990-2009 cars only

Steering Vibration/SHudder During Parking Manuever (Install Power Strg Pressure Hose Assm)

Subject:Steering Vibration/Shudder/Moan During Parking Maneuvers on Dry Pavement (Install Power Steering Pressure (Inlet) and/or Return (Outlet) Hose Assembly)

Models:1995-99 Buick Riviera
1997-2001 Buick Park Avenue, Ultra
2000-2001 Buick LeSabre
2000-2001 Pontiac Bonneville



This bulletin is being revised to add the 2001 model year and to update the parts information. Please discard Corporate Bulletin Number 99-02-32-007 (Section 2 -- Steering)


Condition

Some customers may comment on a steering vibration, shudder or moan noise when steering during parking maneuvers on dry pavement.

Correction

Install a new power steering pressure (inlet) hose assembly on the following vehicles:

    • 1995-98 Buick Riviera
    • 1997-98 Buick Park Avenue and Ultra

Install a new power steering pressure (inlet) and return (outlet) hose assembly on the following vehicles:

    • 1999 Buick Riviera
    • 1999-2001 Buick Park Avenue and Ultra
    • 2000-2001 Buick LeSabre
    • 2000-2001 Pontiac Bonneville

Diagnosis

Important: In diagnosing the above listed vehicles, do not overlook other obvious repairs prior to replacing the hose(s).

  1. Verify that the power steering pump reservoir is full.
  2. • If fluid level is low, fill and check for leaks.
    • If power steering system has air in the system, perform the "Bleeding Air from Power Steering System" procedure as described in the Power Steering System sub-section of the Service Manual.

       Important: When performing the "Bleeding Air from Power Steering System" procedure, it is important that the front of the vehicle is supported by the lower control arms. If the vehicle is not supported by the lower control arms, the procedure may cause the strut bushing to dislocate and cause new concern.

  3. Verify that the accessory drive belt is in good condition and that the pulleys are not bent or damaged.
  4. Verify proper belt tension and operation of the belt tensioner.
  5. Check for power steering hose ground out conditions.
  6. Check for good engine idle and correct engine RPM.
  7. Check to see that the rear transaxle mount does not have a plastic assembly aid installed which is used for assembly purposes. If the assembly aid is installed, remove the assembly aid and install the rear transaxle mount.
  8. With the vehicle on dry pavement, maneuver the vehicle in parking positions. If the steering vibrates/shudders or moans in this test, replace the power steering pressure hose and/or the harmonic balancer.
  9. Important: A defective harmonic balancer on the 1995 Buick Riviera can influence steering vibrations after power steering hose installation.

    Important: When installing the pressure hose on the 1995 Buick Riviera, pull down on the pressure hose at the rear of the engine or bend the hose to allow clearance between the hose and the front of the dash.

Power Steering Pressure (Inlet) Hose Replacement Procedure

For 1995-1998 Vehicles:

  1. Raise and suitably support the vehicle.
  2. Refer to Vehicle Lifting and Jacking in the General Information section of the Service Manual.

  3. Drain the power steering fluid.
  4. Refer to Draining the Power Steering System in the Power Steering section of the Service Manual.


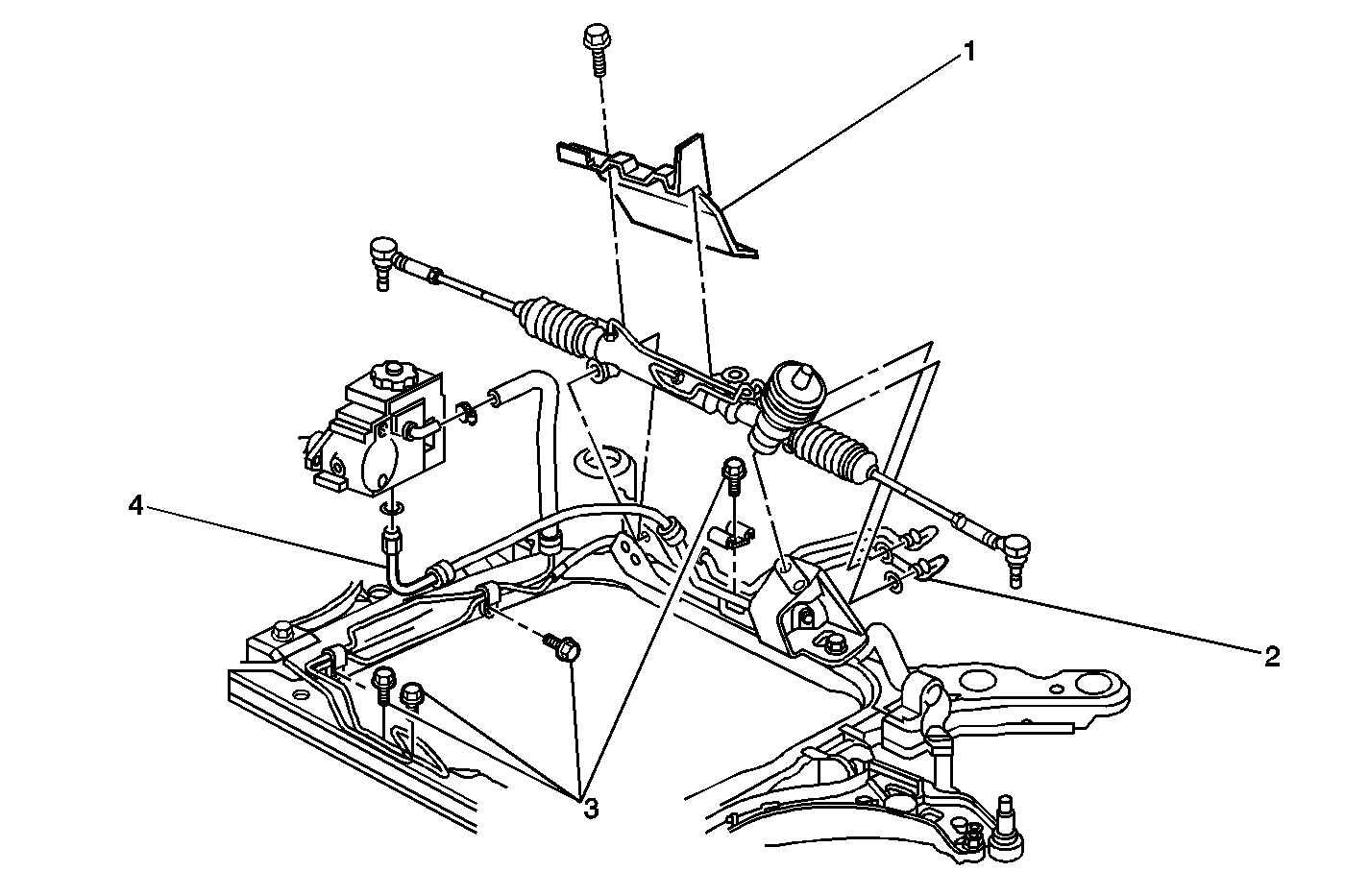
    Object Number: 633951  Size: MH
  5. Remove the power steering gear assembly heat shield (1).
  6. Disconnect the power steering pressure hose from the power steering pump assembly (4).
  7. Remove the bolt/screws from the retaining clips (3).
  8. Disconnect the power steering pressure hose from the power steering gear assembly (2).
  9. Remove the power steering pressure hose assembly from the vehicle.
  10. Install the power steering pressure hose assembly to the vehicle.
  11. Connect the power steering pressure hose to the power steering pump assembly (4).
  12. Connect the power steering pressure hose to the power steering gear assembly (2).
  13. Tighten
    Tighten the power steering pressure hose to the steering gear to 27 N·m (20 lb ft).

  14. Install the bolt/screws to the retaining clips (3).
  15. Tighten
    Tighten the retaining clip bolt/screws to 6 N·m (53 lb in).

  16. Install the power steering gear assembly heat shield (1).
  17. Lower the vehicle.
  18. Fill and bleed the power steering system using, J 43485.
  19. Refer to Corporate Bulletin Number 83-32-09, dated November, 1998.

Power Steering Pressure (Inlet) and Return (Outlet) Hose Replacement Procedure

For 1999-2001 Vehicles:

  1. Raise and suitably support the vehicle.
  2. Refer to Vehicle Lifting and Jacking in the General Information section of the Service Manual.

  3. Drain the power steering fluid. Refer to Draining the Power Steering System in the Power Steering section of the Service Manual.
  4. Remove the LH front wheel/tire assembly.
  5. Remove the LH lower splash shield.
  6. Remove the lower radiator air deflector (engine splash shield, if installed.)

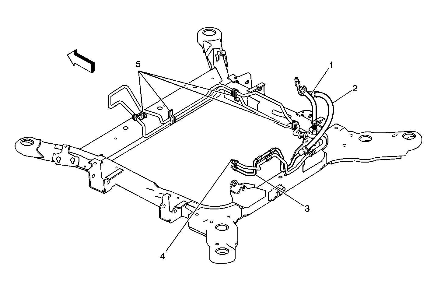
  7. Object Number: 636028  Size: MH
  8. Remove the power steering gear assembly heat shield.
  9. Disconnect the power steering pressure hose (2) and the return hose (1) from the power steering pump assembly.
  10. Remove the bolt/screws from the retaining clips (5).
  11. Disconnect the power steering pressure hose (3) and the return hose (4) from the power steering gear assembly.
  12. Remove the power steering pressure and return hose assemblies from the vehicle.

  13. Object Number: 635329  Size: MH
  14. Drill two 6 mm (¼ in) holes (3) into the top surface of the LH engine frame crossmember.
  15. Both holes are to be approximately 35 mm (1.5 in) rearward from the front and rear control arm brackets horizontal flange edge.

  16. Remove the two rosebud clips from the new hose assembly (4).
  17. Install the two rosebud clips into the holes drilled.
  18. Install the new LH routed power steering return/outlet hose assembly (1):
  19. • From the forward side of the front engine mount, route the pump end of the hose assembly to the RH side of the vehicle, along the RH engine frame crossmember and up to the steering pump assembly.
    • Route the steering gear end of the hose assembly to the LH side of the vehicle, along the LH engine frame crossmember and up to the steering gear assembly.
  20. Install the power steering pressure/inlet hose assembly (2) to the vehicle.
  21. Connect the power steering pressure and return hoses to the power steering pump assembly.
  22. Connect the power steering pressure and return hoses to the power steering gear assembly.
  23. Tighten
    Tighten the power steering pressure and return hoses to the steering gear to 27 N·m (20 lb ft).

  24. Install the bolt/screws to the retaining clips (5).
  25. Tighten
    Tighten the retaining clip bolt/screws to 6 N·m (53 lb in).

  26. Install the power steering gear assembly heat shield.
  27. Install the lower radiator air deflector (engine splash shield).
  28. Install the LH lower splash shield.
  29. Install the LH front wheel/tire assembly.
  30. Lower the vehicle.
  31. Fill and bleed the power steering system, using J 43485.
  32. Refer to Corporate Bulletin Number 83-32-09, dated November, 1998.

Parts Information

Vehicle

Part Number

Description

1995-98 Buick Riviera

1997-98 Buick Park Ave & Ultra

26059162

Power Steering Pressure/Inlet Hyd Hose Assembly (with Magna Steer)

1997-98 Buick Park Ave Ultra

26060025

Power Steering Pressure/Inlet Hyd Hose Assembly (w/o Magna Steer)

1999 Buick Riviera

1999-2001 Buick Park Ave & Ultra

2000-2001 Buick LeSabre

2000-2001 Pontiac Bonneville

26079289

Power Steering Pressure/Inlet Hyd Hose Assembly (with Magna Steer)

1999 Buick Riviera

1999-2001 Buick Park Ave & Ultra

2000-2001 Buick LeSabre

2000-2001 Pontiac Bonneville

25727230

Power Steering Return/Outlet Hyd Hose Assembly (with Magna Steer)

1999-2001 Buick Park Ave

2000-2001 Buick LeSabre

2000-2001 Pontiac Bonneville

26079288

Power Steering Pressure/Inlet Hyd Hose Assembly (w/o Magna Steer)

1999-2001 Buick Park Ave

2000-2001 Buick LeSabre

2000-2001 Pontiac Bonneville

25727229

Power Steering Return/Outlet Hyd Hose Assembly (w/o Magna Steer)

Parts are currently available from GMSPO.

Warranty Information

For vehicles repaired under warranty, use:

Labor Operation

Description

Labor Time

E8622 (1995-98 Vehicles)

Hose, Power Steering Hydraulic - Replace (Pressure/Inlet)

0.6 hr*

E8623 (1999-01 Vehicles)

Hose, Power Steering Hydraulic - Replace (Return/Outlet and Pressure/Inlet))

1.1 hrs*

*This is a unique labor operation time to be used only with this bulletin. It will not be published in the Labor Time Guide.