GM Service Manual Online
For 1990-2009 cars only
Makes
🢒
Buick
🢒
1998
🢒
Riviera
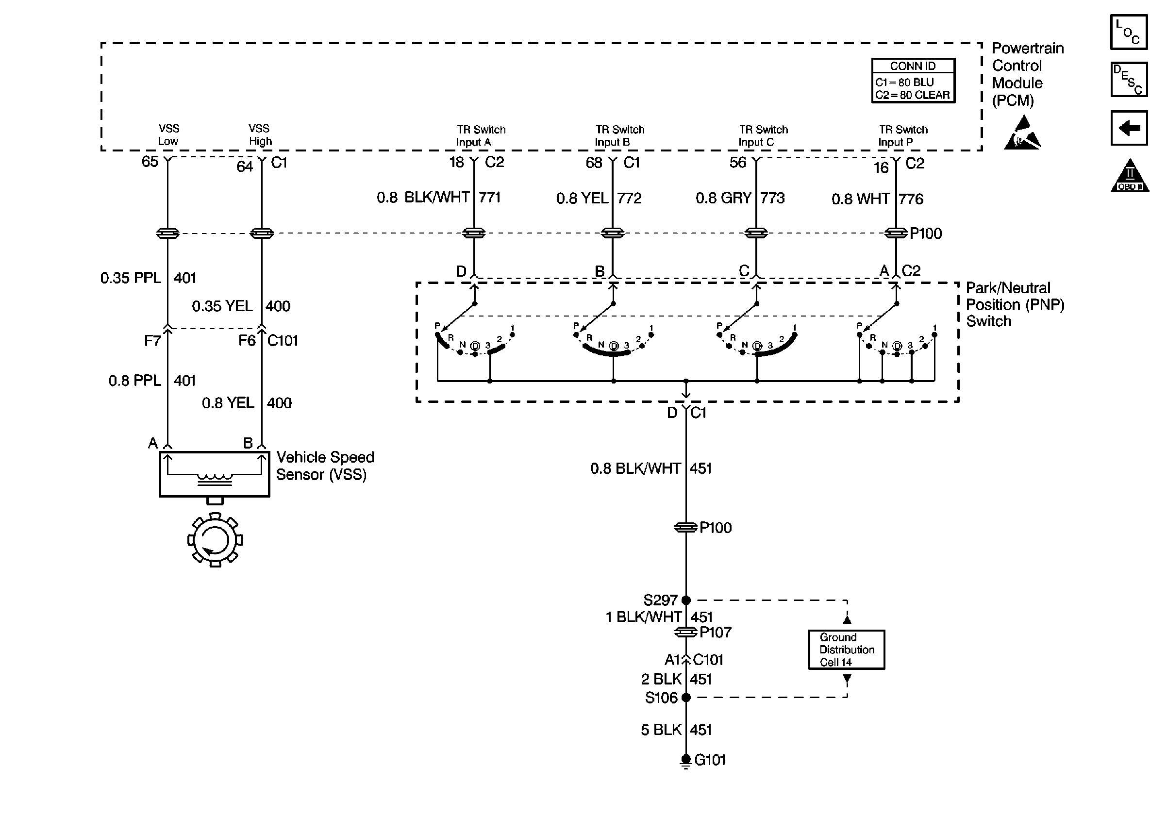
🢒 Cell 20: Park/Neutral Position (PNP) Switch
Cell 20: Park/Neutral Position (PNP) Switch
Cell 20: Park/Neutral Position (PNP) Switch
Engine Controls Components
Powertrain Control Module Description
Cell 20: Transaxle - Sensors and TR Switch
OBDII Symbol Description Notice
Powertrain Control Module Connector End Views
Automatic Transmission Components
Handling ESD Sensitive Parts Notice
Ground Distribution Schematics