GM Service Manual Online
For 1990-2009 cars only
Makes
🢒
Buick
🢒
1998
🢒
Riviera
🢒 Cell 138: Buick
Cell 138: Buick
Cell 138: Buick
Lighting Systems Components
Lighting System Description
Cell 138: Oldsmobile
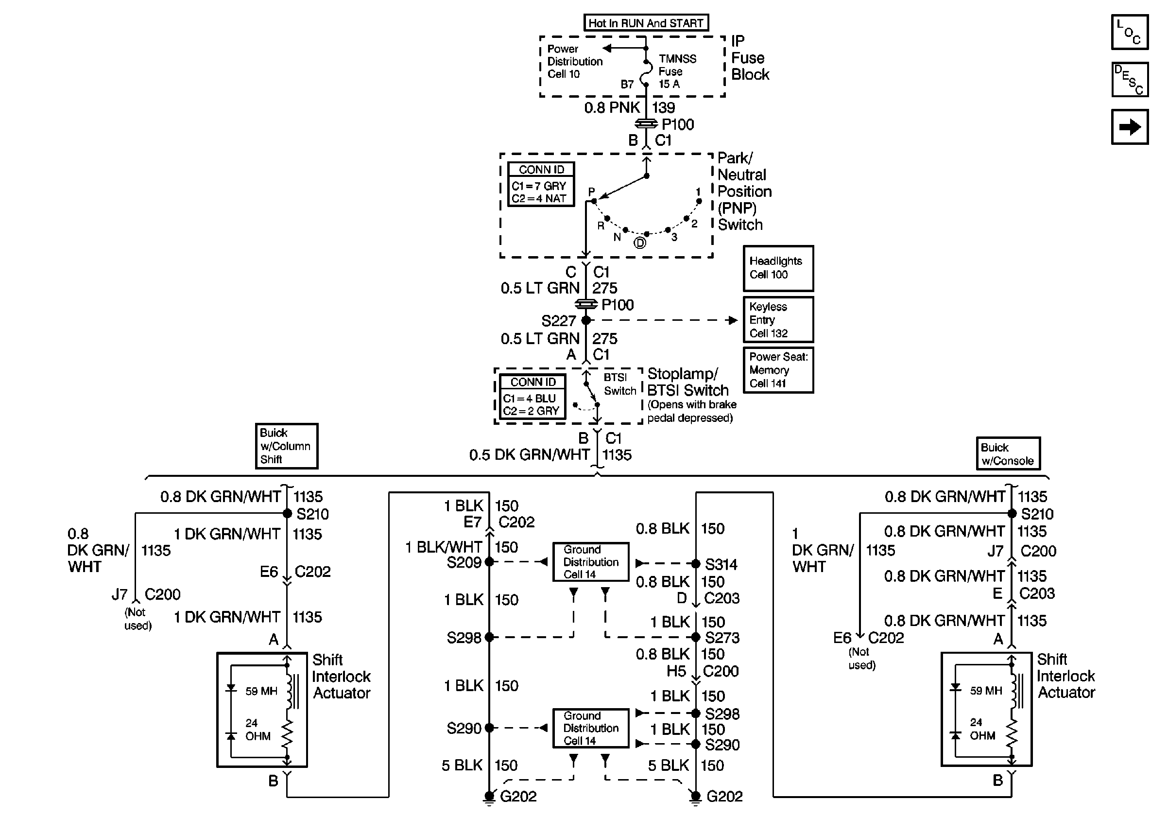
Power Distribution Schematics
Ground Distribution Schematics
Ground Distribution Schematics
Headlights Schematics Buick
Keyless Entry Schematics
Memory Seats Schematics Buick