GM Service Manual Online
For 1990-2009 cars only
Makes
🢒
Buick
🢒
1998
🢒
Riviera
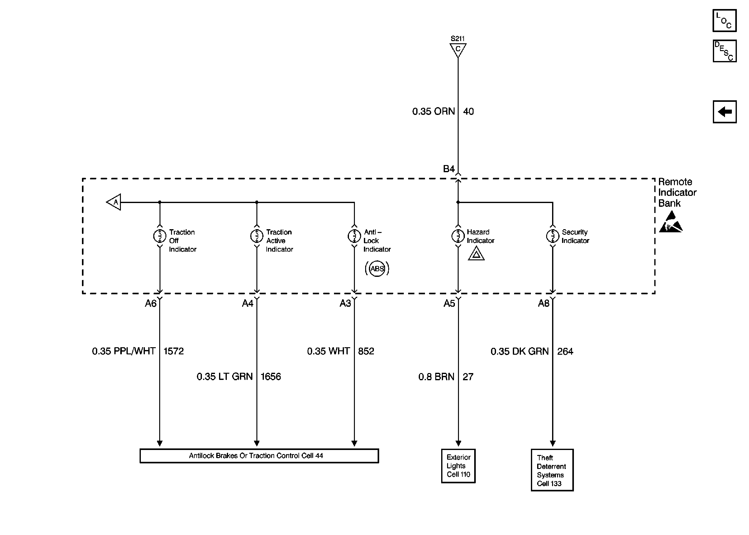
🢒 Cell 81: Traction Off Indicator
Cell 81: Traction Off Indicator
Cell 81: Traction Off Indicator
Cell 81: Airbag Indicator
Theft Deterrent System Schematics
Exterior Lights Schematics Buick
Cell 81: Oil Pressure Indicator
Cell 81: Oil Pressure Indicator
Handling ESD Sensitive Parts Notice
Instrument Panel, Gages, and Console Component Views