GM Service Manual Online
For 1990-2009 cars only
Makes
🢒
Buick
🢒
1998
🢒
Riviera
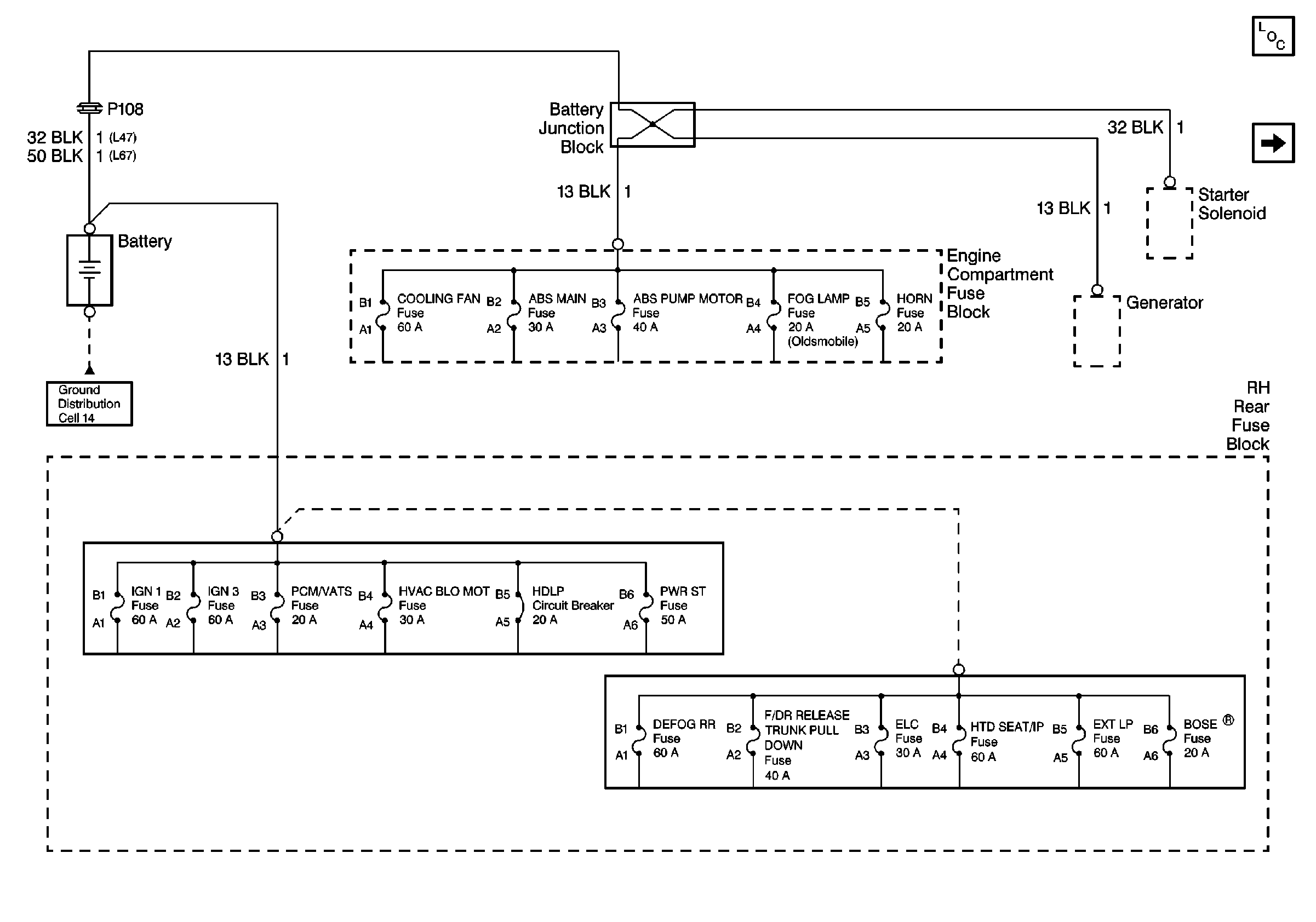
🢒 Cell 10: Battery
Cell 10: Battery
Cell 10: Battery
Power and Grounding Component Views
Cell 10: IGN 1 Fuse, Ignition Switch
Ground Distribution Schematics