GM Service Manual Online
For 1990-2009 cars only
Makes
🢒
Buick
🢒
1998
🢒
Riviera
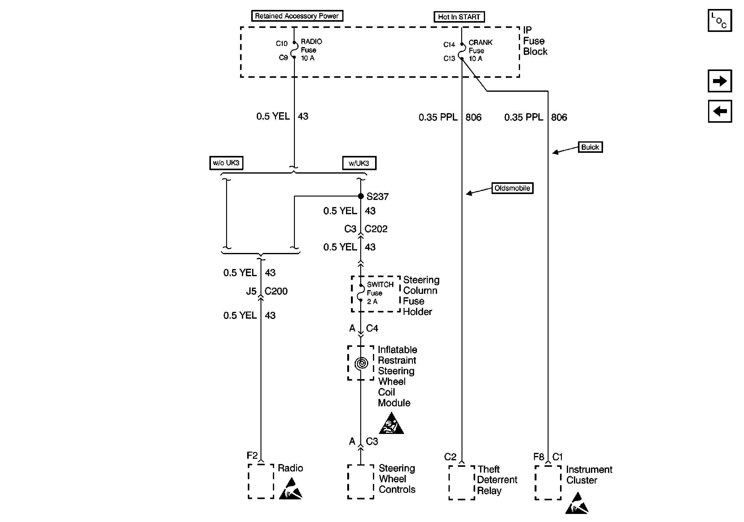
🢒 Cell 10: RADIO Fuse and CRANK Fuse
Cell 10: RADIO Fuse and CRANK Fuse
Cell 10: RADIO Fuse and CRANK Fuse
Power and Grounding Component Views
Cell 10: AUX PWR Fuse and CRUISE CNTRL Fuse
Cell 10: HVAC BLOWER Fuse, AIR BAG Fuse, and WSW Fuse
Handling ESD Sensitive Parts Notice
Handling ESD Sensitive Parts Notice
SIR Handling Caution