GM Service Manual Online
For 1990-2009 cars only
Makes
🢒
Buick
🢒
1998
🢒
Riviera
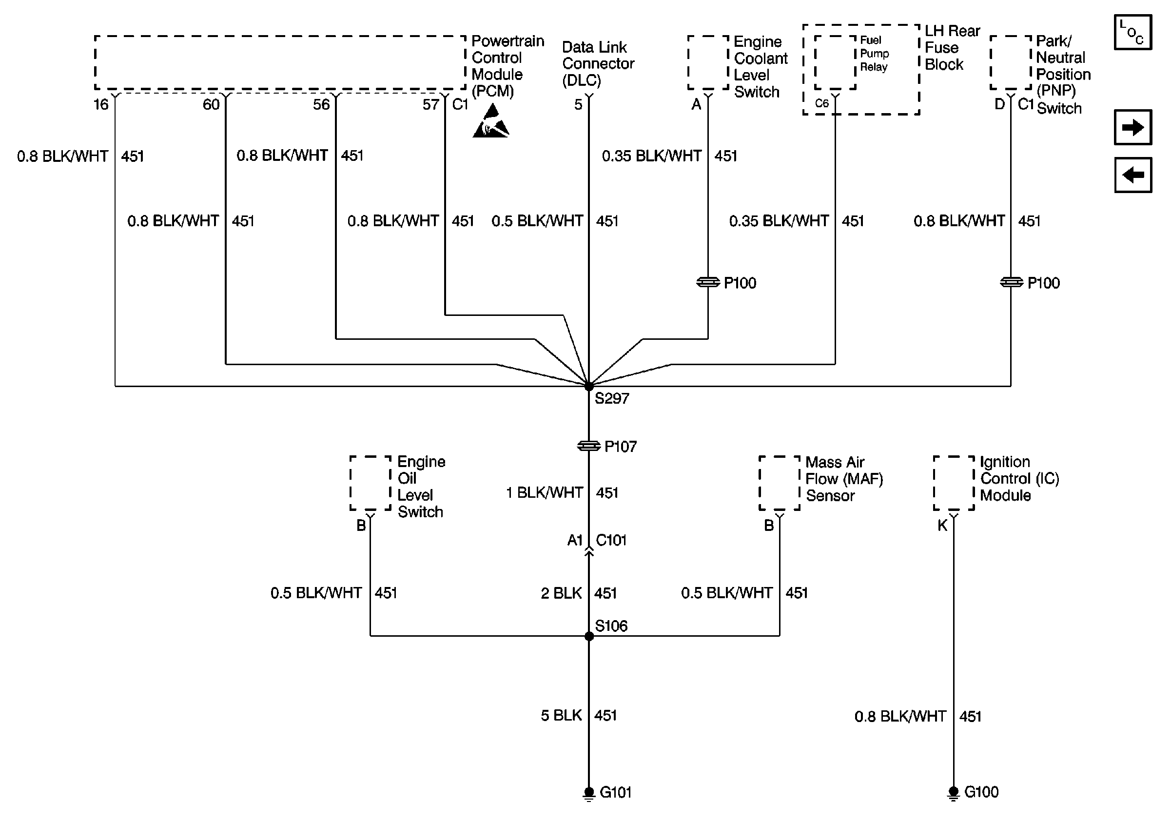
🢒 Cell 14: G100 and G101 (Buick)
Cell 14: G100 and G101 (Buick)
Cell 14: G100 and G101 (Buick)
Power and Grounding Components
Cell 14: G101 (Oldsmobile)
Cell 14: G102, G104, G106, G110, and G301 (Battery Ground)
Handling ESD Sensitive Parts Notice