GM Service Manual Online
For 1990-2009 cars only
Makes
🢒
Buick
🢒
1998
🢒
Riviera
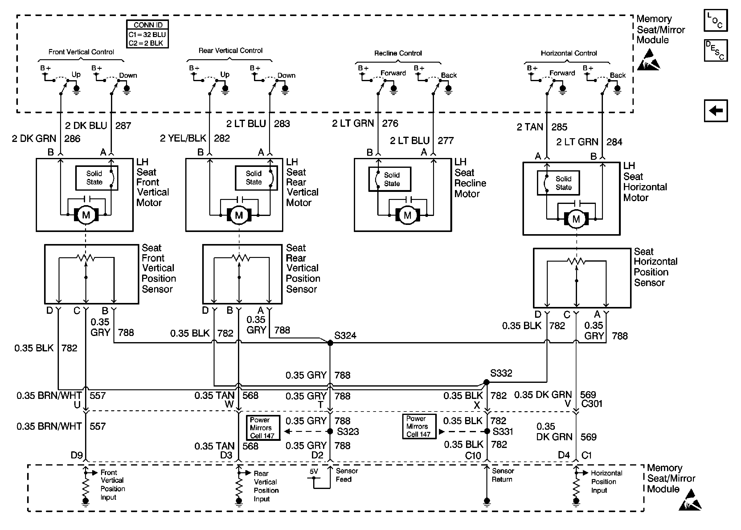
🢒 Cell 141: Seat Motors and Position Sensors
Cell 141: Seat Motors and Position Sensors
Cell 141: Seat Motors and Position Sensors
Power Seat Component Views
Memory Seat Circuit Description
Cell 141: LH Seat Switch
Handling ESD Sensitive Parts Notice
Handling ESD Sensitive Parts Notice
Power Seat Connector End Views
Outside Rearview Mirror Schematics
Outside Rearview Mirror Schematics