GM Service Manual Online
For 1990-2009 cars only
Makes
🢒
Buick
🢒
1998
🢒
Riviera
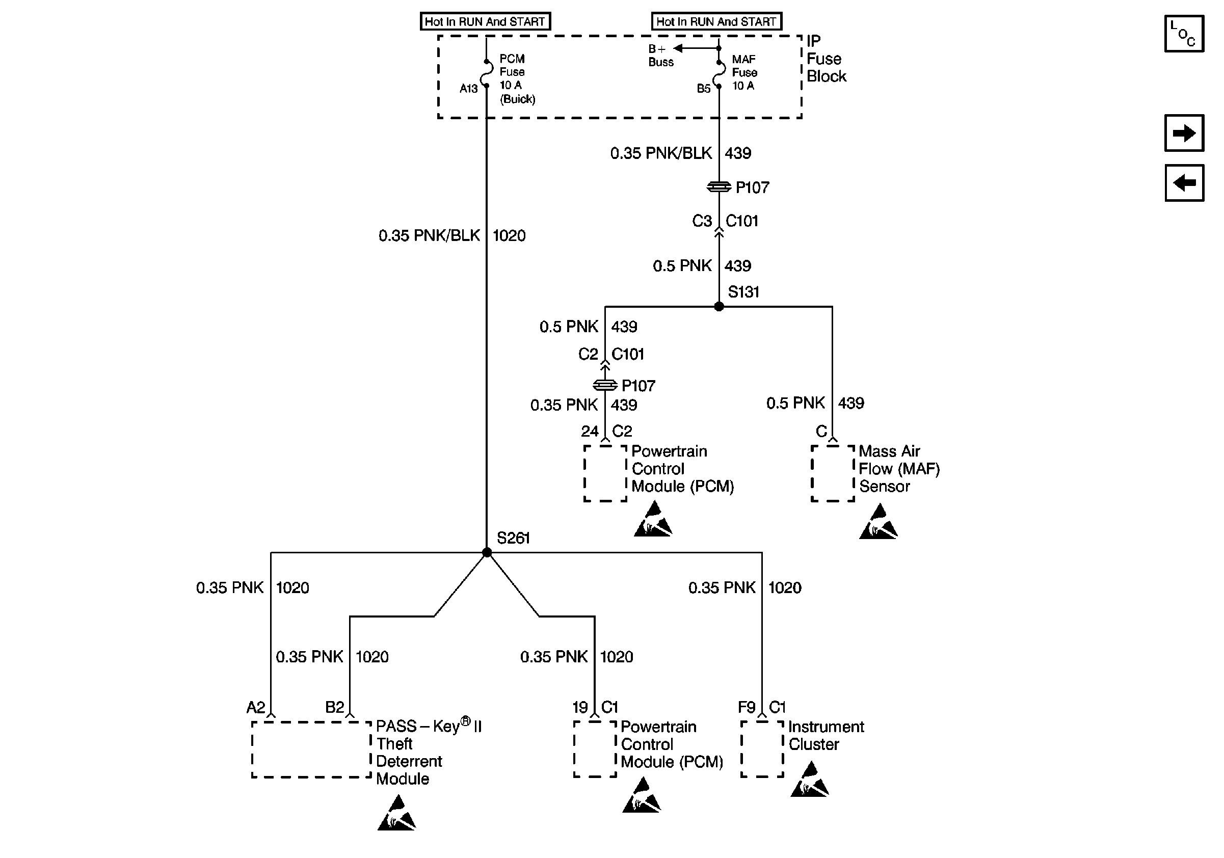
🢒 Cell 10: PCM and MAF Fuses
Cell 10: PCM and MAF Fuses
Cell 10: PCM and MAF Fuses
Power and Grounding Components
Cell 10: INT LPS Fuse
Cell 10: PCM, DIS, and FOG LAMPS Fuses
Cell 10: Battery Power
Handling ESD Sensitive Parts Notice
Handling ESD Sensitive Parts Notice
Handling ESD Sensitive Parts Notice
Handling ESD Sensitive Parts Notice
Handling ESD Sensitive Parts Notice