GM Service Manual Online
For 1990-2009 cars only
Makes
🢒
Buick
🢒
1998
🢒
Riviera
🢒 Cell 14: G202 (3 of 3) (Oldsmobile)
Cell 14: G202 (3 of 3) (Oldsmobile)
Cell 14: G202 (3 of 3) (Oldsmobile)
Power and Grounding Components
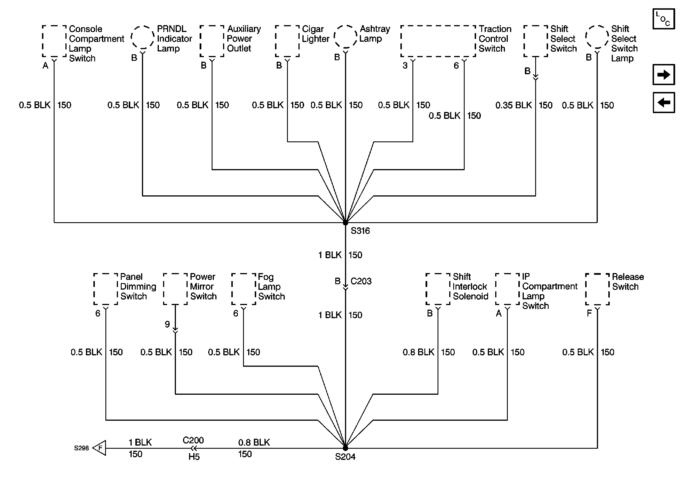
Cell 14: G302 (1 of 2)
Cell 14: G202 (2 of 3) (Oldsmobile)
Cell 14: G202 (2 of 3) (Oldsmobile)