GM Service Manual Online
For 1990-2009 cars only

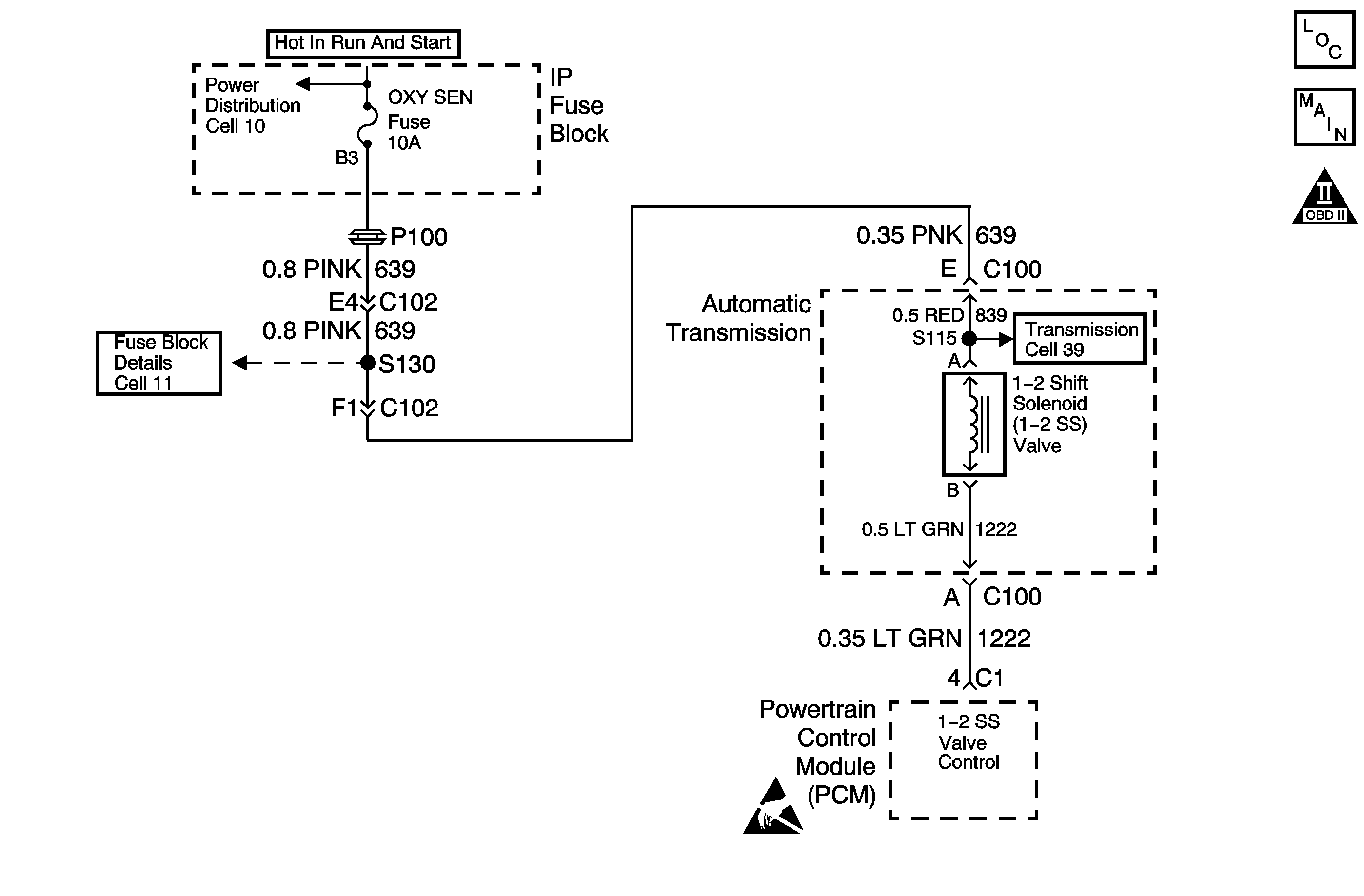
Object Number: 172602  Size: MF
Automatic Transmission Components
Automatic Transmission Controls Schematics
OBD II Symbol Description Notice
Handling ESD Sensitive Parts Notice

Circuit Description

The 1-2 Shift Solenoid Valve (1-2 SS Valve) controls the fluid flow acting on the 1-2 and 3-4 shift valve. The solenoid is a normally-open exhaust valve. The combination of the 2-3 Shift Solenoid Valve (2-3 SS Valve) and the 1-2 SS Valve allows four different shifting combinations. The solenoid attaches to the control valve body within the transmission. Circuit 639 supplies ignition voltage to the 1-2 SS Valve. The PCM controls the solenoid by providing a ground path through circuit 1222.

If the PCM detects a continuous open or a short to ground in the 1-2 SS Valve circuit or the 1-2 SS Valve, then DTC P0753 sets. DTC P0753 is a type A DTC.

Conditions for Setting the DTC

    • The ignition is ON.
    • The system voltage is 9-16 volts.
    • The engine speed is greater than 500 RPM for 5 seconds, and not in fuel shut off.
    • The PCM commands the solenoid ON and voltage remains high (B+).
    • The PCM commands the solenoid OFF, and the voltage remains low (0 volts).
    • All conditions are met for 5 seconds.

Action Taken When the DTC Sets

    • The PCM illuminates the Malfunction Indicator Lamp (MIL).
    • The PCM commands maximum line pressure.
    • The PCM disables shift adapts.
    • The PCM inhibits downshifts to 2nd gear if the vehicle speed is greater than 48 km/h (30 mph).

Conditions for Clearing the MIL/DTC

    • The PCM turns OFF the MIL after three consecutive trips without a failure reported.
    • A scan tool can clear the DTC from the PCM history. The PCM clears the DTC from the PCM history if the vehicle completes 40 warm-up cycles without a failure reported.
    • The PCM cancels the DTC default actions when the fault no longer exists and the ignition is OFF long enough in order to power down the PCM.

Diagnostic Aids

    • Inspect the wiring at the PCM, the transmission 20-way connector, the 1-2 shift solenoid connector and all other circuit connecting points for the following conditions:
       - A bent terminal
       - A backed out terminal
       - A damaged terminal
       - Poor terminal tension
       - A chafed wire
       - A broken wire inside the insulation
       - Moisture Intrusion
       - Corrosion
    • When diagnosing for an intermittent short or open, massage the wiring harness while watching the test equipment for a change.
    • Ensure that the scan tool commanded gear has correct solenoid states and ratio. Refer to the Shift Solenoid Valve State and Gear Ratio table.

Test Description

The numbers below refer to the step numbers on the diagnostic table.

  1. This step isolates the fault between the engine harness and the transmission harness.

  2. This step verifies that circuit 1222 is neither open nor shorted to power.

  3. This step verifies that the 1-2 shift solenoid has neither shorted across its windings nor increased its resistance.

  4. Because of the harsh conditions inside the transmission, repairing the A/T wiring harness is not acceptable. You must replace the A/T wiring harness.

DTC P0753 1-2 Shift Solenoid Circuit -- Electrical

Step

Action

Value(s)

Yes

No

1

Was the Powertrain On-Board Diagnostic (OBD) System Check performed?

--

Go to Step 2

Go to Powertrain On Board Diagnostic (OBD) System Check in Engine Controls

2

  1. Install the Scan Tool .
  2. With the engine OFF, turn the ignition switch to the RUN position.
  3. Important: Before clearing the DTCs, use the Scan Tool in order to record the Freeze Frame and Failure Records for reference. The Clear Info function will erase the data.

  4. Record the DTC Freeze Frame and Failure Records, then clear the DTCs.

Are DTCs P0758 and P1860 set?

--

Go to Step 3

Go to Step 6

3

  1. Remove the ENG EMIS fuse.
  2. Inspect the fuse for an open.

Did you find and correct a condition?

--

Go to Step 4

Go to Step 5

4

Repair short to ground in circuit 639 (PNK)/839 (RED).

Refer to Wiring Repairs in Wiring Systems.

Did you find and correct a condition?

--

Go to Step 20

--

5

Repair the open in circuit 639 (PNK)/839 (RED).

Refer to Wiring Repairs in Wiring Systems.

Did you find and correct a condition?

--

Go to Step 20

--

6

  1. Turn the ignition switch OFF.
  2. Disconnect the transmission 20-way connector.
  3. Connect the J 39775 Jumper Harness to the engine harness connector.
  4. Connect a test lamp from terminal E to terminal A of the J 39775 Jumper Harness.
  5. Important: Additional DTCs will set.

  6. With the engine OFF, turn the ignition ON.

Is the test lamp ON?

--

Go to Step 7

Go to Step 8

7

Inspect circuit 1222 (LT GRN) of the engine harness for a short to ground.

Refer to General Electrical Diagnosis in Wiring Systems.

Did you find and correct a condition?

--

Go to Step 20

Go to Step 18

8

  1. Using the Scan Tool , select A/T Outputs, 1-2 Solenoid.
  2. Cycle the 1-2 solenoid ON and OFF three times.

Does the test lamp cycle ON and OFF as commanded?

--

Go to Step 12

Go to Step 9

9

Inspect circuit 1222 (LT GRN) of the engine harness for an open.

Refer to General Electrical Diagnosis in Wiring Systems.

Did you find and correct a condition?

--

Go to Step 20

Go to Step 10

10

Is the test lamp always OFF?

--

Go to Step 11

--

11

Inspect circuit 1222 (LT GRN) of the engine harness for a short to power.

Refer to General Electrical Diagnosis in Wiring Systems.

Did you find and correct a condition?

--

Go to Step 20

Go to Step 18

12

  1. Turn the ignition OFF.
  2. Disconnect the J 39775 Jumper Harness from the engine harness.
  3. Connect the J 39775 Jumper Harness to the transmission 20-way connector.
  4. Refer to Automatic Transmission Inline Harness Connector End View .

  5. Connect a J 39200 Digital Multimeter (DMM), set to measure ohms, from terminal E to terminal A of the J 39775 Jumper Harness.

Is the measured resistance within the specified range?

19-24 ohms at 20°C (68°F)

24-31 ohms at 88°C (190°F)

Go to Step 15

Go to Step 13

13

Is the resistance greater than the specified value?

100 ohms

Go to Step 14

Go to Step 15

14

  1. Inspect automatic transmission wiring harness circuit 839 (RED) for an open or a poor connection.
  2. Inspect circuit 1222 (LT GRN) for an open or a poor connection.

Refer to General Electrical Diagnosis in Wiring Systems.

Did you find a condition?

--

Go to Step 19

Go to Step 17

15

Connect the J 39200 DMM from terminal A of the J 39775 Jumper Harness to ground.

Is the resistance less than the specified value?

100 ohms

Go to Step 16

Go to Step 17

16

Inspect automatic transmission wiring harness circuit 1222 (LT GRN) for a short to ground.

Refer to General Electrical Diagnosis in Wiring Systems.

Did you find and correct a condition?

--

Go to Step 19

--

17

Replace the 1-2 Shift Solenoid.

Refer to 1-2 Shift Solenoid Valve Replacement .

Is the replacement complete?

--

Go to Step 20

--

18

Replace the PCM.

Refer to Powertrain Control Module Replacement/Programming in Engine Controls.

Is the replacement complete?

--

Go to Step 20

--

19

Replace the Automatic Transmission Wiring Harness.

Refer to Solenoids and Wiring Harness Replacement .

Is the replacement complete?

--

Go to Step 20

--

20

In order to verify your repair, perform the following procedure:

  1. Select DTC.
  2. Select Clear Info, then clear the DTC(s).
  3. Operate the vehicle under the following conditions:
  4. • The system voltage is 9-16 volts.
    • The ignition switch is ON.
    • The engine speed is more than 500 RPM for more than 5 seconds.
    • The vehicle is not in fuel shut off.
    • Drive the vehicle through a 1-2 shift cycle.
    • No open or short to ground exists for more than 4.3 seconds in each solenoid state.
  5. Select Specific DTC.
  6. Enter DTC P0753.

Has the test run and passed?

--

System OK

Go to Step 1