GM Service Manual Online
For 1990-2009 cars only

Object Number: 506459  Size: MF
Handling ESD Sensitive Parts Notice
HVAC Components
Handling ESD Sensitive Parts Notice
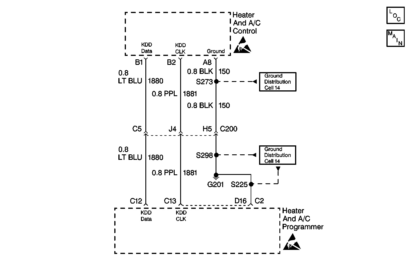
HVAC Air Delivery/Temperature Control Schematics Buick
Ground Distribution Schematics
Ground Distribution Schematics

Circuit Description

The HVAC control assembly sends input data through CKT 1880 to the HVAC programmer. The HVAC programmer uses this data in order to control the actuators on the HVAC module assembly.

Conditions for Setting the DTC

    • The ignition is on.
    • A circuit is open or shorted.

Action Taken When the DTC Sets

Code B1035 is set.

Conditions for Clearing the DTC

    • Using a Scan Tool .
    • A history DTC will clear when 50 consecutive ignition cycles have occurred without a malfunction.
    • HVAC programmer battery voltage is interrupted.

Test Description

  1. This step determines if the programmer is the fault or a poor connection exists.

Step

Action

Value(s)

Yes

No

1

  1. Turn the ignition switch ON.
  2. Connect a Scan Tool and set to HVAC DTC.
  3. Use a J 39200 digital multimeter (DMM) in order to measure the voltage between HVAC control assembly terminal B1 and terminal A8. Refer to Measuring Voltage in Wiring Systems.

Is the voltage approximately equal to or greater than the specified value?

8 V

Go to Step 5

Go to Step 2

2

  1. Turn the ignition switch to the OFF position.
  2. Disconnect the HVAC control assembly connector.
  3. Turn the ignition switch ON.
  4. Use a J 39200 digital multimeter (DMM) in order to measure the voltage at terminal B1 and terminal B8 of the harness connector of the HVAC control assembly. Refer to Measuring Voltage in Wiring Systems.

Is the voltage approximately equal to or greater than the specified value?

8 V

Go to Step 3

Go to Step 4

3

Replace the HVAC control assembly. Refer to Control Assembly Replacement - Passenger .

Is the repair complete?

--

System OK

--

4

Inspect CKT 1880 (LT BLU) for an open or a short. Refer to Wiring Repairs in Wiring Systems.

Was an open or a short found and repaired?

--

System OK

Go to Step 7

5

Use a J 39200 digital multimeter (DMM) in order to backprobe terminal B2 and terminal A8 of the HVAC control assembly harness connector. Refer to Probing Electrical Connectors in Wiring Systems.

Does the voltage approximately equal the specified value?

3.5 V

Go to Step 6

Go to Step 8

6

Inspect for an open in CKT 1881.

Was an open found and the repair completed?

--

System OK

--

7

  1. Inspect the HVAC programmer for proper terminal contact. Refer to Intermittents and Poor Connections Diagnosis in Wiring Systems.
  2. If terminal contact is proper, replace the HVAC programmer. Refer to Programmer Replacement .

Is the repair complete?

--

System OK

--

8

  1. Disconnect the HVAC programmer connector.
  2. Use a J 39200 digital multimeter (DMM) in order to measure the voltage from terminal B2 and terminal A8 of the HVAC control assembly harness connector. Refer to Measuring Voltage in Wiring Systems.

Does the voltage approximately equal the specified value?

3.5 V

Go to Step 10

Go to Step 11

9

  1. Inspect for proper terminal contact. Refer to Intermittents and Poor Connections Diagnosis in Wiring Systems.
  2. If terminal contact is proper, replace the HVAC control assembly. Refer to Control Assembly Replacement .

Is the repair complete?

--

System OK

--

10

  1. Inspect the HVAC programmer harness connector for proper terminal contact. Refer to Intermittents and Poor Connections Diagnosis in Wiring Systems.
  2. If terminal contact is proper, replace the HVAC programmer. Refer to Programmer Replacement .

Is the repair complete?

--

System OK

--

11

Inspect for a short to ground in CKT 1881. Refer to Testing for Short to Ground in Wiring Systems.

Is the repair complete?

--

System OK

Go to Step 9