GM Service Manual Online
For 1990-2009 cars only
Makes
🢒
Buick
🢒
1999
🢒
Riviera
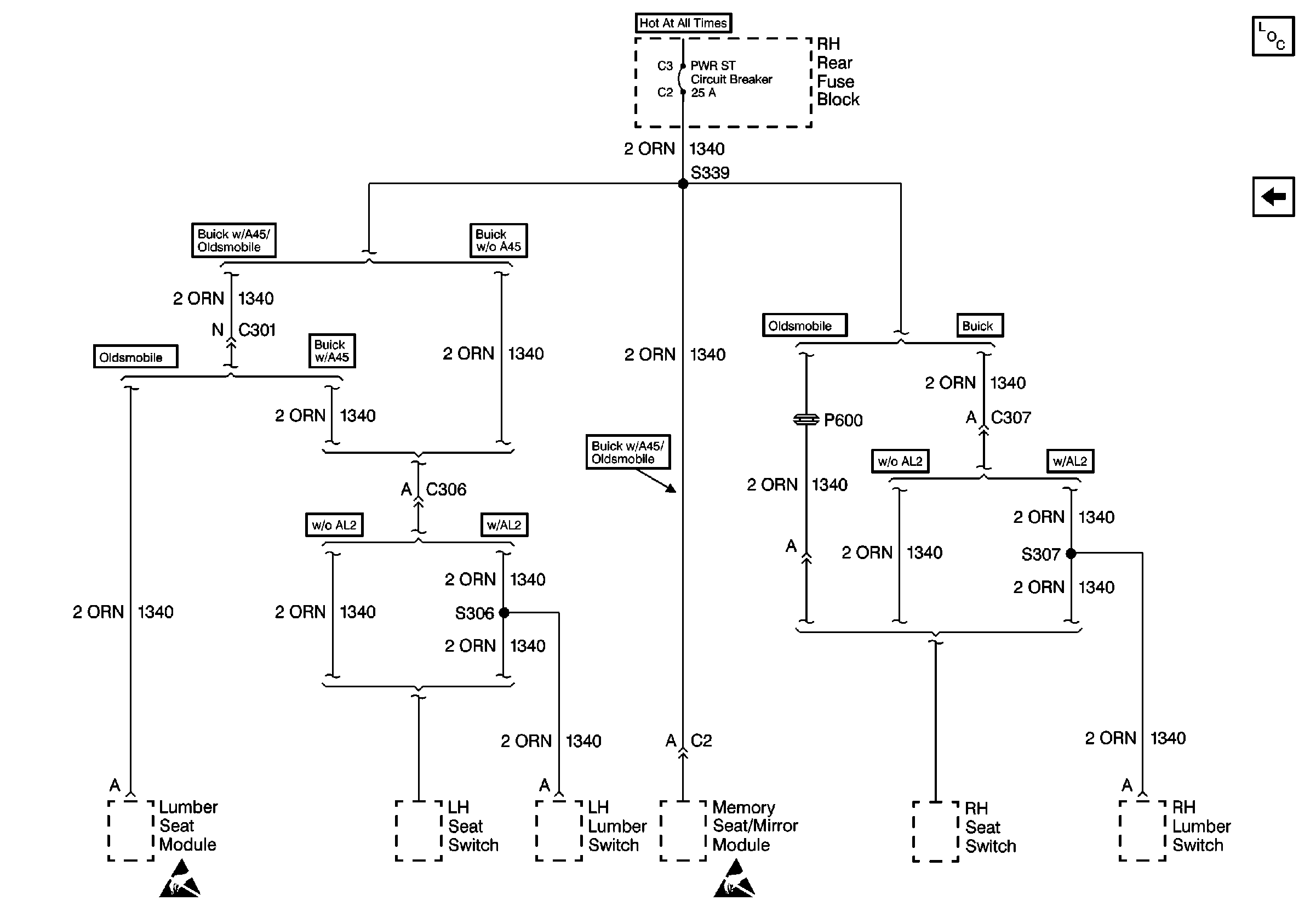
🢒 Cell 10: PWR ST Circuit Breaker
Cell 10: PWR ST Circuit Breaker
Cell 10: PWR ST Circuit Breaker
Power and Grounding Component Views
Cell 10: IP 1 Fuse (2 of 2) (Oldsmobile)
Handling ESD Sensitive Parts Notice
Handling ESD Sensitive Parts Notice