GM Service Manual Online
For 1990-2009 cars only

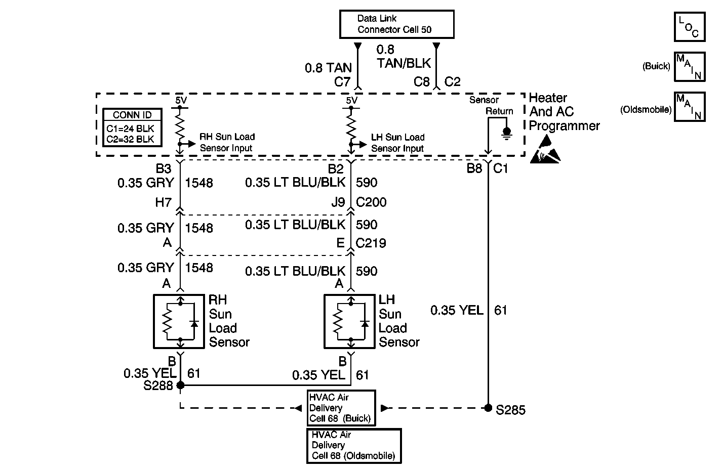
Object Number: 403747  Size: MF
HVAC Components
Cell 68: Temperature Sensor
Cell 68: Temperature Sensors
Handling ESD Sensitive Parts Notice
Data Link Connector Schematics
Cell 50: Serial Data UART
HVAC Air Delivery/Temperature Control Schematics Buick
HVAC Air Delivery/Temperature Control Schematics Oldsmobile

Circuit Description

The driver sun load sensor is a light sensitive photodiode that controls signal voltage to the HVAC programmer. This photodiode is different from standard thermistor sensors and resistance measurements will not produce accurate results. The HVAC programmer monitors voltage on circuit 590 to the sensor. When the sensor is in direct sun light, the HVAC programmer reads a low signal voltage at terminal B2. When the sensor is shaded, the signal voltage increases. Signal voltage will vary from 5 V (open circuit) to 0 V (short circuit).

Conditions for Setting the DTC

    • The ignition is ON.
    • Circuit open or shorted.

Action Taken When the DTC Sets

    • The HVAC programmer will default the system to dark or no sun load value.
    • The default value allows the system to operate.

Conditions for Clearing the DTC

    • Using a Scan Tool .
    • A history DTC will clear when 40 consecutive ignition cycles have occurred without a malfunction.
    • HVAC programmer battery voltage is interrupted.

Test Description

  1. Determines whether the sensor is operational.

  2. Determines that the DTC was not set in error.

  3. Determines if the malfunction is the sensor or an open or short in a circuit.

  4. Determines if the HVAC programmer or an open or short is causing the malfunction.

Step

Action

Value(s)

Yes

No

1

  1. Ensure the vehicle is in a sunlit area.
  2. Turn the ignition switch to the RUN position.
  3. Connect the Scan Tool .
  4. Display the driver solar sensor.
  5. Note the value.

  6. Cover the driver sun load sensor with a dense object.

Did the sensor counts increase from the noted value?

--

Go to Step 2

Go to Step 3

2

  1. Use a Scan Tool to clear the DTC.
  2. Cycle the engine to the ON position and the OFF position several times.

Did the DTC reset?

--

Go to Step 3

Go to Intermittents and Poor Connections

3

  1. Turn the ignition switch to the OFF position.
  2. Disconnect the driver sun load sensor.
  3. Turn the ignition switch to the RUN position.
  4. Measure the voltage between the sun load sensor harness connector terminal A and terminal B.

Refer to Measuring Voltage in Wiring Systems.

Does the voltage equal the specified value?

5 V

Go to Step 9

Go to Step 4

4

Is the voltage greater than the specified value?

5 V

Go to Step 5

Go to Step 6

5

Repair the short to the battery in CKT 1548.

Refer to Wiring Repairs in Wiring Systems.

Is the repair compete?

--

System OK

Go to Step 1

6

Measure the voltage between sun load sensor harness connector terminal A and DLC terminal 4.

Refer to Measuring Voltage in Wiring Systems.

Does the voltage equal the specified value?

5 V

Go to Step 10

Go to Step 7

7

Measure the voltage between HVAC programmer terminal B2 and DLC terminal 4.

Refer to Measuring Voltage in Wiring Systems.

Does the voltage equal the specified value?

5 V

Go to Step 8

Go to Step 12

8

Repair the open in CKT 1548.

Refer to Wiring Repairs in Wiring Systems.

Is the repair complete?

--

System OK

Go to Step 1

9

Replace the sensor. Refer to Sun Load Sensor Replacement .

Is the repair complete?

--

System OK

Go to Step 1

10

Are all of the HVAC sensor DTC's present?

--

Go to Step 11

Go to Step 13

11

Inspect circuit 61 for opens.

Is the circuit open?

--

Go to Step 13

Go to Step 6

12

  1. Inspect for proper terminal contact.
  2. Replace the HVAC programmer if terminal contact is OK. Refer to Programmer Replacement .

Is the repair complete?

--

System OK

--

13

Repair the open in CKT 61.

Refer to Wiring Repairs in Wiring Systems.

Is the repair complete?

--

System OK

--