GM Service Manual Online
For 1990-2009 cars only

Automatic Transmission Controls Schematics 2.4L VIN T

Figure 1:

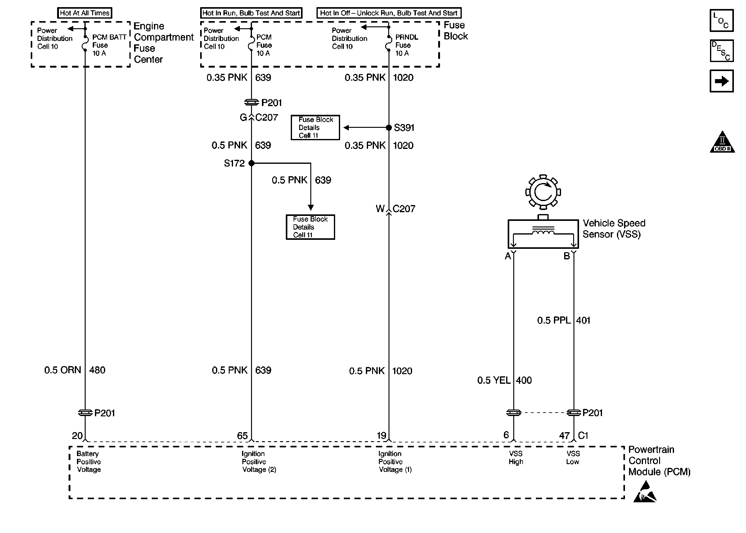
PCM Power and VSS (VIN T)


Object Number: 62894  Size: FS
Automatic Transmission Components 2.4L VIN T
Electronic Component Description
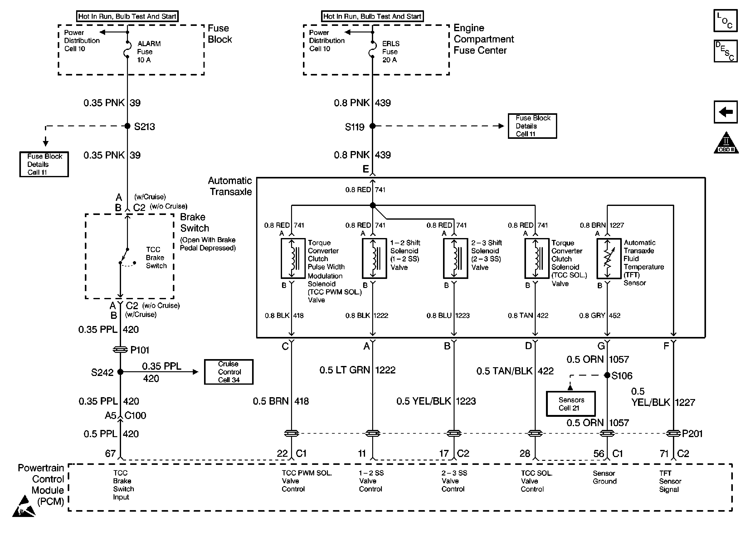
Brake Switch and Solenoids (VIN T)
OBD II Symbol Description Notice
Handling ESD Sensitive Parts Notice
Automatic Transmission Schematic References 2.4L VIN T
Automatic Transmission Schematic References 2.4L VIN T
Figure 2:

Brake Switch and Solenoids (VIN T)


Object Number: 62895  Size: FS
Automatic Transmission Components 2.4L VIN T
Electronic Component Description
PCM Power and VSS (VIN T)
OBD II Symbol Description Notice
Handling ESD Sensitive Parts Notice
Automatic Transmission Schematic References 2.4L VIN T
Automatic Transmission Schematic References 2.4L VIN T
Automatic Transmission Schematic References 2.4L VIN T
Automatic Transmission Schematic References 2.4L VIN T
Automatic Transmission Schematic References 2.4L VIN T

Automatic Transmission Controls Schematics 3.1L VIN M

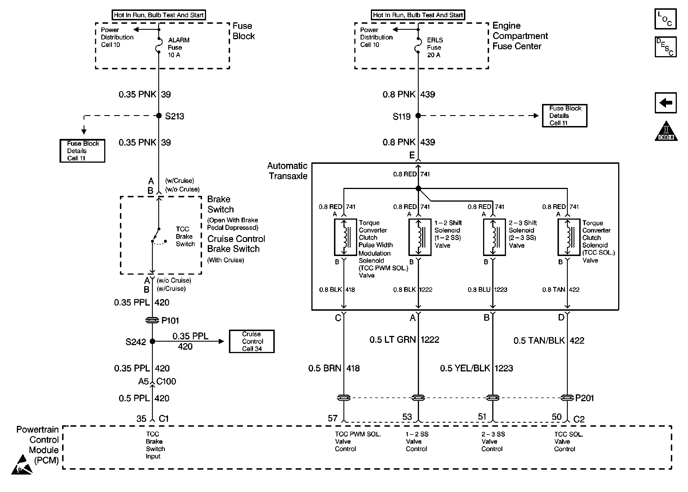
Figure 1:

PCM Power and VSS (VIN M)


Object Number: 62897  Size: FS
Automatic Transmission Components 3.1L VIN M
Electronic Component Description
Brake Switch, Solenoids, and TFT Sensor (VIN M)
OBD II Symbol Description Notice
Handling ESD Sensitive Parts Notice
Automatic Transmission Schematic References 3.1L VIN M
Automatic Transmission Schematic References 3.1L VIN M
Automatic Transmission Schematic References 3.1L VIN M
Automatic Transmission Schematic References 3.1L VIN M
Automatic Transmission Schematic References 3.1L VIN M
Figure 2:

Brake Switch, Solenoids, and TFT Sensor (VIN M)


Object Number: 62898  Size: FS
Automatic Transmission Components 3.1L VIN M
Electronic Component Description
PCM Power and VSS (VIN M)
OBD II Symbol Description Notice
Handling ESD Sensitive Parts Notice
Automatic Transmission Schematic References 3.1L VIN M
Automatic Transmission Schematic References 3.1L VIN M
Automatic Transmission Schematic References 3.1L VIN M
Automatic Transmission Schematic References 3.1L VIN M
Automatic Transmission Schematic References 3.1L VIN M
Automatic Transmission Schematic References 3.1L VIN M