GM Service Manual Online
For 1990-2009 cars only

Tools Required

J 45299 Engine Pre-Luber


    Object Number: 858842  Size: SH

    Important: A constant and continuous flow of clean engine oil is required in order to properly prime the engine. Be sure to use an approved engine oil as specified in the owners manual.

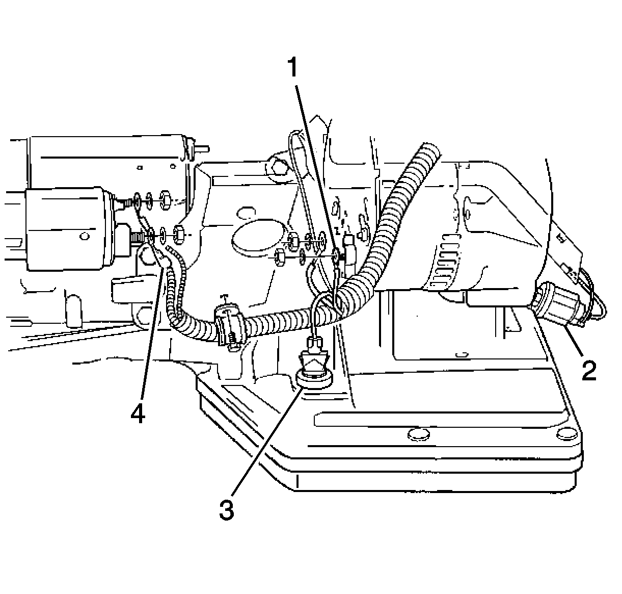
  1. Locate the front bottom of the engine at the oil pressure sensor (2).
  2. Install the M14 x 1.5 adapter P/N 219433.

  3. Object Number: 863255  Size: SH
  4. Install the flexible hose to the adapter and open the valve.
  5. Pump the handle on the J 45299 in order to flow a minimum of 0.95-1.89 liters (1-2 quarts) of engine oil. Observe the flow of engine oil through the flexible hose and into the engine assembly.
  6. Close the valve and remove the flexible hose and adapter from the engine.
  7. Notice: Use the correct fastener in the correct location. Replacement fasteners must be the correct part number for that application. Fasteners requiring replacement or fasteners requiring the use of thread locking compound or sealant are identified in the service procedure. Do not use paints, lubricants, or corrosion inhibitors on fasteners or fastener joint surfaces unless specified. These coatings affect fastener torque and joint clamping force and may damage the fastener. Use the correct tightening sequence and specifications when installing fasteners in order to avoid damage to parts and systems.

  8. Install the oil pressure sensor on the engine.
  9. Tighten
    Tighten the oil pressure sensor to 40 N·m (30 lb ft).

  10. Top off the engine oil to the proper level.