GM Service Manual Online
For 1990-2009 cars only
Figure 1:

Battery and the Rear Fuse Blocks


Object Number: 803909  Size: LF
(1)Battery Positive Cable
(2)Battery
(3)Battery Positive Cable
(4)Fuse Block- Right Rear
(5)Fuse Block- Left Rear
Figure 2:

Front of the Engine Compartment


Object Number: 804277  Size: LF
(1)Battery Negative Cable
(2)Battery
(3)Battery Positive Cable
(4)Battery Positive Cable Connection to Fuse Block- Underhood
(5)C102
(6)A/C Refrigerant Pressure Sensor
(7)A/C Refrigerant Pressure Sensor Connector
(8)Fuse Block- Underhood
(9)Engine Control Module (ECM)Harness Connector
(10)Engine Control Module (ECM) Harness Grommet
(11)Harness Grommet
Figure 3:

Right Front of the Engine Compartment


Object Number: 804275  Size: LF
(1)Fuse Block- Underhood
(2)Forward Lamp Harness
(3)Harness Grommet
(4)Forward Lamp Harness Connector
(5)C101
(6)Fuse Block- Underhood
(7)Fuse Block- Underhood Assembly Retainers
(8)Fuse Block- Underhood
(9)Harness Grommet
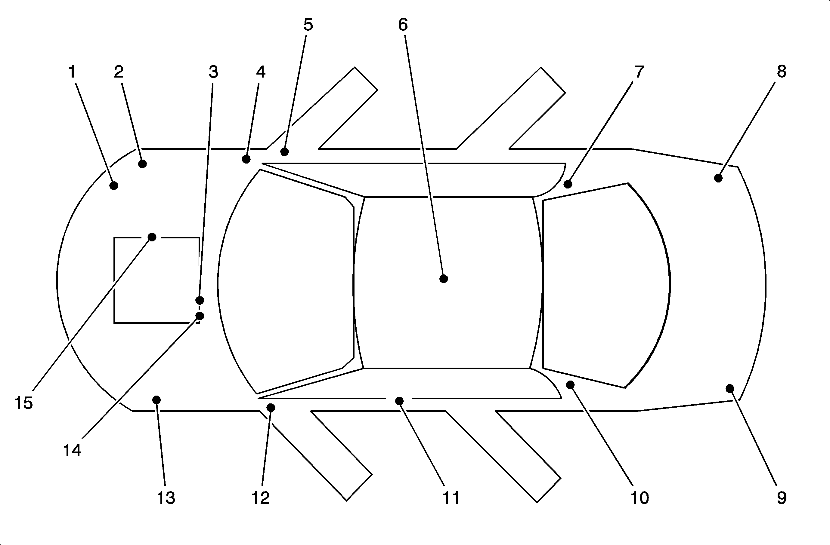
Figure 4:

Ground Locations


Object Number: 803919  Size: MF
(1)G104
(2)G110
(3)G107
(4)G105
(5)G201
(6)G306
(7)G303
(8)G401
(9)G402
(10)G304
(11)G307
(12)G200
(13)G101
(14)G100
(15)G102
Figure 5:

Lower Left of the Engine Compartment


Object Number: 804233  Size: LF
(1)G101
(2)C105 (V8)
(3)C104 (V6) or C107 (V8)
(4)Wiring Harness Pass-through Grommet
Figure 6:

I/P Harness (1 of 2)


Object Number: 804246  Size: LF
(1)Inflatable Restraint I/P Module Connectors
(2)C201
(3)SP201
(4)C304
(5)C205
(6)Inflatable Restraint Steering Wheel Module Connectors
(7)G200
(8)C200
(9)SP203
Figure 7:

Body Harness (1 of 2)


Object Number: 803928  Size: LF
(1)G306
(2)Rear Integration Module (RIM) Connectors
(3)Rear Defogger Connectors
(4)TV Tuner Connector (Japan Only)
(5)Traffic Information Receiver Module Connector (Japan only)
(6)Inflatable Restraint Roof Rail Module Connector
(7)C305
(8)C308
(9)C300
(10)C301
(11)C200
(12)C205
(13)C304
(14)C303
(15)G201
(16)C201
(17)C306
(18)C307
(19)C312
Figure 8:

Body Harness (2 of 2)


Object Number: 803929  Size: LF
(1)Fuse Block- Right Rear
(2)Fuse Block- Left Rear
(3)C700
(4)SP302
(5)SP300
(6)G307
(7)C500
(8)G200
(9)G306
(10)G201
(11)C600
(12)SP301
(13)C800
Figure 9:

Passenger Compartment - Under Left Side of I/P


Object Number: 804268  Size: LF
(1)C200
(2)C500 Pass-through Location Hole
(3)C500
(4)G200
(5)C203
Figure 10:

Passenger Compartment - Under Right Side of I/P


Object Number: 804267  Size: LF
(1)Pass-through Grommet
(2)C600 Pass-through Location Hole
(3)C201
(4)Inflatable Restraint I/P Module (Harness Side)
(5)G201
(6)C600
Figure 11:

Passenger Compartment, Between the Left Doors


Object Number: 804269  Size: LF
(1)Pass-through Grommet
(2)SP300
(3)SP302
(4)G307
Figure 12:

Passenger Compartment - Behind Front Seats


Object Number: 804271  Size: LF
(1)Splice Pack SP303
(2)Fuse Block - Right Rear
(3)Fuse Block - Left Rear
(4)G306 (Hidden)
(5)Inflatable Restraint Sensing and Diagnostic Module (SDM)
Figure 13:

Left Rear of the Vehicle


Object Number: 803972  Size: LF
(1)C420
(2)Evaporative Emissions (EVAP) Canister Vent Solenoid
(3)Fuel Tank Pressure Sensor
(4)Fuel Pump and Sender Assembly
(5)Fuel Tank Pressure Sensor
(6)Fuel Pump and Sender Assembly
(7)Pass-through Grommet
(8)S301
(9)G401 (Hidden)
Figure 14:

Passenger Compartment - Left Sail Panel


Object Number: 804273  Size: LF
(1)G303
(2)C308
(3)Inflatable Restraint Roof Rail Module - Driver Connector
(4)C305
(5)Rear Defogger Connector C1
Figure 15:

Rear of the Vehicle


Object Number: 803970  Size: LF
(1)C421
(2)Rear Compartment Lid
(3)Rear Compartment Lid Release Actuator Connector
(4)Rear Compartment Lid Release Actuator
(5)S400
(6)Pass-through Grommet
(7)G401
(8)G402
(9)Pass-through Grommet